Чтение онлайн

ЖАНРЫ

Начертательная геометрия: конспект лекций
Шрифт:

Рассмотрим прямоугольник Aaaха (рис. 5), для которого справедливы следующие утверждения:

1) Расстояние точки А от фронтальной плоскости равно расстоянию ее горизонтальной проекции а от оси пересечения плоскостей, т. е.

Аа = аах;

2) расстояние точки А от горизонтальной плоскости проекций равно расстоянию ее фронтальной проекции а от оси пересечения плоскостей, т. е.

Аа = аах.

Иначе

говоря, даже без самой точки на эпюре, используя только две ее проекции, можно узнать, на каком расстоянии от каждой из плоскостей проекций находится данная точка.

Пересечение двух плоскостей проекций разделяет пространство на четыре части, которые называют четвертями (рис. 6).

Ось пересечения плоскостей делит горизонтальную плоскость на две четверти – переднюю и заднюю, а фронтальную плоскость – на верхнюю и нижнюю четверти. Верхнюю часть фронтальной плоскости и переднюю часть горизонтальной плоскости рассматривают как границы первой четверти.

При получении эпюра вращается горизонтальная плоскость и совмещается с фронтальной плоскостью (рис. 7). В этом случае передняя часть горизонтальной плоскости совпадет с нижней частью фронтальной плоскости, а задняя часть горизонтальной плоскости – с верхней частью фронтальной плоскости.

На рисунках 8-11 показаны точки А, В, С, D, располагающиеся в различных четвертях пространства. Точка А расположена в первой четверти, точка В – во второй, точка С – в третьей и точка D – в четвертой.

При расположении точек в первой или четвертой четвертях их горизонтальные проекции находятся на передней части горизонтальной плоскости, а на эпюре они лягут ниже оси пересечения плоскостей. Когда точка расположена во второй или третьей четверти, ее горизонтальная проекция будет лежать на задней части горизонтальной плоскости, а на эпюре будет находиться выше оси пересечения плоскостей.

Фронтальные проекции точек, которые расположены в первой или второй четвертях, будут лежать на верхней части фронтальной плоскости, а на эпюре будут находиться выше оси пересечения плоскостей. Когда точка расположена в третьей или четвертой четверти, ее фронтальная проекция – ниже оси пересечения плоскостей.

Чаще всего при реальных построениях фигуру располагают в первой четверти пространства.

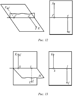
В некоторых частных случаях точка (Е) может лежать на горизонтальной плоскости (рис. 12). В этом случае ее горизонтальная проекция е и сама точка будут совпадать. Фронтальная проекция такой точки будет находиться на оси пересечения плоскостей.

В случае, когда точка К лежит на фронтальной плоскости (рис. 13), ее горизонтальная проекция k лежит на оси пересечения плоскостей, а фронтальная k показывает фактическое местонахождение этой точки.

Для подобных точек признаком того, что она лежит на одной из плоскостей проекций, служит то, что одна ее проекция находится на оси пересечения плоскостей.

Если точка лежит на оси пересечения плоскостей проекций, она и обе ее проекции совпадают.

Когда точка не лежит на плоскостях проекций, она называется точкой общего положения. В дальнейшем, если нет особых отметок, рассматриваемая точка является точкой общего

положения.

2. Отсутствие оси проекций

Для пояснения получения на модели проекций точки на перпендикулярные плоскости проекций (рис. 4) необходимо взять кусок плотной бумаги в форме удлиненного прямоугольника. Его нужно согнуть между проекциями. Линия сгиба будет изображать ось пересечения плоскостей. Если после этого согнутый кусок бумаги вновь расправить, получим эпюр, похожий на тот, что изображен на рисунке.

Совмещая две плоскости проекций с плоскостью чертежа, можно не показывать линию сгиба, т. е. не проводить на эпюре ось пересечения плоскостей.

При построениях на эпюре всегда следует располагать проекции а и а точки А на одной вертикальной прямой (рис. 14), которая перпендикулярна оси пересечения плоскостей. Поэтому, даже если положение оси пересечения плоскостей остается неопределенным, но ее направление определено, ось пересечения плоскостей может находиться на эпюре только перпендикулярно прямой аа.

Если на эпюре точки нет оси проекций, как на первом рисунке 14 а, можно представить положение этой точки в пространстве. Для этого проведем в любом месте перпендикулярно прямой аа ось проекции, как на втором рисунке (рис. 14) и согнем чертеж по этой оси. Если восстановить перпендикуляры в точках а и а до их пересечения, можно получить точку А. При изменении положения оси проекций получаются различные положения точки относительно плоскостей проекций, но неопределенность положения оси проекций не влияет на взаимное расположение нескольких точек или фигур в пространстве.

3. Проекции точки на три плоскости проекций

Рассмотрим профильную плоскость проекций. Проекции на две перпендикулярные плоскости обычно определяют положение фигуры и дают возможность узнать ее настоящие размеры и форму. Но бывают случаи, когда двух проекций оказывается недостаточно. Тогда применяют построение третьей проекции.

Третью плоскость проекции проводят так, чтобы она была перпендикулярна одновременно обеим плоскостям проекций (рис. 15). Третью плоскость принято называть профильной.

В таких построениях общую прямую горизонтальной и фронтальной плоскостей называют осью х, общую прямую горизонтальной и профильной плоскостей – осью у, а общую прямую фронтальной и профильной плоскостей – осью z. Точка О, которая принадлежит всем трем плоскостям, называется точкой начала координат.

На рисунке 15а показана точка А и три ее проекции. Проекцию на профильную плоскость (а) называют профильной проекцией и обозначают а.

Для получения эпюра точки А, которая состоит из трех проекций а, а а, необходимо разрезать трехгранник, образующийся всеми плоскостями, вдоль оси у (рис. 15б) и совместить все эти плоскости с плоскостью фронтальной проекции. Горизонтальную плоскость необходимо вращать около оси х, а профильную плоскость – около оси z в направлении, указанном на рисунке 15 стрелкой.

На рисунке 16 изображено положение проекций а, а и а точки А, полученное в результате совмещения всех трех плоскостей с плоскостью чертежа.

Поделиться с друзьями: