Чтение онлайн

ЖАНРЫ

Аппаратные средства персональных компьютеров. Самоучитель
Шрифт:

Сегодня хорошо видно, что требуется переход от старых технологий к новым, но мировая индустрия персональных компьютеров обладает огромной инерцией, что мы, как пользователи, постоянно ощущаем на себе. Вот самый яркий пример – время начальной загрузки компьютера, несмотря на 100-кратное возрастание частоты процессоров, так и не уменьшилось, а даже стало еще дольше из-за более громоздкого программного обеспечения. Таких примеров вы сами можете привести немало – только надо вспомнить и сравнить старое и новое.

Конечно, не все так плохо – ведущие производители уже давно работают над новыми стандартами для будущих поколений персональных компьютеров. Правда, прийти к общему мнению им пока не удается, но ряд тенденций уже наметился. В первую очередь – это отказ

от громоздкой шины ISA, внедрение USB-интерфейса для внешних устройств, стандарта АТХ для блоков питания. Но все же чисто экономические причины заставляют пользователей покупать, а производителей разрабатывать и продавать персональные компьютеры и периферийное оборудование со старыми стандартами. Уж очень стремителен прогресс компьютерных технологий, а пользователю так трудно отказаться от компьютера, который хотя и куплен 2–3 года назад, но, к сожалению, уже морально устарел. Вот и получается, что мы стараемся продлить жизнь своим персональным "чудам", добавляя памяти, вставляя новые дисководы…

Процессоры Intel

История персональных компьютеров неразрывно связана с микропроцессорами корпорации Intel. Инженеры корпорации первыми создали микросхему, в которой целиком была смоделирована вычислительная машина – калькулятор. И в дальнейшем именно корпорация Intel разрабатывала наиболее массовые процессоры для компьютеров. Поэтому рассмотрим шаг за шагом, как усложнялись конструкции процессоров семейства х86. Желающие узнать об этом из первоисточника, могут заглянуть на русскоязычный сайт корпорации (http://www.intel.ru) [2] .

2

Все даты и цифры, касающиеся процессоров корпорации Intel, соответствуют официальным данным, приведенным на этом же сервере.

Докомпьютерная эра

Первая «компьютерная» микросхема была разработана в 1971 г. (официальная дата рождения 15 ноября) инженерами корпорации Intel по заказу небольшой японской фирмы, которая производила настольные калькуляторы Busicom.

Микросхема получила обозначение 4004 (рис. 2.1).

Рис. 2.1. Микросхема 4004

Примечание

На сервере корпорации Intel по адресу http://www.lntel.ru можно найти цветные фотографии кристаллов микросхем. Так, на фотографии кремниевого кристалла, который находится в микросхеме 4004, хорошо видны контактные площадки по краям, к которым припаиваются золотые проводки, ведущие к контактам корпуса микросхемы. Так как количество элементов на кристалле невелико, то ясно просматриваются отдельные элементы и напыленные проводники. В дальнейшем, по мере увеличения количества элементов кристалла и уменьшения их размеров, наглядность изображений значительно снижается.

Сегодня для обозначения процессоров часто добавляют букву "i" перед цифрами, например – i486, чтобы указать на изготовителя – корпорацию Intel, т. к. ряд фирм выпускают процессоры Intel по лицензии.

Технические характеристики 4004 в то время были довольно впечатляющие, хотя сегодня они вряд ли вызовут восхищение. Тактовая частота была всего 108 кГц, а количество выполняемых операций – 0,06 млн./с. По сравнению сегодняшними гигагерцами (миллиардами герц) совсем-совсем мало, но тридцать с небольшим лет назад это были отличные показатели.

Количество транзисторов в микросхеме составляло 2300 штук, которые выполнялись по 10 мкм технологии.

Размерность шины данных составляла совсем маленькую величину – 4 бита, а адресуемая память достигала 640 байтов (байтов, а не килобайт или мегабайт). Но поскольку основным назначением микросхемы было выполнение арифметических вычислений в калькуляторе, этого вполне хватало.

Вторая микросхема 8008, которая

разрабатывалась одновременно с процессором 4004, появилась в апреле 1972 г. Ее тактовая частота достигла уже 200 кГц. Внешний вид микросхемы показан на рис. 2.2.

Рис. 2.2. Микросхема 8008

В новом процессоре шина данных была удвоена до 8 битов. Количество транзисторов на кристалле достигло 3500 (технология 10 мкм), соответственно, адресуемая память возросла до 16 Кбайт (тысяч байтов). Обратите внимание, что количество транзисторов не увеличилось пропорционально увеличению шины, т. к. в новом кристалле расположили не два процессора 4004, а разработали другую схему.

Как сказано на сайте корпорации Intel, основное назначение микросхемы 8008 – это использование ее в терминалах ввода/вывода, калькуляторах общего назначения и автоматах бутылочного разлива, а также в обработке данных и текста.

Шина данных

На протяжении всей книги будет использоваться термин «размерность шины», например, 16-разрядная шина, 32-разрядная шина и т. д. В компьютерной индустрии это означает, что информация передается от устройства к устройству не по одному проводу, а параллельно по многим проводникам. Но, в любом случае, используется один общий провод, который называется «земля» или «общий».

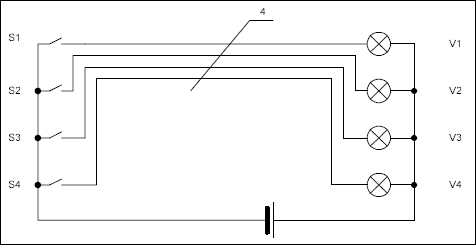
На рис. 2.3 показаны четыре лампочки, управляемые четырьмя выключателями – это наглядная иллюстрация четырехразрядной шины данных.

Рис. 2.3. Иллюстрация работы четырехразрядной шины

Можно также вспомнить, как устроено освещение в квартире. Например, к люстре для включения света в комнате могут подходить 3 провода, т. е. здесь используется 2-разрядная шина.

Технологии

Независимо от того, как выглядит корпус процессора (часто используется термин «чип», от англ. chip), внутри обязательно находится тонкая кремниевая пластинка площадью около 1 квадратного сантиметра, на которой вытравлены микротранзисторы, резисторы, конденсаторы. Каждый элемент на кристалле соединяется с другими тонкими проводниками, которые создаются напылением на кремний пленки золота, алюминия или меди.

Производство микросхем напоминает печать обычных фотографий с помощью фотоувеличителя. Через фототрафарет, аналог фотопленки, засвечивается фотослой, который нанесен на кремниевую пластину. Потом ее многократно травят в химических реактивах и напыляют в нужных местах слои металла. При установке кристалла в корпус микросхемы контактные площадки на кристалле с помощью тонких золотых проводников соединяют с выводами микросхемы.

В современных процессорах количество транзисторов превышает несколько десятков миллионов штук, но вот размеры кремниевых кристаллов не могут быть большими. В первую очередь, это обусловлено огромной ценой больших кристаллов, да и размеры корпуса процессора ограничены. Поэтому при изготовлении процессоров используются самые передовые технологии. Даже можно сказать, что разработка новых процессоров всегда влечет появление новых технологий, т. к. эти микросхемы содержат больше всего различных элементов на кристалле.

Наиболее выгодно сокращать размеры элементов и толщину проводников, т. к. в этом случае на одном и том же кристалле можно разместить значительно больше транзисторов. В первых процессорах использовалась технология 10 мкм, означающая, что минимальная толщина проводников или геометрические размеры транзисторов на кристалле кремния могут быть не меньше 10 мкм. В последних разработках используется технология 0,13 и даже 0,08 мкм, а это уже соизмеримо с длиной волны солнечного света. Поэтому в техпроцессе начинают применять мягкое рентгеновское излучение и пучки электронов, как в кинескопах.

Поделиться с друзьями: