Большая Советская Энциклопедия (СШ)

ЖАНРЫ

Поделиться с друзьями:

Большая Советская Энциклопедия (СШ)

Шрифт:

США

США (USA), сокращённое название Соединённых Штатов Америки.

«США - экономика, политика, идеология»

«США — эконо'мика, поли'тика, идеоло'гия», ежемесячный научный и общественно-политический журнал института США и Канады АН СССР; издаётся в Москве с 1970. Освещает проблемы современно-американских отношений, внутренней политики, внешнеполитической и военно-политической доктрины США. Анализирует состояние американской промышленности, сельского хозяйства, финансов, торговли, транспорта, науки и культуры. В журнале

рассматриваются вопросы классовой борьбы, антимонополистического движения, борьбы против расовой дискриминации, социальные, экономические и политические последствия научно-технической революции в США. Тираж (1976) 34 тысяч экземпляров.

Сшибка

Сши'бка, сшибанье (физиологический), столкновение в коре головного мозга основных нервных процессов — возбуждения и торможения, взаимодействие процессов возбуждения и торможения, при котором кора головного мозга может перейти из нормального состояния в патологическое; метод, с помощью которого у животных с хорошо развитой корой больших полушарий можно вызвать длительные функциональные нарушения высших отделов центр, нервной системы (невроз) и расстройства функций внутренних органов. Термин «С.» введён в физиологию И. П. Павловым (1933) в связи с его представлениями о пределе работоспособности корковой клетки и запредельном торможении. Он высоко оценивал С. как приём, вызывающий «срыв» высшей нервной деятельности, невроз и глубокие патологические изменения в органах и тканях. С. процесса торможения процессом возбуждения в коре мозга, так называемая классическая С., впервые была экспериментально произведена в павловской лаборатории И. П. Разенковым в 1924. Ряд работ, посвященных С., принадлежит А. Д. Сперанскому. Павлов считал, что воспроизводимые в эксперименте на животном «... болезненные нервные состояния, если их перенести на человека, в значительной части отвечают так называемым психогенным заболеваниям. Такие же перенапряжения, такие же сшибки раздражительного процесса с тормозным, все это встречается и в нашей жизни» (Полн. собр. соч., т. 3, кн. 2, 1951, с. 303).

Современные электрофизиологические, ультрамикроскопические и биохимические методы исследования, позволяющие обстоятельно охарактеризовать всё то, что входит в понятие перенапряжённости, силы и подвижности процессов возбуждения и торможения, создают предпосылки для понимания и теоретического осмысления сложных механизмов взаимодействия процессов торможения и возбуждения. Термин «С». близок по смыслу к понятию стресс; помимо физиологии, он употребляется в психологии, медицине и философии.

Лит.: Яковлева Е. А., Экспериментальные неврозы, М,, 1967; Курцин И. Т., Теоретические основы психосоматической медицины, Л., 1973.

И. Т. Курцин.

Сшиватель

Сшива'тель документов, устройство для скрепления бумажных листов в пачки при помощи металлических скобок (иногда бесскобочным способом, посредством деформации бумаги при сильном сжатии её ребристыми пластинами).

С. — одно из средств оргтехники; применяется для сшивания документов в практике делопроизводства. При сшивании скобка под нажимом толкателя (ножа) отделяется от пакета скобок, заправленных в магазин С., и прокалывает блок бумажных листов, после чего концы скобок, попадая в фигурные выемки металлические пластины-основания, загибаются.

В различных С. толкатель приводится в движение либо вручную (рис., а), либо электроприводом, например электромагнитным (рис., б). С. различных моделей позволяют скреплять при помощи скобок от 3—5 до 100 и более листов.

К С. условно относят также проволокошвейные машины, которые скрепляют проволочными скобками (формируемыми в самой машине из стальной проволоки диаметром 0,4—0,8 мм) блоки бумаги толщиной до 45 мм (несколько сотен листов). Они применяются преимущественно на полиграфических предприятиях.

Лит.: Алфёров А. В., Резник И. С., Шорин В. Г., Оргатехника, М., 1973.

А. В. Алферов.

Сшиватели документов: а — ручной, типа «Пеликан-2»; б — электрический, типа «Импульс-2».

Сшивающие аппараты

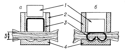
Сшива'ющие аппара'ты (медицинский), полуавтоматические устройства, предназначенные для соединения тканей при оперативном вмешательстве. Они обеспечивают прочность и герметичность шва, точное сопоставление краев ткани. Впервые механический шов применил венгерский врач Л. Адам в 1908; в 1924 венгерский хирург А. Петц ввёл в практику аппарат для ушивания культи желудка и кишок металлическими скобками. В СССР в 1950 группой московских инженеров и врачей сконструирован первый сосудосшивающий аппарат. Все С. а., независимо от их назначения, состоят из 3 основных частей: шьющего механизма, фиксирующего устройства и привода. Основной узел шьющего механизма во всех аппаратах идентичен. Процесс сшивания осуществляется путём выталкивания П-образной скобки толкателем; ножки скобки упираются в специальные лунки, скобка принимает В-образную форму (см. рис.). Металлические скобки в С. а., в отличие от мягкого шовного материала (шёлк, кетгут и др,), не вызывают воспалительной реакции в зоне шва.

В медицинскую практику вошли С. а. для операций на лёгких, сосудах, сердце, на органах брюшной полости. Так, в СССР для соединения кровеносных сосудов циркулярным механическим швом «конец в конец» и «конец в бок» применяют универсальный сосудосшивающий аппарат; для сшивания «конец в конец» — С. а. типа АСЦ-4, АСЦ-20 и др.; для продольного сосудистого шва — односкобочные и многоскобочные С. а. Для ушивания культи бронха применяют С. а. У КБ, для ушивания незаросшего артериального (Боталова) протока — УАП, для ушивания культи желудка — УКЖ, для сшивания некоторых костных структур — СГР.

Лит.; Андросов 11. И., Механический шов в хирургии сосудов, М., 1960; Грицман Ю. Я., Танталовый механический шов при резекциях желудка, М., 1961; Новые хирургические аппараты и инструменты, М., 1964; Nakayama К., Yamамоto К., Tamiya Т., A new simple apparatus for anastomosis of small vessels. Preliminary report, «Journal of the International college of surgeons», 1962, v. 38, № I, p. 12—26.

В. Р. Анахасян.

Схема работы шьющего механизма: а — до прошивания, б — после прошивания; 1 — толкатель; 2 — паз; 3 — скобка; 4 — лунка для загиба скобки; 5 — сшиваемая ткань.

Комментарии: