Чтение онлайн

ЖАНРЫ

Дневная книга (сборник)
Шрифт:

Сейчас на столе передо мной находятся компьютер, соленый чай из хрена и его письмо. Письмо написано, разумеется, по-французски, но меня изумило, что это совсем не тот французский, которым мой любовник изъяснялся в Париже и в Греции, когда мы были вместе. В письме я просто не могу узнать его. Это какой-то другой язык, будто бы кастрированный, и только мысль, передаваемая этим мертвым языком, иногда подает признаки жизни. Он пишет, что те, кто знает, что происходит в Боснии, – молчат, а те, кто не знает, – кричат во весь голос. «Если будешь писать мне, – добавляет он, – не называй меня при обращении господином. Это слово не соответствует моему реальному положению. На войне господ не бывает…»

В качестве post scriptum он добавил совершенно невероятную вещь. Представляешь, он пишет, давно прислал бы мне письмо, но не знал, как подписаться, потому что забыл свое имя!

11

Отделение с запахом сандалового дерева

В

отделении с запахом сандалового дерева хранится крошечная женская глиняная трубка для курения опиума и мужская трубка «Могул». Название фирмы говорит о том, что она не могла быть куплена в магазине, а была сделана на заказ или получена в подарок. На трубке можно разглядеть посвящение на французском языке какому-то господину Т. М. от некоей мадам Л.: «На память о Греции». Рядом с трубкой лежит пачка круглых листочков бумаги, между ними рассыпаны щепотки табака. С помощью бумажек легко сделать «заряд», позволяющий быстро набить трубку. На одном из этих листочков записан интернет-адрес:sa zlatnom kosticom. По этому адресу действительно можно найти и прочитать текст под таким названием, правда, возникает вопрос, следует ли вообще принимать во внимание этот текст из всемирной паутины, ведь это единственный предмет, который находится не в шкатулке для письма в качестве ее содержимого, а в фальшивой компьютерной бесконечности, которая называется cyberspase. Тот, кто не любит компьютеры, может не искать его, а просто пропустить.

III

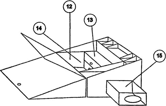
Нижний уровень ящика для письменных принадлежностей

Нижний уровень ящика для письменных принадлежностей составляют: отделение для драгоценностей (12), ящичек для золотых монет (13) и колец (14). На этом же уровне расположен и внешний выдвижной ящик (15).

12

Отделение для драгоценностей

Тот уровень, который пора открыть сейчас, находится на самом дне шкатулки. Часть этого пространства занимает внешний выдвижной ящик (15), а остальное приходится на отделение для драгоценностей (12). Для того чтобы до него добраться, следует воспользоваться уже упоминавшимся большим внутренним ключом и замочной скважиной, расположенной в латунной раме рядом с углублением, в котором хранится ключ. При открывании замка дно левого отделения, обитого зеленым шелком, поднимается и открывает доступ к отделению для драгоценностей. Оно обито плюшем, цвет которого когда-то был рубиновым, а теперь приобрел оттенок печенки и пахнет позеленевшими медными монетами.

Ничего ценного в отделении для драгоценностей нет. Там лежит только телефонная микропленка, сделанная в Париже, какие используют в автоответчиках. На ней записан взволнованный мужской голос, цвет которого меняется, как времена года, и который на французском языке делает несколько попыток поговорить с кем-то в Париже. В неповрежденных местах пленки записано следующее:

Содержание пленки

Последние три ночи в Боснии я провел на чердаке пустого сеновала, внутри которого я укрыл танк и разместил своих солдат… Сава, черная и немая, как пашня, вздымалась в темноте, когда один из моих солдат зачерпнул из нее воды в оцинкованный тазик. Кажется, я слышал его сквозь сон. Осторожно, чтобы не разбудить меня, он поднялся по деревянным ступеням на балкон чердака, где я спал. На балконе стоял деревянный стул. Солдат поставил тазик на стул и положил возле него кусок мыла. Он проделал это так же, как всегда, заученными движениями. В зубах у него все время была зажата сосновая веточка. Потом он вынул ее изо рта и воткнул между досками пола таким образом, чтобы ее конец, пройдя через пол, был виден с веранды, крышей которой служил балкон. После этого он передвинул стул так, чтобы веточка оказалась точно под центром стоявшего на нем тазика. Затем спустился по деревянной лестнице на веранду и проверил, виден ли оттуда конец ветки. Он был хорошо виден, высовываясь между двумя досками потолка веранды, являвшегося одновременно полом моего балкона. Тут он осторожно передернул затвор и сел на ступеньки, ожидая, когда я проснусь.

Едва я протер глаза, как почувствовал, что вчерашние слезы и засохший на веках ночной гной колют мне лицо, как крошки стекла. Я вышел на балкон и стал всматриваться в туман и лес над Савой. Рождаясь над горными массивами Боснии, солнце проходило через все времена года.

В этот момент разорвался первый утренний снаряд, и панорама леса исчезла в смешавшемся с туманом дыме разрыва, принесенного ветром с хорватской стороны. После короткой паузы разорвалось еще два снаряда, как будто в ответ, и я сразу сообразил, что эти были выпущены с позиций мусульман. С другого берега Савы на них откликнулось тихое эхо. Уже три дня я скрывал от своего подразделения, что получил от непосредственного военного начальства приказ атаковать противника. Дело в том, что горючего в танке не хватило бы и на пару километров, а обо всем другом я даже и не говорю. Я посмотрелся в крохотное зеркальце. На голове у меня была зеленая лужайка

коротко постриженных волос, и три серьги в одном ухе. Вокруг меня снова начало сжиматься кольцо тишины.

«Тишина, в которой можно умыться», – подумал я и нагнулся над оцинкованным тазиком, в котором для меня была приготовлена вода. В тот момент, когда она плеском откликнулась на мои руки, снизу грохнул выстрел, пуля пробила пол балкона и, пронзив сиденье стула, таз и воду, застряла у меня в щеке. Я тут же вырвал ее из неглубокой раны и, выхватив револьвер, скатился вниз по лестнице, но застал под балконом лишь своего солдата.

– И как это меня угораздило! Сама выстрелила, господин взводный! – заикаясь, говорил он, и бледность проступала вокруг его глаз. Удивленные солдаты моего взвода столпились вокруг. – Хорошо, хоть крови немного, – продолжал бубнить он как заведенный, – вода пуле помешала… Вы посмейтесь, господин взводный, это полезно для раны. Не бойтесь, ничего с ней не случится! Посмейтесь!

– Покажи винтовку! Перезаряжай!

– Эх, от судьбы не уйдешь, – пробормотал он и нехотя выполнил приказание. В обойме блеснули патроны.

– Откуда у тебя патроны? У всех только по три. Тебе их дали, чтобы убить меня?

Солдат помолчал. Потом произнес:

– Шила в мешке не утаишь. Купил я их, господин взводный. Купил на собственные деньги. «Береженого Бог бережет», – говорит народ себе в рукав. Когда меня бросили на западный фронт, я получил винтовку без ремня с тремя патронами. «Плохо мне придется – голым пузом на штык идти», – подумал я. Подвязал штаны веревкой, ремень к винтовке приспособил. Смотрю, рядом со мной стреляет в изетбеговичевцев [6] один парень из отрядов Фикрета Абдича. [7] Весь в новеньком, с иголочки, ремни скрипят, на боку гранаты, а патронов – сколько хочешь. «Дай немного», – говорю ему, а он мне отвечает: «И слепой денег просит, а не зрения! Не дам. Купи себе, как я купил». – «А у кого ты купил?» – изумился я, и он ответил такое, что у меня вся Босния вокруг головы завертелась: «У того, у кого не было и у кого не будет. У сербов твоих, вот у кого. А у кого бы еще?»

6

Сторонники Алии Изетбеговича (1925–2003), политического деятеля и президента (1990) Боснии и Герцеговины. Во время гражданской войны в Боснии и Герцеговине Изетбегович возглавлял боснийских мусульман. В 1995 г. подписал мирные соглашения в Дейтоне (США), по которым Босния была разделена на мусульманскую, хорватскую и сербскую территории.

7

Фикрет Абдич (р. 1939) – боснийский предприниматель и политик. Во время боснийской войны Абдич заявил о своей оппозиции к режиму Алии Изет-беговича и основал непризнанную Автономную область Западная Босния (1993–1995). После падения автономии Абдич бежал в Хорватию. Был приговорен к двадцати годам лишения свободы за военные преступления.

«На Бога надейся, а сам не плошай», – подумал я тогда, господин взводный, да и купил. У наших купил. Вот откуда у меня патроны.

Я слушал его, оцепенев от изумления, потом очнулся и приказал:

– Полезай в джип, – а сам, схватив его винтовку, сел рядом и взял его на мушку. – Поехали!

– Все Господь превозможет, даже саблю острую. Куда, господин взводный?

– На автостраду.

– Только не на автостраду. Господом Богом молю вас! У жизни один отец, а у смерти им несть числа… Автострада в руках хорватов, там их полно. Если они вас схватят, ложкой глаза выковыряют.

– Почему именно мне, а не тебе?

– Ну, я еще погуляю. Меня не тронут.

– Как так?

– Посудите сами. Повар раздает кашу, а Бог – счастье. У вас в военном билете, хоть вас и мобилизовали, написано, что вы доброволец, а в моем нет. Когда ребята с той стороны таких, как вы, ловят, они расстреливают их на месте. Поэтому вам наши так и написали, чтобы вам не захотелось дезертировать.

– Дезертируешь ты, раз тебя мобилизовали, а я – доброволец…

Сквозь утро мы продвигались по автостраде Белград – Загреб, пустой, как взлетно-посадочная полоса. Я пытался найти по радио какую-нибудь музыку. Отзывалась лишь изголодавшаяся вечность.

– Что вы со мной сделаете, господин взводный?

– Узнаешь, когда кончится бензин, – ответил я и вышвырнул его винтовку на дорогу.

– Вам больно, господин взводный? – снова завелся он. – Сделайте три вдоха, а потом задержите дыхание. Тогда рана не будет беспокоить…

– Кто тебе приказал убить меня?

– Что я слышал, недослышал, что видел, не разглядел, что знал, не понял. Никто.

– Врешь!

– Вранье цветет, да плодов не дает. Никто, я же сказал вам. Я сам решил.

– За что?

– Хороший слуга лучше плохого царя… Вы всё тянули с приказом наступать. А если до завтра мы не начнем действовать, мое село и все мои родственники попадут в руки хорватов или иранцев. И что их тогда ждет, вы сами знаете. Замучают.

– Как мы можем атаковать, если у нас патронов нет? Только у тебя полный магазин. Горючего в танке и на полчаса не-хватит.

– Не танк нас купил, а мы его! – произнес он в тот самый момент, когда мотор закашлял и машина остановилась.

Поделиться с друзьями: