Чтение онлайн

ЖАНРЫ

Шрифт:

131.

987654321=100

Составьте математическое выражение, равное 100, вставляя плюс или минус между цифрами. Каково будет минимальное количество знаков плюс или минус?

132.

Пилоты бомбардировщиков облетели территорию, очерченную на рисунке схемой. Определите, сколько бомб попало в фигуру в виде трапеции. Сколько — в треугольник, но не учитывая круг внутри него? А сколько их попало в пятиугольник, прямоугольник и треугольник?

133.

Найдите 25

различий в этих планах одного и того же здания.

134.

Архитекторы, работавшие над проектом нового общественного здания, предложили крышу необычной формы, которая была прочной, светлой и нарядной. В ней даже была предусмотрена одна непрерывная линия для электрической проводки. Вы можете ее найти?

135.

Одна из этих девушек принципиально отличается от всех остальных. Чем же?

136.

В булочную зашли 3 женщины. Одна из них купила половину того хлеба, что был на полке, и еще половинку буханки. Вторая и третья женщины купили то же самое. Когда они ушли, булочная закрылась, потому что хлеб кончился. При этом продавцу не пришлось разрезать пополам ни одной буханки. Сколько буханок хлеба было в булочной перед приходом покупательниц?

137.

На рисунке изображены 7 фигур одного и того же бегущего солдата. Какая из фигур настоящая, а какие — только ее зеркальные отражения?

138.

Винодел обычно продает свое вино по 30 и по 50 литров, и у него есть мерные кувшины только таких размеров. Как-то раз один покупатель захотел купить всего 10 литров вина. Винодел согласился продать ему вино и отмерил его, пользуясь двумя своими кувшинами.

Как он это сделал?

139.

Используя только цифры 1, 6, 8, 9 и 0, два мальчика так расставили их в электронной игре, что сумма чисел в каждом вертикальном и горизонтальном ряду равнялась 264. Их приятель, заглянув к ним в окно, сказал, что и с его стороны сумма чисел в каждом вертикальном и горизонтальном ряду тоже одинаковая и составляет 264. Ребята пришли в восторг от своего решения. А получится ли у вас то же самое?

140.

Можно ли разделить на 3 сумму одиннадцати тысяч, одиннадцати сотен и одиннадцати?

141.

На одном рисунке все 28 костяшек домино выложены подряд одна за другой. Затем они были разделены на 4 части по 7 костяшек.

На рисунке общее количество очков на костяшках в каждом ряду разное. Можете ли вы положить их в такой последовательности, чтобы сумма очков на костяшках в каждом ряду была одинаковой?

142.

Резкое падение давления на два последовательно соединенных клапана в релейной системе грозит страшной катастрофой. В вашем распоряжении ровно 30 секунд, чтобы восстановить уровень давления в системе.

143.

Всем очень понравились условные обозначения для новой выставки. Но один из рисунков принципиально отличался от остальных.

Какой?

144.

Катя, Таня и Сережа каждое утро перед завтраком совершали пробежку. В конце сентября они заметили, что с начала месяца Катя обгоняла Таню чаще, чем та ее, и что Таня обгоняла Сережу чаще, чем он ее. Возможно ли, что Сережа обгонял Катю чаще, чем Катя его?

145.

«У меня в деревне есть несколько птиц, — рассказывал Павел. — Все они, кроме двух, — утки, все, кроме двух, — цыплята, и все, кроме двух, — гуси. Сколько же у меня птиц?»

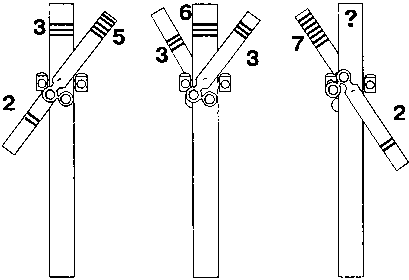
146.

Определите условный вес опорной стойки правого сигнального устройства.

147.

Учитель вынул из ящика стола 34 карточки с цифрами от 1 до 34. Он хотел предложить ребятам новую задачу-головоломку. Сколько карточек, в номерах которых есть цифра 1, достал учитель из стола?

148.

Запишите недостающие числа так, чтобы их сумма по каждой прямой равнялась числу в центре.

149.

Отцу исполнилось 62 года, когда его дочери было 36 лет. Сколько лет прошло с тех пор, когда возраст дочери составлял 1/3 возраста ее отца?

150.

8 деревьев растут в ряд на расстоянии 3 метра друг от друга. Каково расстояние между двумя крайними деревьями?

151.

Света обратила внимание, что, если прикрыть рукой половину циферблата наручных часов, сумма закрытых цифр будет равна сумме оставшихся открытыми. Какую половину циферблата прикрыла Света?

152.

С тех пор, как Света поставила новую батарейку в свои наручные часы, минуло миллион секунд. Когда это произошло — больше дня назад, больше недели или больше года? Постарайтесь не пользоваться калькулятором.

Поделиться с друзьями: