Чтение онлайн

ЖАНРЫ

Galich Domashnyaya Masterskaya Polyi v vashem dome.365283

Галич Андрей Юрьевич

Шрифт:

Основным отличием уплотненной плитки от неуплотненной является то, что в первом случае пол после укладки сразу готов к эксплуатации, а во втором — поверхность пола нужно покрыть тремя слоями полиуретанового лака.

Подготовка основания

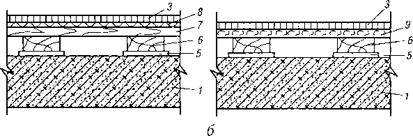
Основание под пробковое покрытие может быть как деревянным, так и бетонным (рис. 3). На ровный и крепким дощатый пол можно уложить листы твердой ДВП толщиной 3,2 мм или листы фанеры толщиной 12 мм (вариант с фанерой более предпочтителен). ДВП прибивают гвоздями к полу; стыки листов ДВП не должны совпадать со стыками досок дощатого пола. Фанеру крепят саморезами по всей площади поверхности.

На лаги вместо шпунтованной доски можно положить ДСП толщиной 20–24 мм.

Рис. 3. Конструкции полов с покрытием из пробки:

а — полы на самовыравнивающейся прослойке; б — полы на прослойке из ДСП и ДВП; 1 — железобетонная плита; 2 — самовыравнивающаяся прослойка; 3 — пробковое покрытие; 4 — цементно-песчаная стяжка толщиной 15–20 мм; 5 — звукоизоляция из ДВП толщиной 20 мм; 6 — лаги 40 х 80 мм; 7 — доска шпунтованная; 8 — фанера толщиной 12 мм; 9 — ДСП толщиной 20–24 мм

Требования к бетонному основанию следующие — оно должно быть ровным, чистым и гладким. Максимально допустимый зазор между фугованной рейкой длиной 2 м и основанием должен быть не более 2 мм. Неровное основание выравнивают при помощи самовыравнивающихся смесей. Влажность бетонных, цементных и гипсовых стяжек должна быть не более 5 %. Если основание удовлетворяет всем вышеперечисленным требованиям, можно приступать к укладке пробкового покрытия.

Выбор клея

Клей и пробковая плитка должны пройти акклиматизацию в течение не менее 24 ч в помещении, в котором они будут использоваться. При этом климатические условия внутри помещения должны быть такими: влажность воздуха не более 60 %, температура 18 °C. Клей нужно выбирать в зависимости от качества пробковой плитки и материала основания пола.

Как самый простой вариант можно использовать водостойкий клей ПВА, но некоторые его виды способны привести к усадке пробковых покрытий, что, в свою очередь, приведет к образованию щелей на стыках между плитками. В крайнем случае, ПВА можно использовать для приклейки неуплотненной пробковой плитки, имеющей снизу виниловый защитный слой, тогда клей не будет иметь прямого контакта с пробкой.

Лучше всего использовать тот клей, который рекомендует производитель пробкового покрытия.

Расход клея напрямую зависит от материала основания пола. Чем выше впитываемость основания, тем больше потребуется клея. На 3–4 м2 бетонного основания уходит примерно 1 л клея. Если же основание из фанеры или твердой ДВП, то расход будет значительно меньше.

Предварительная разметка основания и укладка плиток

Начинать укладку пробкового покрытия из плиток нужно с центра помещения. Чтобы найти его, можно использовать два шнура. Один шнур натягивают по одной диагонали, второй — по другой. Точка их пересечения и будет центром. В этой точке нужно прочертить две перпендикулярные линии параллельно стенам — это будут направляющие укладки.

После этого проводят укладку плиток без приклеивания, начиная

от центра помещения к стенам. На этом этапе комбинируют плитки по текстуре и цвету и создают на полу задуманный рисунок. Если после пробной укладки ширина плиток у стен будет меньше 50 мм, то необходимо сдвинуть направляющие линии в центре так, чтобы с обеих сторон получились равные по ширине полосы плит. Самый лучший вариант — это когда ширина плиток у стен не меньше ширины половины плитки.

Сначала проводят укладку пробкового покрытия одной половины помещения, затем — второй. Причем укладывают только целые плитки, т. е. обрезанные плитки вдоль стен и возле любых препятствий пока не укладывают.

После того как уложены все целые плитки, приступают к укладке плиток в узких местах. Плитку-заготовку кладут на ближайшую к стене приклеенную плитку так, чтобы они совпали по всем сторонам, сверху заготовки кладут еще одну целую плитку, но упирают ее в стену; после этого плитку-заготовку смещают к стене на 5 мм (для обеспечения зазора после приклейки между стеной и плиткой) и прочерчивают линию отреза. На твердой поверхности точно по линии ножом отрезают плитку. После этого ее можно приклеивать.

Для укладки плитки возле круглых препятствий сначала готовят шаблон из бумаги. Для этого бумагу плотно прижимают к круглому препятствию и разрезают полосами (рис. 4). После этого шаблон переносят на плитку.

Для очень сложных по форме препятствий используют специальное приспособление, способное копировать контур препятствия.

Чтобы уложить плитку вокруг трубы, определяют точку на поверхности плитки, в которой сверлят отверстие необходимого диаметра, после этого разрезают плитку и приклеивают ее на место.

Рис. 4. Изготовление шаблона

Если в процессе устройства пола из пробки проводилась укладка неуплотненной пробковой плитки, то, перед тем как покрывать ее лаком, накрывают всю поверхность покрытия полиэтиленовой пленкой на одни сутки. В случае с уплотненной пробковой плиткой ходить по покрытию можно сразу после укладки, а вот расставлять мебель можно только через сутки.

Уход за пробковыми покрытиями

Пробковые полы во время уборки протирают влажной тряпкой. Кроме этого, их можно мыть обычными моющими средствами, не содержащими растворителей и абразивов. Также в продаже имеются специальные средства по уходу за пробковыми покрытиями.

Пробковые покрытия с виниловым защитным слоем требуют периодической замены мастики (натирания мастикой). Для жилых помещений эту операцию следует проводить раз в 2–3 года, для общественных — раз в год. Процесс замены осуществляется при помощи специальных растворителей.

У покрытий с лаковым защитным слоем происходит постепенное истирание слоя лака, который можно восстановить своими силами. Для этого нужно снять весь старый лаковый слой, используя ручную шлифмашинку или вручную шкуркой. После этого покрытие покрывают специальным полиуретановым лаком.

Чтобы полы из пробкового покрытия служили долго, необходимо защитить их от различных повреждений, царапин и т. п. Для этого рекомендуется на ножки мебели (столов, стульев, диванов и т. д.) приклеить кусочки пробки или фетра (резину клеить нельзя). У входных дверей желательно положить грязезащитные коврики; лучше не использовать коврики с резиновым или латексным основанием, так как под ними на пробковом покрытии со временем образуются трудновыводимые пятна.

Поделиться с друзьями: