Кумулятивный заряд кольцевой КЗК

ЖАНРЫ

Поделиться с друзьями:

Кумулятивный заряд кольцевой КЗК

Шрифт:
НАЗНАЧЕНИЕ

Кумулятивный заряд кольцевой КЗК предназначается для перебивания стальных стержней, канатов и других металлических связей и средств крепления диаметром до 70 мм.

ОСНОВНЫЕ ТАКТИКО-ТЕХНИЧЕСКИЕ ДАННЫЕ

Масса, кг 1

Масса ВВ (ТГ-50), кг 0,4

Высота, мм 52

Ширина, мм 160

Длина, мм 200

Температурный диапазон применения, °С От –50 до +50

Средства взрывания Взрыватели с запалом МД-5М, электродетонатор

ЭДП-р, зажигательные трубки ЗТП

Заряд допускает разделение его на два полукольцевых заряда и применение их отдельно друг от друга.

Эффективность Перебивает стальные элементы конструкций диаметром: кольцевой заряд — стержень 70 мм, трос 65 мм; полукольцевой заряд — стержень 30 мм, трос 30 мм

Время установки на объекте, мин 1

Гарантийный срок хранения 10 лет

Допускается применение заряда в воде на глубине До 10 м

УСТРОЙСТВО И ПОДГОТОВКА ЗАРЯДА К ВЗРЫВУ

Устройство заряда

Кумулятивный заряд кольцевой КЗК (рис. 1) состоит из двух кумулятивных полукольцевых зарядов, соединенных между собой с помощью петель, шплинта и замка, состоящего из защелки с прорезью (на корпусе одного полукольца) и крючка (на корпусе другого полукольца).

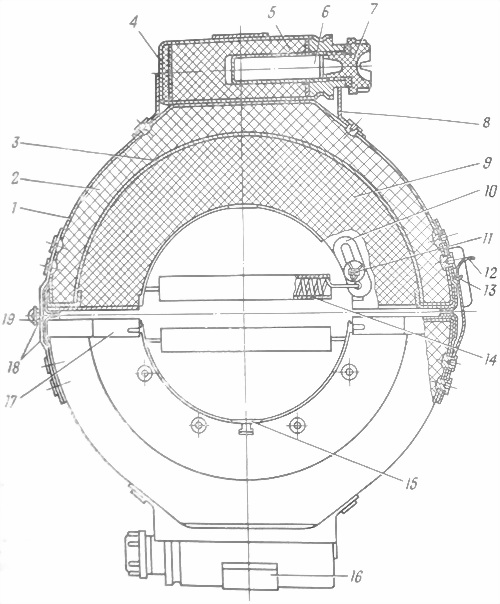
Рис. 1. КЗК (разрез):

1 — корпус; 2 — заряд ВВ (ТГ-50); 3 — облицовка кумулятивной выемки; 4 — стакан; 5 — промежуточный детонатор; 6 — запальное гнездо; 7 — пробка; 8 — рамка с выемкой; 9 — пенопластовый вкладыш; 10 — скоба; 11 — лапка; 12 — защелка с прорезью; 13крючок; 14 — пружина в пластиковой трубке; 15 — прижим; 16 — защелка; 17 — колпачок; 18 — петли; 19 — шплинт

Каждый полукольцевой заряд состоит из корпуса, промежуточного детонатора и пенопластового вкладыша.

Корпус полукольцевого заряда выполнен из стали и заполнен взрывчатым веществом ТГ-50. Во внутренней части корпуса закреплена стальная кумулятивная облицовка. Торцы корпуса закрыты колпачками из дюралюминия. В полость кумулятивной выемки вставлен съемный пенопластовый вкладыш, который крепится с помощью прижима.

Рис. 2. КЗК:

1 — шплинт; 2 — пенопластовый вкладыш; 3 — прижим; 4 — защелка; 5 — промежуточный детонатор; 6 — пробка; 7 — пружина в пластиковой трубке; 8 — защелка с прорезью; 9

крючок; 10 — рамка с выемкой

Для установки промежуточного детонатора (рис. 2) на корпусе закреплена рамка с ограничительной выемкой. Крепление промежуточного детонатора на заряде осуществляется с помощью пружинной защелки. На корпусе закреплены две пружины в пластиковых трубках для крепления заряда на перебиваемом элементе. Один конец пружины закреплен на корпусе, а другой соединен со скобой, имеющей продольную прорезь. Скоба крепится на корпусе с помощью лапки, по которой она может быть перемещена вверх или вниз на всю длину прорези.

Промежуточный детонатор состоит из шашки ВВ, помещенной в металлический стакан. В стакане с одного торца имеется запальное гнездо с резьбой под электродетонатор ЭДП-р (зажигательную трубку ЗТП или запал МД-5М). Запальное гнездо закрыто пробкой с резиновой прокладкой.

Заряды комплектуются вещевым мешком для переноски (на 8 зарядов — один вещевой мешок).

При раздельном применении полукольцевых зарядов для крепления их на перебиваемых объектах в комплект каждого кольцевого заряда входят две планки и два шплинта.

Общий вид кумулятивного заряда кольцевого и полукольцевых зарядов см. на рис. 2 и 3.

Рис. 3. Полукольцевые заряды:

а — с неустановленной планкой; б — с установленной планкой; 1 — полукольцевой заряд с защелкой; 2 — планка с крючком; 3 — полукольцевой заряд с крючком; 4 — планка с защелкой; 5 — шплинт

Подготовка заряда к применению

При подготовке заряда к действию заряд комплектуется злектродетонатором ЭДП-р (зажигательной трубкой ЗТП, взрывателями с запалами МД-5М).

При перебивании элементов на суше извлечь пенопластовые вкладыши. Для извлечения вкладыша необходимо:

— отжать защелку с прорезью, вывести крючок из прорези и раскрыть заряд;

— нажать на прижим с двух сторон вкладыша, вывести концы прижима из прорезей на корпусе, удалить прижим и пенопластовый вкладыш. Второй пенопластовый вкладыш удаляется в том же порядке.

Перед установкой заряда на перебиваемый элемент диаметром 60 мм и более ослабить натяжение пружин. Для ослабления натяжения пружины необходимо:

— раскрыть заряд;

— потянуть пружину в сторону скобы, переместить ее вверх на всю длину прорези и отпустить пружину вниз. Остальные пружины ослабляются в том же порядке. При подготовке заряда для установки на перебиваемый элемент диаметром менее 60 мм ослабление пружин не производить.

При подготовке к применению полукольцевых зарядов необходимо:

— извлечь шплинт из петель кольцевого заряда;

— отжать защелку с прорезью, вывести крючок из прорези и отделить полукольцевые заряды друг от друга;

— установить на полукольцевой заряд с защелкой планку с крючком, а на полукольцевой заряд с крючком — планку с защелкой.

Вставить в петли полукольцевого заряда и планки шплинт и развести его концы.

При подготовке заряда для перебивания стальных канатов и стержней под водой пенопластовый вкладыш из кумулятивной выемки не извлекать.

12
Комментарии: