Лучшие рецепты самогона

ЖАНРЫ

Поделиться с друзьями:

Лучшие рецепты самогона

Лучшие рецепты самогона
5.00 + -

рейтинг книги

Шрифт:

От автора

Еще при Мишке Меченом я ни за что бы не решилась написать эту книжку: тогда за самогоноварение сажали.

Спасибо покойному Борису Николаичу! На рельсы не лег, но хоть что-то полезное сделал для россиян – в его царствие убрали статью из Уголовного кодекса…

Так что теперя гнать самогон можно.

Ну, во всяком случае, пока ничего не изменилось…

Запомни крепко, внучок: для себя гнать можно, для личного употребления, а не для продажи. А вот будешь торговать самогоном – накажут! У государевых людей на тебя сразу зуб

появится:

– занимаешься нелегальным бизнесом,

– продаешь пойло неизвестно какого сорта и качества,

– утаиваешь доходы,

– не платишь налоги…

Ежели успеешь немного продать, то отштрафуют.

А если много – могут и рублем наказать, и отправить туда, куда Макар телят не гонял…

Все, что нужно для начала, есть в этой книге.

Остальные знания придут с опытом и от общения с «коллегами».

Как прочитаешь эту книгу, подумай, стоит ли овчинка выделки? А уж если решился, то надо:

– достать или смастерить самогонный аппарат,

– выбрать рецепт закваски,

– достать нужное сырье,

– подготовить сырье,

– изготовить брагу,

– залить брагу в аппарат,

– перегнать брагу в самогон,

– облагородить полученный напиток,

– разлить в тару,

– употреблять его в меру…

Не бойся, ничего сложного в приготовлении самогона нет! Если уж бабки в глухих деревнях его гонят, то и ты справишься! Ну, пару-тройку раз, быть может, сделаешь не совсем то, что хотелось. Зато потом набьешь руку!

Иногда самогон называют мутным.

Это брехня, внучок!

Ежели самогон мутный, с дурным запахом и противным вкусом, то это значит, что качество его очень низкое.

Самогон правильно приготовленный, хорошо очищенный и облагороженный – чист, как слеза младенца.

Употреблять его даже полезнее, чем покупную водку.

Один черт знает, какую водку тебе втюхают в магазине!

Глава 1 Самогонные аппараты

1

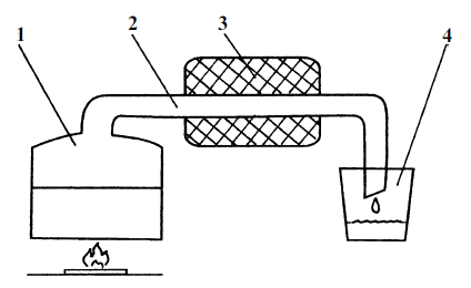
Аппарат для самогоноварения – штука сама по себе очень простая. Он состоит из котла (бражника), в него заливается брага. Брага – это такая жидкость, спирта в ней мало, не более 15 %. Под котел чаще всего используют металлический жбан объемом 15–20 л и более. Очень удобны молочные бидоны, доильные аппараты и скороварки – у них крышка плотная, и в то же время она легко снимается.

Если руки у тебя растут не из задницы и ты сам решил наладить бражник, то не забывай: он обязательно должен иметь съемную крышку. Так его легче мыть после перегонки…

В крышке котла-бражника нужно сделать две дырки с резьбой: туда вкручиваются термометр и отводящая трубка.

А еще лучше – три дырки (третья – для предохранительного клапана, излишки пара выпускать)…

Какой термометр лучше использовать? Любой. Лишь бы он был жидкостный, со шкалой до +120°.

Бражник можно нагревать как угодно: просто огнем, горелкой, электрической плиткой…

Лучше, конечно, электрический обогреватель – температуру легче регулировать.

Что у нас получается?

В одну дырку ввинчен термометр, в другую –

предохранительный клапан, а в третью – длинная трубка, завитая спиралью (змеевик). Змеевик проходит через посудину с обычной холодной водой (холодильник).

Когда брага кипит в бражнике, пары идут в змеевик. В змеевике пары охлаждаются, и самогон тоненькой струйкой вытекает из свободного конца прямо в миску, которую ты туда поставишь…

Змеевик делается из трубки толщиной в 12–15 мм. Наружная толщина спирали змеевика – 80—120 мм. Длина змеевика 300–400 мм. Спиртоносные пары из бражника очень едкие, так что змеевик обязательно должен быть из нержавеющей стали.

Рис. 1. 1. Сосуд с брагой. 2. Трубка-змеевик. 3. Сосуд с водой. 4. Сосуд для сбора самогона

Другие детали охладителя – из любых жаростойких материалов. Размеры охладителя со змеевиком внутри: длина 400–500 мм, толщина – 104–159 мм. Поскольку вода в охладителе быстро нагревается, она (вода) должна быть проточной. Для этого в начале и конце охладителя ввари два штуцера для подвода и отвода воды.

Все, что я рассказала, относится к общей конструкции самогонного аппарата. В быту чаще употребляются иные конструкции.

2

У самого простого самогонного аппарата нет трубки-змеевика. Его можно соорудить из обычной кухонной посуды – это единственный плюс. Минусов намного больше:

– низкая производительность,

– самогон получается некрепкий,

– надо часто менять воду в тазике на более холодную,

– на сильную бражную вонь во время перегонки обязательно обратят внимание соседи,

– в самогоне слишком много сивушных масел.

Ну, сперва узнают соседи, а потом «звон» дойдет и до

участкового. И он начнет ерундой страдать – приходить, вымогать мзду, вести занудные «профилактические» беседы.

Когда брага, налитая на дно кастрюли, кипит, спиртовые пары поднимаются вверх. Охлаждаются на дне тазика с холодной водой и капают вниз, в миску. Как только миска переполнится, надо готовый самогон слить в какую-нибудь емкость и поставить миску на место. Воду в тазике не ленись, меняй почаще.

И сливать самогон и воду в тазике менять очень неудобно. Ведь для этого придется навроде как отдирать тазик от кастрюли…

Выглядит этот аппарат так:

Рис. 2. 1. Холодная вода. 2. Тазик. 3. Миска для сбора самогона. 4. Самогон. 5. Кастрюля для браги. 6. Брага. 7. Нагреватель.

Ах да, забыла сказать: щель между тазиком и верхним краем кастрюли надо замазать. Есть несколько рецептов замазки:

Комментарии: