Чтение онлайн

ЖАНРЫ

Мобильный автосервис: Практическое пособие
Шрифт:

1. Производственные причины

В соответствии со стандартами шины могут сниматься с эксплуатации по следующим причинам:

По ГОСТ 4754 (шины для легковых автомобилей): покрышки – расслоения в каркасе, брекере и борте; отслоения протектора и боковины; гребень по протектору с выпреесовкой корда; запрессовка твердых включений на внутренней и наружной поверхностях покрышки (бескамерной шины); механические повреждения (проколы сквозные, порезы до корда); отставание нитей корда по первому слою каркаса; складки по основанию и носку борта от запрессовки бортовой ленты, обнажение кромок бортовой ленты, отрыв и отслаивание герметизирующего резинового слоя на внутренней поверхности каркаса и на бортах;

камеры – расхождения стыка; механические повреждения; пористость стенок и посторонние включения.

По ГОСТ 5513 (шины грузовых автомобилей постоянного давления):

покрышки – расслоения в каркасе, брекере и борте; отслоения протектора, боковины и герметизирующего слоя; гребень по протектору с выпрессовкой ткани (для покрышек с текстильным брекером); запрессовка твердых включений на внутренней поверхности каркаса с повреждением первого слоя, механические повреждения (проколы сквозные, порезы до корда); просвечивание нитей металлокорда в каркасе и подканавочном слое; трещины на покровных резинах; отставание нитей корда по первому слою каркаса; отрыв и отслоение

герметизирующего слоя по внутренней поверхности каркаса и на бортах; наплыв по носку и пятке борта с просвечиванием и выходом металлокорда;

камеры – расхождения стыка; пористость стенок; механические повреждения; посторонние включения;

ободные ленты – механические повреждения.

По ГОСТ 13298 (шины грузовых автомобилей с регулируемым давлением):

покрышки – расслоения в каркасе, брекере и борте; отслоения протектора и боковины; гребень по протектору с выпрессовкой ткани; запрессовка твердых включений на внутренней поверхности каркаса с повреждением первого слоя;

камеры – наружная пористость стенок и посторонние включения;

По ОСТ 38-47-170-95 (покрышки, восстановленные наложением нового протектора):

покрышки – отслоения наложенного протектора (местное или по всей окружности); отслоение наложенной покровной резины по боковине(при восстановлении по типу В); отслоение или разрыв наложенного пластыря; отслоение заполняющей резины в зоне ремонта повреждений брекера, в том числе по кромкам брекера; отслоения заполняющей резины в зоне ремонта местных повреждений или пластыря с возможным последующим разрушением отремонтированного участка; отрыв шашек рисунка протектора из-за недостаточной толщины подканавочного слоя; расхождения стыка наложенного протектора; отслоение усиливающих лент обрезиненного корда; отслоение или расслоение усиливающего резинокордного пояса.

По ОСТ 200-002-95 (покрышки, прошедшие ремонт местных повреждений):

покрышки – отслоение или разрыв наложенного пластыря; отслоение резины (наполнительной) заполняющей полость, образовавшуюся при вырезке поврежденного участка покрышки в зоне ремонта местных повреждений; отслоение наполнительной резины в зоне ремонта местных повреждений с последующим расслоением каркаса или пластыря.

2. Эксплуатационные причины

1. Преждевременный неравномерный износ протектора из-за неправильной регулировки схождения и развала передних колес, резкого торможения или трогания с места, изношенности и ослабления крепления колесных подшипников, втулок рулевых тяг, завышенного радиального и бокового биения колес, износ рисунка протектора выше предельно допустимого из-за несвоевременного снятия шин с эксплуатации.

2. Разрушение или излом каркаса из-за езды при пониженном давлении в шинах.

3. Интенсивный износ средней части беговой дорожки из-за езды при повышенном давлении в шинах, разрыв каркаса из-за перегрузки автомобиля или колес за счет неправильного размещения груза в кузове автомобиля, а также вследствие удара о дорожные препятствия при езде с большой скоростью.

4. Механические повреждения:

шины – пробои или порезы протектора или боковины с разрывами каркаса; повреждения борта с нарушением правил монтажа и демонтажа шин; потеря герметичности бескамерных шин из-за механических повреждений;

камеры – пробой, прокол или порез, разрыв или повреждение камеры при неправильном монтаже шины, повреждение вентиля, отрыв вентиля при небрежном монтаже шины или при езде на шине с пониженным давлением.

Приложение 10

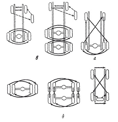
Возможные схемы перестановки шин на автомобилях

Рис. 9. Перестановка шин: а – с ненаправленным рисунком протектора, б – с направленным рисунком протектора

Рис. 10. Перестановка шин:

в – по оси, г – на троллейбусе, д – на прицепах и полуприцепах

Приложение 11

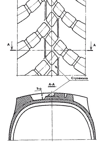
Определение площади предельного износа рисунка протектора и места его замера

Рис. 11. Зона предельного износа рисунка протектора: ширина зоны “в” должна быть равна половине ширины беговой дорожки “б”, т. е. в = 0,5 б; длина зоны “а” должна быть равна 1 /6 длины окружности, т. е. а = 2πR/6, где R – свободный радиус шины (1 /6 длины окружности равна длине дуги, хорда которой равна радиусу)

Рис. 12. Рисунок протектора с уступами у основания шашек в центральном поясе беговой дорожки

Рис. 13. Универсальный рисунок протектора с полумостиками в местах пересечения канавок Высота полумостиков составляет около 1,3 высоты рисунка протектора новой шины (hO в сечении Б~Б) “В” – зона замера остаточной высоты рисунка протектора

Приложение 12

Карточка учета работы автомобильной шины (новой, восстановленной, прошедшей углубление рисунка протектора нарезкой, бывшей в эксплуатации – нужное подчеркнуть)

Обозначение (размер) шины________Модель шины______ГОСТ или ТУ на шину____

Порядковый (заводской) номер_____Дата изготовления (неделя, год)_________

Индекс несущей способности или норма слойности___________

Эксплуатационная (гарантийная) норма пробега ____________

Завод-изготовитель новой шины или шиноремонтное предприятие ____________

Наименование автотранспортного предприятия_____________

Ответственный за учет работы шины________Ф.И.О._______ (подпись)

Заключение комиссии по определению пригодности шины к эксплуатации (на восстановление, на углубление рисунка протектора, на рекламацию или в утиль).

Председатель комиссии__________Ф.И.О._________(подписи)

Члены комиссии

Примечания:

1. Карточка заводится на каждую шину, поступившую на автопредприятие.

2. Заполнение всех граф карточки обязательно.

Приложение 13

Влияние нарушения норм давления на использование ресурса шин

Рис. 14. Вид деформации и использование ресурса шин (в %):

а – при нормальном давлении воздуха; б – при давлении, повышенном на 20 %; в – при давлении, сниженном на 20%

Приложение 14

Размещение грузов на автомобилях и влияние перегрузки на использование ресурса шин

Рис. 15. Размещение грузов на автомобилях: а – правильное размещение малогабаритных тяжелых грузов, б – неправильное размещение малогабаритных тяжелых грузов, в – правильное размещение длинномерных грузов, г – неправильное размещение длинномерных грузов

Рис. 16. Использование ресурса шин (в %): а – при нормальной нагрузке, б – при перегрузке 40 %, в – при перегрузке 100%

Приложение 15

Выписка из ОСТ 200 001 95 Покрышки и бескамерные шины, пригодные для ремонта местных повреждений.

Технические условия (извлечения)

1. Технические требования

4.1. Установлены два вида ремонта: первый и второй. Определение вида ремонта производят в зависимости от характера и размеров местных повреждений в соответствии с табл. 1 и 2.

4.2. При определении пригодности покрышек для ремонта должны учитываться все повреждения, в том числе и ранее отремонтированные.

4.5. Пригодные для ремонта покрышки должны быть очищены от грязи, воды, льда и посторонних включений (осколков стекла, камней, гвоздей, шипов противоскольжения в зоне повреждений и др.).

4.6. К ремонту местных повреждений не пригодны покрышки:

1) с повреждениями, превышающими нормы, указанные в табл. 1 и 2;

2) радиальной конструкции и цельнометаллокордные, имеющие повреждения кромок более одного слоя металлокорда брекера, размеры которых превышают нормы, указанные в табл. 1 и 2;

3) с износом рисунка протектора более 80 %;

4) с вытянутыми (деформированными) бортами, с изломом или разрушением металлического кольца борта, с отслоением бортовых лент;

5) с повреждениями каркаса, расположенными вблизи борта и требующими его вскрытия при ремонте; на расстоянии ближе 40 мм от пятки борта покрышек легковых автомобилей, на расстоянии ближе 75 мм от пятки борта покрышек диагональной конструкции и на расстоянии ближе 100 мм от пятки борта покрышек радиальной конструкции и цельнометаллокордных для грузовых автомобилей;

6) с расслоениями каркаса и брекера, с разрушением каркаса или изломом его внутренних слоев;

7) с явными признаками старения покровных резин (затвердение и растрескивание в виде мелких трещин глубиной более 1 мм у покрышек легковых автомобилей и более 2 мм у покрышек грузовых автомобилей);

8) подвергшиеся длительному воздействию нефтепродуктов (масла, керосина, нефти и других веществ, вызывающих набухание резин; загрязненные материалами, не поддающимися очистке;

9) легковых автомобилей, с момента изготовления которых прошло более 10 лет.

Приложение 16 Гарантии изготовителей шин

Предприятия-изготовители шин гарантируют соответствие шин требованиям стандартов, по которым изготовляются шины, при соблюдении условий эксплуатации, транспортирования и хранения, а также Правил эксплуатации автомобильных шин.

1. Гарантийный срок службы шин легковых автомобилей, прицепов к ним, легких грузовых автомобилей и автобусов особо малой вместимости (ГОСТ 4754) и грузовых автомобилей, автоприцепов, автобусов и троллейбусов (ГОСТ 5513) – 5 лет со дня изготовления.

Возможность дальнейшей эксплуатации шины определяет потребитель в соответствии с техническим состоянием.

Изготовитель гарантирует по шинам, выпускаемым по ГОСТ 4754 и ГОСТ 5513 – отсутствие производственных дефектов и работоспособность шин до предельного износа рисунка протектора, соответствующего высоте индикатора износа, в пределах гарантийного срока службы.

2. Гарантийный срок хранения шин с регулируемым давлением (ГОСТ 13298):

12 лет – для шин размера 1500 х 600–635; 1600 х 600–685;

10 лет – для шин других обозначений.

Гарантийная наработка шин с регулируемым давлением (ГОСТ 13298) в пределах гарантийного срока хранения должна соответствовать значениям, указанным в таблице 1 (кроме Министерства обороны РФ).

Таблица 1 Гарантийная наработка шин грузовых автомобилей с регулируемым давлением воздуха

Примечание:

а) шины, вышедшие из строя по производственным дефектам при пробеге до б тыс. км, а шины 12,00–20 – до 10 тыс. км, обмениваются предприятием-изготовителем безвозмездно;

б) при пробеге более б тыс. км, а шины 12,00–20 – более 10 тыс. км, но менее гарантийной нормы предприятие-изготовитель оплачивает стоимость каждого километра недопробега шин. Замена шин или оплата стоимости километража их недопробега производится в течение гарантийного срока хранения и эксплуатации.

3. Гарантийный срок хранения и эксплуатации шин, восстановленных по первому и второму классам – 1,5 года; шин, восстановленных по классу Д – 1 год. Безвозмездный ремонт или выплату за недопробег восстановленных покрышек производят в течение 1,5 лет с момента восстановления или в течение 1 года для покрышек, восстановленных по классу Д.

4. Гарантийная наработка покрышек, прошедших ремонт местных повреждений, должна соответствовать значениям, указанным в табл. 2.

Таблица 2

Приложение 17

Нормы допустимого биения ободьев

Таблица 1

Таблица 2

Приложение 18

Рекламационный акт

1. Наименование предприятия, предъявившего рекламацию на шину _____________________________________________________

2. Адрес предприятия __________________________________

3. Марка автомобиля, прицепа, троллейбуса, на котором эксплуатировалась шина ____________________________________________

4. Наименование изготовителя (исполнителя, продавца) ________

_________________________________________________________

5. Сведения о шине, подлежащей рекламации ________________

Поделиться с друзьями: