Чтение онлайн

ЖАНРЫ

Оформление заявки на выдачу патента на полезную модель

Ишков Александр Дмитриевич

Шрифт:

ПРИЛОЖЕНИЕ 5

Пример формулы полезной модели
(патент РФ № 103930 «Устройство для испытаний на растяжение механических соединений тонкостенных металлических конструкций», авторы Катранов И.Г. и Кунин Ю.С., патентообладатель Московский государственный строительный университет)
Формула полезной модели

Устройство для испытаний на растяжение механических соединений тонкостенных металлических конструкций, содержащее два стальных бруска на которых закрепляются гнутые П-образные элементы, соединенные между собой механическим крепежом, отличающиеся тем, что стальные бруски со стороны, противоположенной стороне крепления гнутых П-образных элементов, снабжены цилиндрическим хвостовиком, для

закрепления в захватах испытательной машины, предназначенных для испытания стандартных цилиндрических образцов на растяжение.

ПРИЛОЖЕНИЕ 6

Пример формулы полезной модели
(патент РФ № 111916 «Лабораторный испытательный стенд средств автоматики управления вентиляционными системами», авторы Волков А.А., Седов А.В. и Челышков П.Д., патентообладатель Московский государственный строительный университет)
Формула полезной модели

1. Лабораторный испытательный стенд средств автоматики управления вентиляционными системами, содержащий контроллер, интерфейс передачи данных и группу пользовательских интерфейсных устройств, отличающийся тем, что в него введены дополнительно два программируемых логических контроллера различных производителей, к каждому из которых подключены идентичные датчики, преобразователи, исполнительные механизмы, имитаторы датчиков (релейные переключатели), имитаторы исполнительных механизмов (световые индикаторы), при этом все контроллеры объединены шиной передачи данных и соединены с модулем коммутации с локальной сетью и ЭВМ оператора, причем все элементы системы автоматического управления расположены на схеме системы приточно-вытяжной вентиляции (выполненной фоном лабораторного испытательного стенда) согласно их функциональному назначению.

2. Лабораторный испытательный стенд по п. 1, отличающийся тем, что схемой приточно-вытяжной вентиляции предусмотрена возможность рассмотрения систем с рекуперацией тепла и рециркуляцией воздуха за счет введения в схему системы имитатора контура рекуперации с трехходовым клапаном и имитатора контура рециркуляции с заслонкой.

3. Лабораторный испытательный стенд по п. 1, отличающийся тем, что на программируемых логических контроллерах предусмотрены свободные контакты для подключения дополнительных внешних устройств.

ПРИЛОЖЕНИЕ 7

Пример формулы полезной модели
(патент РФ № 111917 «Многофункциональный лабораторный стенд моделирования систем интеллектуальной автоматики зданий», авторы Волков А.А., Седов А.В. и Челышков П.Д., патентообладатель Московский государственный строительный университет)
Формула полезной модели

Многофункциональный лабораторный стенд моделирования систем интеллектуальной автоматики зданий, содержащий контроллер, интерфейс передачи данных и группу пользовательских интерфейсных устройств, отличающийся тем, что в него введены дополнительно четыре контроллера различных производителей, соединенных через шину обмена данными с ЭВМ оператора, имитатором бинарных сигналов, а также датчиками и преобразователями, к каждому из пяти контроллеров подключены соответственно модель жалюзи с сервоприводом, сантехнический кран с сервоприводом, лампа накаливания малой мощности, люминесцентная лампа и светодиоды.

ПРИЛОЖЕНИЕ 8

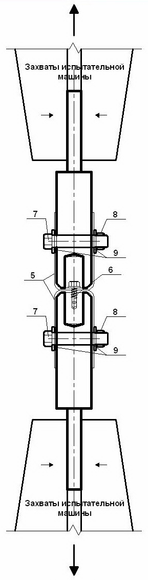
Пример оформления чертежа
(патент РФ № 103930 «Устройство для испытаний на растяжение механических соединений тонкостенных металлических конструкций», авторы Катранов И.Г. и Кунин Ю.С., патентообладатель Московский государственный строительный университет)
Устройство для испытаний на растяжение механических соединений тонкостенных металлических конструкций
Фиг. 4.

ПРИЛОЖЕНИЕ 9

Пример оформления реферата
(патент РФ № 103930 «Устройство для испытаний на растяжение механических соединений тонкостенных
металлических конструкций», авторы Катранов И.Г. и Кунин Ю.С., патентообладатель Московский государственный строительный университет)
Реферат
Устройство для испытаний на растяжение механических
соединений тонкостенных металлических конструкций

Предложенное решение относится к оборудованию, предназначенному для проведения статических и циклических испытаний соединений металлических конструкций на механических типах крепежа (вытяжных заклепках, самосверлящих и самонарезающих винтах, болтах, пистолетных дюбелях) на растяжение.

Поставленная задача решена тем, что устройство для испытаний на растяжение механических соединений тонкостенных металлических конструкций, содержит два стальных бруска, на которых закрепляются гнутые П-образные элементы, соединенные между собой механическим крепежом, со стороны противоположенной стороне крепления гнутых П-образных элементов, снабжены цилиндрическим хвостовиком, для закрепления в захватах испытательной машины, предназначенных для испытания стандартных цилиндрических образцов на растяжение. Крепление гнутых П-образных стальных элементов образца тонкостенных металлических конструкций осуществляется посредством болтов с гайками и шайбами, насквозь к брускам устройства. Бруски в верхней части имеют фаску для установки П-образных гнутых стальных элементов с учетом их радиуса изгиба (фаска обеспечивает плотное прилегание П-образных гнутых металлических элементов) и фрезерованные отверстия для размещения в них крепежных элементов.

Преимущества предлагаемого устройства заключаются в расширении возможностей устройства за счет испытания соединений на других типах механического крепежа, упрощении крепления устройства в захватах испытательной машины, повышении достоверности получаемых результатов испытаний за счет исключения возможности выборки зазоров и деформаций во вспомогательных элементах устройства.

БИБЛИОГРАФИЧЕСКИЙ СПИСОК

Административный регламент исполнения Федеральной службой по интеллектуальной собственности, патентам и товарным знакам государственной функции по организации приема заявок на полезную модель и их рассмотрения, экспертизы и выдачи в установленном порядке патентов Российской Федерации на полезную модель: утв. Приказом Министерства образования и науки Российской Федерации от 29 октября 2008 г. № 326 [Электронный ресурс]. – Режим доступа:[05.03.2012].

Близнец И.А., Леонтьев К.Б. Авторское право и смежные права. – М.: Проспект, 2011. – 416 с.

Борисов А.Б. Комментарий к ГК РФ. Части 1-2-3-4 (постатейный). – М.: Книжный мир, 2012. – 1184 с.

Гаврилов Э.П., Еременко В.И. Комментарий к части 4 Гражданского кодекса Российской Федерации (постатейный). – М.: Экзамен, 2009. – 640 с.

Гражданский кодекс Российской Федерации. Части первая, вторая, третья и четвертая (по состоянию на 1 октября 2010 г.). – М.: Проспект: КНОРУС, 2010. – 544 с.

Гражданский кодекс Российской Федерации. Часть 4: постатейный комментарий / под ред. П.В. Крашенинникова. – М.: Статут, 2011. – 926 с.

Джермакян В.Ю. Патентное право по Гражданскому кодексу Российской Федерации: постатейный комментарий, практика применения, размышления. – М.: ИНИЦ «ПАТЕНТ», 2011. – 568 с.

Зенин И.А. Комментарий к Гражданскому кодексу Российской Федерации части четвертой. – М.: ЮРАЙТ, 2008. – 627 с.

Кастальский В.Н. Основные новеллы части четвертой Гражданского кодекса Российской Федерации. – М.: Волтерс Клувер, 2007. – 297 с.

Китайский В.Е. Патентование изобретений и полезных моделей: пособие для заявителей. – М.: ИНИЦ «ПАТЕНТ», 2010. – 214 с.

Козырев В.Е., Леонтьев К.Б. Авторское право. Вводный курс. – М.: Университетская книга, 2007. – 256 с.

Колесников А.П. Справочник по вопросам охраны интеллектуальной собственности. – М.: ИНИЦ «ПАТЕНТ», 2009. – 296 с.

Корчагина Н.П., Моргунова Е.А., Погуляев В.В. Комментарий к части четвертой Гражданского кодекса Российской Федерации / под общ. ред. В.В. Погуляева. – М.: Юстицинформ, 2008. – 639 с.

Поделиться с друзьями: