Чтение онлайн

ЖАНРЫ

Полы, арки и перегородки в современном доме
Шрифт:

– будет ли теплый пол использоваться только в качестве подогрева, или он полностью заменит систему отопления;

– особенности помещения;

– мощность электропроводки;

– какой вид термостата необходим;

– теплоизоляцию какого вида предпочтительнее использовать в данном помещении;

– стоимость нагревательного кабеля.

Различные системы предназначены для установки на определенную площадь. При этом нужно учитывать, что нагревательную секцию помещают на расстоянии 10–20 см от стен для того, чтобы расположить в этой зоне мебель. Поэтому площадь обогрева следует определять с вычетом неотапливаемых зон.

Рассчитывая мощность, стоит обратить внимание на особенности помещения: первый или последний этаж, большое остекление,

покрытие пола толстыми плитами керамогранита и т. п. В таких случаях требуется увеличение мощности системы. Что касается деревянного пола или паркетной доски, то из-за низкой теплопроводности дерева стандартной удельной мощности теплого пола может быть недостаточно. Но ее также не следует излишне увеличивать, так как под деревянным покрытием в пространстве между лагами температура на поверхности кабеля, как правило, повышается и происходит нежелательный нагрев дерева.

Правила выбора датчика температуры

Различают два типа датчиков температуры – пола и воздуха. Выбор, как правило, делают в зависимости от того, показания какого датчика учитываются при работе всей системы.

Если теплый пол предназначен только для поддержания комфортной температуры пола, то целесообразно использовать датчик пола. Если важна температура воздуха и система заменяет основное отопление, то необходим датчик воздуха.

При монтаже терморегулятора с датчиком температуры воздуха для получения наиболее точных данных рекомендуется выбирать место установки, учитывая воздушные потоки и возможные сквозняки.

Правила выбора терморегулятора

Задача терморегулятора – обеспечивать поддержание или регулирование в помещении нужной температуры.

Согласно нормам предельно допустимая мощность бытовых терморегуляторов для теплого пола составляет 3 кВт.

Не рекомендуется устанавливать программируемый терморегулятор в ванной или туалете, так как мощность системы там, как правило, небольшая (не более 400 Вт), а отрегулировать настройку по времени включения и выключения проблематично: так как понадобится помещение может в любое время суток. Программируемые терморегуляторы подходят для использования в таких помещениях, как спальня или гостиная.

Также лучше не использовать дешевые «электромеханические» терморегуляторы, которые отличаются неточностью своего биметаллического термочувствительного элемента.

Наиболее популярны комнатные электронные термостаты с датчиком пола (рис. 9). Они отличаются простотой в использовании и надежностью.

Рис. 9. Подключение терморегулятора: 1 – фаза; 2 – ноль; 3 – датчик температуры пола; 4 – кабель нагревательный

Для обогрева зонированных помещений, например кухни-столовой или гостиной-столовой, рекомендуется обратить внимание на терморегулятор с управлением по двум независимым датчикам пола. Особенно это актуально при использовании разных типов напольного покрытия с различными теплопроводящими характеристиками.

Режимом обогрева можно управлять с помощью одного контроллера. Один такой теплопорт может независимо управлять двумя зонами обогрева.

В каждой зоне можно задавать программу подогрева на неделю. Последние новинки техники оснащены возможностью управления контроллером через СМС-сообщения.

Монтаж теплого пола

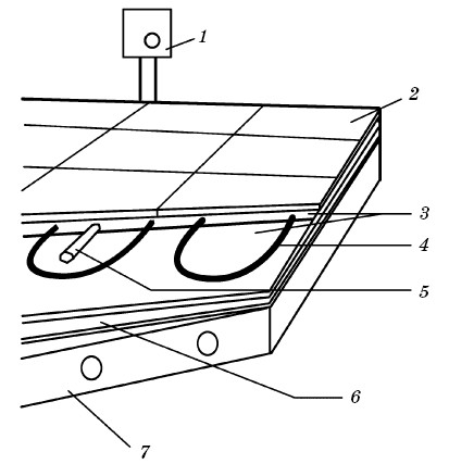
Система «теплый пол» состоит из нагревательной секции, термостата с датчиком температуры, специальных аксессуаров для облегчения и ускорения монтажа (монтажная лента,

гофрированная пластиковая трубка и т. п.), теплоизоляции (рис. 10).

Монтаж системы осуществляется на выровненный и очищенный черновой пол, на который предварительно уложена теплоизоляция, а поверх нее закреплена монтажная лента.

< image l:href="#"/>

1 – терморегулятор; 2 – керамическая плитка;3 – цементно-песочная стяжка; 4 – нагревательный кабель; 5 – трубка с датчиком пола; 6 – теплоизоляция; 7 – перекрытие

Именно с помощью такой ленты происходит крепление нагревательной секции. Для соединения с термостатом «холодные концы» необходимо вывести на стену. Предварительно следует определить место установки термостата, а затем уложить рядом с ним между двумя нитками нагревательного кабеля гофрированную трубку для установки датчика температуры.

Совет мастера

Рекомендуется сделать предварительный эскиз укладки, на котором должны быть указаны места расположения муфты и термодатчика. При возможном повреждении системы (например, при последующем ремонте) эта схема будет очень полезной.

Нагревательную секцию необходимо проверить на целостность с помощью обычного тестера. Затем следует приступить к заливке цементно-песчаной стяжки, толщина которой не должна превышать 3 см. Для полного затвердевания стяжки по требованию СНиП необходимо не менее 28 дней. Только после этого можно включать установленную систему «теплый пол». Также непосредственно перед включением рекомендуется с помощью специального тестера проверить целостность нагревательной секции. При первом включении желательно прогреть стяжку в течение суток для того, чтобы испарилась оставшаяся влага.

При использовании специальных сухих смесей для теплых полов вместо цементно-песчаной стяжки времени на затвердевание требуется гораздо меньше. Сухие смеси предпочтительнее использовать, если толщина стяжки будет составлять более 5 см, так как при неравномерном застывании могут появиться трещины.

При монтаже системы «теплый пол» важно правильно выбрать и установить теплоизоляцию. Благодаря ее использованию можно сэкономить до 30 % расходов на эксплуатацию. Особенно необходима установка теплоизоляции в случае, если теплый пол является основной системой отопления в помещении. В таких случаях рекомендуется использовать твердые пенополистирольные плиты толщиной 5-10 см. Поверх плит обязательно следует уложить парогидроизоляцию и залить «плавающую» стяжку, при которой раствор кладется не на поверхность основания, а на слой тепло– и/или звукоизоляционного материала.

Если нет возможности уложить толстый слой теплоизоляции, то рекомендуется использовать фольгированные материалы толщиной от 3 до 10 мм. Благодаря их применению можно сэкономить до 20 % электроэнергии. При этом нужно, чтобы материалы поверх фольги были проложены лавсаном, иначе слой фольги из-за наличия щелочной среды после заливки стяжки разрушится в течение месяца.

Монтаж электрического теплого пола запрещено производить при повышенной влажности и температуре ниже 0 °C.

При монтаже системы нельзя перегибать термопленку на 90° на участке шириной 5 см, а также накладывать ее полосы друг на друга. Прежде чем подключить пленку к сети, необходимо проверить линии отреза, изоляцию контактов, а также напряжение в сети. Категорически запрещено устанавливать и ремонтировать терморегулятор, не отключив напряжение.

Поделиться с друзьями: