Чтение онлайн

ЖАНРЫ

Повседневная жизнь русского гусара в царствование императора Александра I
Шрифт:

Доломан и ментик

Изготовить доломан было труднее всего, и потому пошив форменной одежды для гусара начинали с него. Доломан должен был «сидеть» на человеке, как перчатка. Потом к нему подгоняли чакчиры и ментик, который по покрою являлся копией доломана, только немного увеличенной. Потому на доломан казна отпускала 1 аршин 9 вершков сукна по 84 копейки, а на ментик такого же сукна — 1 аршин и 10 вершков {17} .

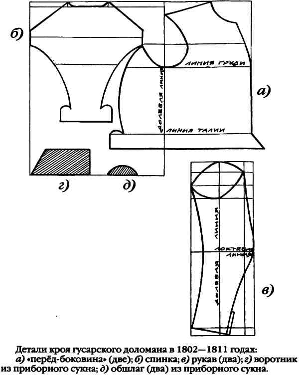
Крой доломана и ментика состоял из следующих частей (см. рис.):

а) две одинаковые детали «перёд-боковина»;

б) спинка;

в) два рукава, каждый

из двух равных по ширине деталей;

г) воротник;

д) два обшлага.

Никаких вытачек на доломане не делали, и тем не менее он должен был без малейших складок или провисания ткани облегать плечи, грудь и спину гусара. Чтобы добиться этого, сукно, как уже говорилось выше, растягивали по фигуре, применяя увлажнение и утюжку. Кроме того, особую роль играли два спинных шва. Только правильно определив их соотношение и кривизну, можно было «посадить» мундир на человека. На полковых швальнях начала XIX века это делали просто: солдат надевал вчерне сметанную куртку на себя, а его товарищи, скалывая детали булавками, прибавляли или убирали ткань.

Впоследствии для построения выкройки гусарского доломана стали применять сложные вычисления объемов (требовалось снять 12 мерок с верхней части фигуры) и методы пропорциональной кройки. Так шили эти мундиры уже в начале XX века, когда в русской армии (в 1907 году) вновь были введены гусарские полки. Тогда в воинские части поступила книга «Полный академический курс кройки мужского платья Первого Вспомогательного Общества Санкт-Петербургских закройщиков» (СПб., 1906–1908), где в разделе «Доломан для офицеров гусарских армейских полков» (часть III, с. 24–25, рис. 9) этот процесс был описан со всеми возможными подробностями и дана сама выкройка (см. схему на с. 148).

Доломан же эпохи Александра I имел несколько особенностей.

Во-первых, его длина определялась по росту человека. Гусар приставлял ладонь к пупку снизу, и эта линия и являлась нижней границей кроя. Во-вторых, на спине куртка имела два выступа, похожих на крылышки. Их высота достигала 2 вершков (около 9 см), а ширина — 5–6 см, смотря по толщине фигуры. «Крылышки» служили для поддержания кушака. В-третьих, проймы рукавов делали довольно высоко, и сами рукава как бы заходили на плечи. Из-за этого подмышками набегали одна-две небольшие складки, но зато когда гусар поднимал руки вверх, полы доломана (в отличие от современных курток) не сдвигались, он оставался на своем месте.

Рукава доломана, согласно моде того времени, делали узкими и длинными. Слегка расширяясь книзу, они закрывали почти половину ладони. Сбоку шел разрез длиной около 12 см и потому рукав, расстегнув на нем крючки, можно было легко закатать наверх. Рукава нижних чинов имели красные кожаные накладки на локтях, которые способствовали лучшей сохранности одежды.

Воротники на мундирах с 1802 по 1812 год делали очень высокими (сзади — до 11 см, спереди — до 9 см) и незастегивающимися. Такой воротник из сукна и холста, проклеенных рыбьим клеем, был негнущимся и жестким, держа голову гусара словно в ящике. В начале 1812 года в русской армии перешли на другие воротники: более низкие, застегивающиеся спереди на три крючка и плотно облегающие шею. Чтобы правильно вшить этот воротник, требовалось немалое портновское искусство.

Когда доломан был подогнан по фигуре, его начинали отделывать шнуром и пуговицами.

Гусарский шнур на музейных образцах этого времени имеется двух видов: плоский, сплетенный «косичкой» (доломан и ментик Павлоградского полка в Государственном историческом музее) и круглый, скрученный (доломан Сумского полка в Музее Суворова). Двумя рядами шнура с узорами («гусарский узел» из трех колечек) у рядовых обшивали воротник, всю куртку по периметру, обшлага и края рукавов. Тремя рядами шнура с узорами обкладывали спинные швы и «крылышки». Расшивка на груди у армейских гусар состояла из 15 рядов двойного шнура (иногда рядов было и меньше; это зависело от роста человека). На полную расшивку доломана уходило 30 аршин шерстяного шнура по 1 копейке за аршин и 23 аршина гарусного шнура по той же

цене для ментика.

Гусарские пуговицы являлись одним из главных украшений мундира и были весьма своеобразными. Сферические пустотелые пуговицы-шарики у армейских гусар «дутые», то есть спаянные из двух штампованных половинок (диаметр пуговицы около 20 мм), шли на центральный ряд и служили для застегивания ментика и доломана. Пуговицы полусферические (одна штампованная половина с припаянной «ножкой» — петелькой, диаметр около 15 мм {18} ) шли на боковые ряды. Сферических пуговиц на один комплект «доломан-ментик» требовалось 30 штук, полусферических — 60 штук

Изготовление пуговиц стоило дорого. Цена сферической пуговицы достигала 8 копеек, полусферической — 4 копеек, гусарам надо было их беречь, так как один комплект пуговиц им выдавался на… 20 лет. Это означало, что, получая каждые два года доломан и ментик, нижние чины спарывали со старых мундиров пуговицы и переставляли их на новые вещи. В случае потери пуговиц гусары должны были покупать их на свои деньги, казна эти траты не компенсировала.

Расшитый шнурами и пуговицами доломан и ментик ставили на подкладку. Ментик имел подкладку из некрашенной каразеи (2 аршина по 24 копейки каждый). В его рукава вшивали холст (2 аршина по 6 копеек каждый), на грудь и спину — клеенку (1 аршин по 7 копеек). Для меховой отделки ментика использовали овчинные смушки (75 копеек за весь кусок). У доломана подкладка была более простой, холстинной (4 аршина по 6 копеек каждый). На шитье одного предмета униформы, нитки и воск для ниток казна отпускала солдату 12 копеек.

Для различия чинов и ментик, и доломан украшали особыми деталями. Трубачи имели «раковины» на плечах, отделанные так называемым басоном (шерстяной тесьмой белого или желтого цвета шириной 13–14 мм). С 1809 года этот же басон выкладывали у них по всем швам мундира, на что уходило 15 аршин такой тесьмы ценой по 8 копеек за аршин. Унтер-офицерам полагалось нашивать на мундир золотой или серебряный галун шириной в полвершка (22 мм) и ценой 90 копеек за аршин. Требовалось 2 аршина (142 см) галуна на обшлага и воротник доломана (до 1809 года галун нашивали по нижнему краю воротника, после — по верхнему краю). На ментике галун помещали над меховой обшивкой рукавов.

Цвет меха также использовали для различия чинов. По установлению 1802 года рядовые имели отделку из белой овчины, унтер-офицеры — из черной, офицеры — из серых крымских мерлушек (похоже на современный каракуль). Но к 1816 году эта стройная система претерпела изменения. В Сумском, Белорусском, Мариупольском, Елисаветградском и Иркутском полках у рядовых появился черный мех, что, конечно, было более практичным, потому что белая овчина пачкалась быстрее и теряла свой вид. Кстати говоря, в ноябре 1826 года белый мех на ментиках рядовых был повсеместно заменен черной смушкой.

Само изготовление доломана для рядового составляло 2 рубля и 2 копейки, доломана для трубача — 3 рубля 22 копейки, доломана для унтер-офицера — 3 рубля 82 копейки.

Рядовому лейб-гвардии Гусарского полка этот предмет обмундирования, имевший более богатую расшивку шнурами и тесьмой, обходился гораздо дороже:

«Доломанов строевым чинам по числу ментий; на каждый сукна повеленного цвета по 1 аршину 9 вершков, за аршин 3 руб.; на подкладку холста 4 аршина 8 вершков, аршин по 6 коп.; клеенки 1 аршин по 7 коп.; тесьмы гусарской широкой 2 аршина 8 вершков по 12 коп.; узкой 9 аршин 9 вершков по 8 коп.; снурка гусарского 32 аршина по 1 коп. аршин; на шитье и нитки по 5 коп.; итого за один 6 рублей 45 и 3/4 коп.; на локти у доломанов и на обшивку около петель и крючков, по образцу кожи красной к каждому на 20 коп… К тому доломану пуговиц медных литых: больших 17, каждая по 8 коп.; меньших по 34, каждая по 4 коп.; а всего на один доломан 2 рубля 72 коп… К тому же доломану крючков железных с петлями, к воротнику одна пара да к рукавам 10 пар, за портище (в портище — 12 пар. — А.Б.) по 3 коп…» {19}

Поделиться с друзьями: