Чтение онлайн

ЖАНРЫ

Пулемет, бомбомет, миномет и ручные гранаты. Их описание и обращение с ними
Шрифт:

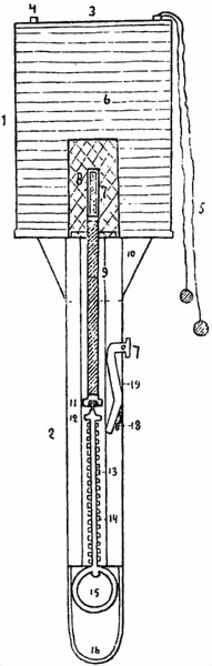
2) Вставить в отверстие на дне корпуса (у горловины) запал, так чтобы капсюль (11) торчал наружу.

3) Подготовить ручку, для чего, обтерев ее от

сала, продеть палец в кольцо ударника (15) и потащить его до тех пор, пока внутри рукоятки что-то не щелкнет. Это у нас ударник взвелся на боевой взвод. После этого надо вставить предохранительную чеку в отверстие на кнопке (17).

4) Вставить ручку в горловину. На конце ручки есть два пружинных ушка; их надо прижать и, вставляя рукоятку, направлять ее так, чтобы ушки пришлись против прорези горловины, в которые они и выскочат, как только рукоятка войдет на свое место.

5) Закрепить ушки, продев в них чеки. Снаряженные таким образом гранаты подносят к проволочным заграждениям, где устраиваются окопчики, о которых мы уже говорили. Гранаты раскладываются рядом, причем необходимо наблюдать,

чтобы веревочки с грузинками не были спутаны до бросания. Когда все готово, гранату берут в правую руку, наложив большой палец на кнопку спускного механизма, левой рукой вытаскивают предохранительную чеку из-под кнопки и, отведя правую руку назад, размахнувшись, нажимают на кнопку. Спусковой механизм приходит в действие и ударник соскакивает с боевого взвода. Торопиться не следует при бросании, так как от нажима на кнопку до взрыва гранаты проходит 10–12 секунд. От взрыва гранаты получается картина. изображенная на последнем рисунке.

Рис. 20. Взрыв ручной гранаты системы Новицкого и Федорова.

Поделиться с друзьями: