Чтение онлайн

ЖАНРЫ

Содержательное единство 2007-2011
Шрифт:

– журналист,

– следователь и

– аналитик элиты,

и если эти описания противоречат друг другу, то кто-то из них прав, а остальные – неправы.

Относится ли этот стереотип восприятия к оружейному конфликту, который я рассмотрел в книге "Слабость силы", к конфликту вокруг "Трех китов", который я еще собираюсь рассмотреть, или к описанию тех или иных событий, – он одинаково опасен.

И пока давайте просто договоримся, что это все разные истории.

Истории с Ниязовым-негодяем и его добродетельными врагами…

Истории с добродетельным Ниязовым и его врагами-негодяями…

Истории с преступником Ниязовым и стражами закона…

Истории со стерегущим

закон Ниязовым и воюющими с ним преступниками…

Всё это истории с разными Ниязовыми. Ниязовым-1, Ниязовым-2, Ниязовым-3 и так далее. Дело не в том, какая история правдива, а в том, что это разные Ниязовы. Мой Ниязов, скажем так – Ниязов-25 – это элитный игрок. Но дальше люди спросят: "А какой из 25 Ниязовых – реальный?". Потому что, по мнению этих людей, если один из Ниязовых – реальный, то все остальные – ирреальные, то есть основанные на ложных способах описания. Ложных данных, ложных интерпретациях и так далее. В такой картине опять присутствуют истина и ложь. А элитная игра адресует к более сложным логикам. Если вообще к логикам.

Может быть, я и стал бы доказывать, что мой Ниязов ближе к реальному, чем другие. Но я же не политической историей занимаюсь. Я не встречаюсь с близкими ему людьми, не копаюсь в архивах, не веду слежку за главными персонажами этой истории. А если бы я этим всем зачем-то занимался (непонятно, зачем, и всем сразу)? То и в этом случае я все равно не стал бы публиковать интимные интервью, рассекречивать секретные бумаги, обнародовать данные прослушивания и наружного наблюдения.

Я могу просто что-то интерпретировать. Интерпретация – в принципе неоднозначна и размыта. Она оперирует вероятностями, а не достоверностями. Она ближе к квантовой механике, чем к механике Ньютона. Но это не значит, что она бессмысленна. Интерпретация предполагает ракурс, жанр. Нельзя интерпретировать сразу во всех жанрах или интерпретировать "вообще". То, что я здесь предлагаю, – это интерпретация. Но не бессмыслица.

Итак, мы должны отнестись как-то к событию под названием "смерть человека" (рис.2).

А поскольку лидер умирает, а игра продолжается, то речь идет о секретности, не имеющей срока давности. Вы никогда не получите правдивой информации о смерти Сталина. Никогда не получите правдивой информации о смерти Рузвельта. И так далее. Но и к этому не сводится специфика события "смерть лидера", отличающая это событие от события "смерть человека". При том, что лидер – это, конечно же, человек. И ничто человеческое ему не чуждо. А нет ничего более человеческого, чем смерть человека.

Люди смертны. Ниязов – немолодой человек. От остановки сердца умирают и молодые люди. Поэтому не надо сходу трактовать любую ситуацию как заговор. Но нельзя и приравнивать смерть обычного человека и смерть влиятельного – значимого для мира и региона – политика. Ниязов именно такой политик. Контролируемая им страна – важнейшая "фишка" в геоэкономической и геополитической игре. Когда умирает, причем внезапно, политик такого масштаба, то ситуация, что называется, "фифти-фифти". Может быть, сам умер, а может быть, убили. Точнее, помогли умереть.

И тут сразу приходится еще кое-что оговаривать. Говорят, что демократический президент боится общественного мнения, а авторитарный лидер, раздавивший оппозицию, ничего не боится. Это, безусловно, не так. Авторитарный лидер раздавил оппозицию с чьей-то помощью. И теперь он зависит от тех, с чьей помощью он эту самую оппозицию раздавил. Известный феномен Тараса Бульбы: "Я тебя породил, я тебя и убью".

Можно опередить

того, кто готовится этот сюжет применить к тебе, и своевременно раздавить "раздавителя". Но, опять же, чьими-то руками. Это не меняет коллизии.

Можно всех "развести" и держать баланс. Но тогда ты зависишь от баланса и тех, с чьей помощью ты держишь этот баланс. Зависимость – это такая же фундаментальная человеческая коллизия, как и смерть. А для авторитарного политического лидера зависимость – это гипертрофированная коллизия. И это надо понимать.

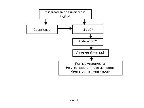
Далее, авторитарный лидер, раздавивший оппозицию, не может быть свергнут. Значит ли это, что он неуязвим? Здесь, опять же, действует логическое заблуждение (рис. 3).

Здесь мы снова сталкиваемся с ложным логическим стереотипом, согласно которому политический лидер может быть уязвим или неуязвим (рис.4).

На самом деле, нет этой альтернативы. А если еще точнее, то неуязвимости не бывает. Бывает разная уязвимость. Авторитарный лидер не боится импичмента. Но он боится повара, врача, начальника личной охраны и т.д.

А теперь еще раз всмотримся в публично предъявляемые факты. Понимая, что они, по крайней мере отчасти, ложные. Но это не значит, что их нельзя интерпретировать.

Говорится, что Ниязов был больным человеком. Давайте посмотрим, что по этому поводу говорится. Может быть, говорится полная ахинея. Но важно другое. Даже если это ахинея, то как она соотносится с основным тезисом? (рис.5).

Агентство "РИА Новости" уточнило, что в 1997 году Ниязов перенес операцию по аортокоронарному шунтированию, сделанную в Германии.

У меня есть много друзей, перенесших такую операцию. Они живут и работают по 18 часов в день.

Сообщалось также, что у Ниязова была операция по удалению катаракты.

Вы знаете случаи, когда умирают от удаления катаракты?

Сообщалось также, что у него была операция по удалению тромба из вены.

И что? Тромб ведь удалили! И наверное, в лучших клиниках. Если бы его не удалили – тогда другое дело.

Туркменская оппозиция утверждала также, что Ниязов был болен диабетом.

Но ведь не раком!

Список перечисляемых болезней никак не тянет на то, чтобы назвать Ниязова фигурой, находящейся в зоне экстремального медицинского риска. А в зоне обычного риска находятся все люди. Мы утверждаем только то, что экстремального риска нам не предъявлено. А если бы он был – его бы обязательно предъявили.

Но к этому анализ никак сводиться не может. Если мы анализируем элитную игру, то, кроме обстоятельств смерти, мы должны анализировать атипичные политические обстоятельства.

III.2. Атипичные политические обстоятельства

В соответствии с Конституцией Туркмении, если президент не может исполнять своих обязанностей (в том числе, в связи со смертью), то до президентских выборов полномочия переходят к председателю парламента (в данном случае – Овезгельды Атаеву).

Однако 21 декабря в Ашхабаде прошло экстренное заседание Совета безопасности. Подчеркиваю – не парламента, а Совета безопасности! Совета силовиков. На этом Совете, вне всяких конституционных норм, временно исполняющим обязанности президента Туркменистана был назначен вице-премьер правительства, министр здравоохранения и медицинской промышленности Гурбангулы Бердымухаммедов.

Поделиться с друзьями: