Чтение онлайн

ЖАНРЫ

Шрифт:

При сегодняшней разнородности мнений касательно относительных достоинств систем переменного и постоянного тока огромное значение придается вопросу, могут ли переменные токи успешно применяться в работе моторов. Трансформаторы, со всеми их преимуществами, дали нам сравнительно совершенную систему распределения. И хотя, как во всех областях техники, желательны еще многие усовершенствования, в этом направлении осталось сделать сравнительно немного. Передача энергии, напротив, практически полностью ограничена использованием постоянных токов, и несмотря на то, что для использования переменных токов было предпринято множество усилий, они, по крайней мере насколько известно, не дали желаемого результата. Из разнообразных моторов, приспособленных для работы в цепях переменного тока, отмечались следующие: 1. Последовательный мотор с разделенным полем. 2. Генератор переменного тока, поле которого возбуждается постоянными токами. 3. Мотор Элиу Томпсона. 4. Мото р с комбинированным переменным и постоянным

током. И еще два мотора этого вида пришли мне в голову. 1. Мотор, одна из цепей которого подключается последовательно с генератором, а другая — во вторичную цепь трансформатора. 2. Мотор, у которого цепь якоря подключена к генератору, и обмотки возбуждения замкнуты на себя. Эти я. впрочем, упоминаю лишь мимоходом.

Предмет, который я сейчас имею удовольствие представить вашему вниманию, — это новая система распределения и передачи электрической энергии посредством переменных токов, дающая особые преимущества, особенно в плане моторов, которая, я уверен, сразу же даст превосходную применимость этих токов для передачи энергии и покажет, что многие результаты, до сих пор недосягаемые, с их применением достигаются; результаты, которые столь желательны в практической работе подобных, систем, и которые недостижимы при посредстве постоянных токов.

Прежде чем вдаваться в детали описания этой системы, я думаю, необходимо сделать несколько замечаний относительно определенных условий, присутствующих в генераторах и моторах постоянного тока, которыми, хотя они и хорошо известны, часто пренебрегают.

В наших динамо машинах, как известно, мы генерируем переменные токи, которые выпрямляем посредством коммутатора, этого довольно сложного устройства, и, можно так сказать, источника большинства проблем, возникающих в работе этих машин. Далее, токи, выпрямленные таким образом, не могут использоваться в моторе, но они должны — и опять посредством подобного ненадежного устройства, — быть вновь преобразованы в свое первоначальное состояние — переменный ток. Функция коммутатора чисто внешняя, и пи в коей мере не влияет на внутреннюю работу машин. Следовательно, на самом деле, все машины — это машины переменного тока, так как токи предстают в виде постоянных только во внешней цепи во время их передачи от генератора к мотору. И только ввиду этого факта переменные токи должны были привлечь к себе внимание как более непосредственное применение электрической энергии, и применение постоянный токов становилось бы оправданным, только если бы были динамо, которые сразу первоначально генерируют их, и моторы, которые бы приводились в действие непосредственно такими токами.

Рис. 1. Рис. 1а.

Но работа коммутатора в моторе двойная; во-первых, он обращает токи, идущие через мотор, и во-вторых, он выполняет, автоматически, прогрессивный сдвиг полюсов одной из его магнитных составляющих. Далее, допуская, что обе этих бессмысленных операции, то есть выпрямление переменных токов в генераторе и реверсирование постоянных токов в моторе, исключаются, все равно было бы нужно, для того, чтобы вызвать вращение мотора, получать прогрессивное смещение полюсов одного из его элементов, и сам собой встает вопрос — Как выполнить эту операцию непосредственно с помощью воздействия переменного тока? Теперь я перейду к объяснению того, как это выполняется.

Рис. 2. Рис. 2а.

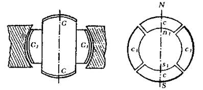
В первом эксперименте барабанный якорь имел две обмотки под прямыми углами друг к другу, и концы этих обмоток подключались к двум парам изолированных контактных колец, как это делается обычно. Кольцо было сделано из тонких изолированных пластин листового железа и обмотано четырьмя обмотками, каждые две противоположные из которых соединялись друг с другом так, чтобы давать свободные полюса на диаметрально противоположных сторонах кольца. Остальные свободные контакты обмоток подключались к контактному кольцу якоря генератора, так что образовывалось две независимые цепи, как показано на рисунке 9. Теперь можно видеть, какие результаты достигались подобной комбинацией, и я буду ссылаться в этом отношении на схемы на рисунках с 1 до 8а. Когда поле генератора возбуждается независимо, вращение якоря устанавливает в обмотках ССтоки, меняющиеся по силе и направлению хорошо известным образом. В положении, показанном на рисунке 1, ток в обмотке С нулевой, тогда как через обмотку С 1проходит ее максимальный ток, и наши соединения устроены так, что кольцо намагничивается обмотками С 1 С 1,как показано буквами N S на рисунке 1а, а намагничивающий эффект обмоток с с нулевой, потому что эти обмотки включены в цепь обмотки С.

На рисунке 2 обмотки якоря показаны в следующем положении, когда уже совершена одна восьмая одного оборота. Рисунок 2а иллюстрирует соответствующие магнитные состояния кольца. В данный момент обмотка С 1генерирует

ток того же направления, что и перед этим, но слабее, создавая в кольце полюса N1 S 1;обмотка с также генерирует ток того же направления, и соединения таковы, что обмотки с с создают полюса N S,как показано на рисунке 2а. Результирующая полярность указана буквами N S, и можно наблюдать, что полюса кольца сдвинулись на одну восьмую его периметра.

На рисунке 3 якорь прошел одну четвертую оборота. На этой фазе ток и обмотке С максимален, и его направление таково, что дает полюса N S, как на рисунке За, при этом ток в обмотке С1 пулевой, эта обмотка находится в своем нейтральном положении. Полюса N S па рисунке За, таким образом, сдвинуты на одну четвертую окружности кольца.

Рисунок 4 показывает обмотки С Сеще более продвинутом положении, когда якорь прошел три восьмых оборота. В этот момент обмотка С пока что генерирует ток того же направления, что и раньше, но меньшей силы, создавая сравнительно более слабые полюса n s на рисунке 4а. Ток в обмотке С 1той же силы, но противоположного направления. В результате, он создает на кольце полюса N j Sj,как показано, и полярность N S, в итоге, при этом полюса сдвигаются на три восьмых периметра кольца.

На рисунке 5 пройдена половина оборота якоря, и возникающее в результате магнитное ноле показано на рисунка 5а. Теперь ток в обмотке Снулевой, а по обмотке С/течет ее максимальный ток, имеющий то же направление, что и перед этим; намагничивающий эффект, таким образом, обуславливается только обмоткой С/ с j,и следуя рисунку 5а, можно увидеть, что полюса N S сдвинулись на одну вторую окружности кольца. В ходе следующего полуоборота действия повторяются, как показано на рисунках с 6 по 8а.

Если посмотреть на схемы, становится ясно, что в ходе одного оборота якоря полюса кольца сдвигаются один ра з по его окружности, а каждый оборот вызывая те же эффекты, в результате быстрое вращение полюсов согласуется с вращением якоря. Если соединения любой из обмоток на кольце поменять на обратные, сдвиг полюсов будет происходить в обратном направлении, но действие будет точно тем же самым. Вместо того, чтобы использовать четыре провода, с тем же эффектом можно использовать три провода, из которых один является общим обратным проводом для обеих цепей.

Это вращение или верчение полюсов проявляет себя в целой серии любопытных явлений. Если аккуратно укрепленный на оси диск из стали или другого магнитного металла приблизить к кольцу, он приходит в быстрое вращение, при этом направление вращения меняется от положения диска. Например, если в снаружи кольца он будет вращаться в одну сторону, то внутри кольца направление вращения сменится на обратное, но при этом направление не будет меняться, если его поместить в положение, симметричное кольцу. Это объясняется просто. Каждый раз, когда полюс приближается, он индуцирует противоположный полюс в ближайшей точке диска, и в этой точке образуется притягивание; благодаря этому, по мере того, как полюс двигается, удаляясь от диска, на него действует тангенциальное тянущее усилие, и когда это действие повторяется постоянно, в результате возникает более или менее быстрое вращение диска. Поскольку тянущее усилие действует главным образом на ту часть, которая ближе всего к кольцу, вращение снаружи и внутри, или справа и слева, соответственно, происходит в противоположных направлениях, рисунок 9. При расположении симметрично кольцу, усилия на противоположных сторонах диска одинаковы, и вращения нет. Воздействие основано на магнитной инерции железа; по этой причине на диск из твердой стали воздействие гораздо более сильное, чем на диск из мягкого железа, так как последнее способно к очень быстрым изменениям магнетизма. Такой диск оказался очень полезным инструментом во всех этих исследованиях, поскольку он позволил мне обнаруживать любую нерегулярность работы.

Любопытный эффект также оказывается на железные опилки. Если поместить некоторое их количество на бумагу и держать ее с внешней стороны достаточно близко к кольцу, они приходят в вибрирующее движение, оставаясь на месте, хотя бумагу можно двигать туда и сюда; но при подъеме бумаги на определенную высоту, которая как представляется, зависит от интенсивности полюсов и скорости вращения, их сбрасывает в направлении всегда противоположном воображаемому вращению полюсов. Если бумагу с опилками положить горизонтально на кольцо и внезапно включить ток, легко можно наблюдать наличие магнитного верчения.

Поделиться с друзьями: