Чтение онлайн

ЖАНРЫ

Шрифт:

Впервые был замечен так называемый электрический феномен, выражающийся в притяжении и отталкивании между соизмеримыми телами, а также другие проявления действия этой силы. Но хотя они были известны нам многие столетия точная природа задействованного здесь механизма все еще остается неизвестной, и даже не получила удовлетворительного объяснения. Какой тип этого механизма? Мы не скрываем удивления при наблюдении двух магнитов, притягивающихся и отталкивающихся с силой в сотни фунтов при кажущейся пустоте между ними. В наших коммерческих динамо-машинах магниты способны удерживать в воздухе тонны веса. Но что значат даже эти силы, действующие между магнитами по сравнении) огромным притяжением и отталкиванием, производимым электростатической силой, величине интенсивности которой, очевидно, нет предела. В разряде молнии тела часто заряжаются до такой высокой разности потенциалов, что они отбрасываются с невообразимой силой, рвутся на части или распадаются на фрагменты. Но даже эти эффекты не сравнятся с притяжением и отталкиванием, существующими между заряженными атомами и молекулами, и которые достаточны для того, чтобы их скорость достигала многих километров

в секунду, так что при сильном столкновении тела раскаляются добела и испаряются. Особенно интересно для мыслителя, который интересуется природой этой силы, будет заметить, что несмотря на то, что действие между отдельными молекулами ли атомами происходит в любых состояниях, притяжение и отталкивание соизмеримых по величине тел предполагает наличие изолирующей среды. Так, если воздух, разреженный или нагретый, обнаруживает большую или меньшую проводимость, то действие между двумя заряженными телами практически прекращается, в то время как взаимодействие между отдельными атомами продолжает происходить.

Эксперимент может послужить иллюстрацией и средством показать другие интересные детали. Некоторое время назад я показал, что нить накаливания или провод, установленные в лампе и подключенные к одной из клемм вторичной катушки высокого напряжения вращаются, при этом верхняя часть нити накала описывает круг. Это колебание было очень энергичным, когда воздух в лампочке находился при обычном давлении, и стало менее энергичным, когда воздух в лампочке стал сильно сжат. Оно прекращалось полностью, когда воздух разрежался до такой степени, что приобретал относительно неплохую проводимость. Я установил, что при сильном вакууме в лампе колебаний не происходит. Но я предположил, что колебания, которые я приписал электростатическому действию между стенками лампы и нитью накала, будут иметь место и при сильном разрежении воздуха. Для того, чтобы проверить это в более благоприятных условиях, была сконструирована лампа, похожая на ту, что изображена

Рис 10. Она состоит из шара b, на шейке которого закреплена платиновая проволока W,к которой присоединена нить накала f. В нижней части шара трубка / окружает нить накала. Разрежение воздуха производилось обычно используемыми для этого приборами.

Эта лампа оправдала мое ожидание в том, что нить накала должна вибрировать и раскаляться при включении тока. Она также показала другую интересную особенность, имеющую отношение к предыдущим замечаниям. А именно: когда нить накала оставалась раскаленной некоторое время, узкая трубка и пространство внутри нее нагревались до высокой температуры. При этом газ в трубке становился токопроводящим, а электростатическое притяжение между стеклом и нитью накала становилось очень слабым, или исчезало совсем, и нить накала успокаивалась. Когда нить накала успокаивалась, она накалялась еще более сильно. Вероятно, это происходит из-за того, что она занимает положение в центре трубки, где молекулярная бомбардировка была более интенсивна, а также отчасти из-за того, что отдельные столкновения были более сильными, и никакая часть задействованной энергии не преобразовывалась в механическое движение. Поскольку, в соответствии с общепринятой точкой зрения, в этом эксперименте накаливание должно приписываться воздействию частиц, молекул, или атомов в нагретом пространстве, следовательно, как объяснение данному действию, эти частицы должны вести себя как независимые носители электрического заряда, погруженные в изолирующую среду. При этом нет силы притяжения между стеклом трубки и нитью накала, так как пространство в трубке, в целом, обладает электропроводностью.

В этой связи достаточно интересно наблюдать, как притяжение между двумя заряженными телами может прекратиться по причине ослабления изолирующего действия среды, в которую они погружены, и как между телами может возникнуть отталкивание. Это можно правдоподобно объяснить. Когда тела находятся на некотором расстоянии друг от друга в плохо проводящей среде, такой как слабо нагретый или разреженный воздух, и они вдруг заряжаются, то к ним передаются противоположные электрические заряды. Эти заряды более или менее уравниваются благодаря утечке через воздух. Но если тела заряжены одинаково, то у них меньше возможностей для такой утечки, следовательно, отталкивание, наблюдаемое в этом случае, будет сильнее, чем притяжение. Однако, как показал профессор Крукс, силы отталкивания в газообразной среде усиливаются молекулярной бомбардировкой.

О ТОКЕ ИЛИ ЯВЛЕНИЯХ ДИНАМИЧЕСКОГО ЭЛЕКТРИЧЕСТВА

; Насколько мне известно, такие эффекты возникают главным образом в результате изменений электростатической силы в изолированной среде, например, в воздухе. Когда такая сила воздействует на токопроводящее тело достаточно больших размеров, она вызывает внутри этого тела или на его поверхности движение электричества и создает электрический ток, который в свою очередь создает другой вид явлений. Некоторые из них я сейчас постараюсь Вам продемонстрировать. Для представления второго класса электрических эффектов, я позволю себе выбрать те их них, которые можно воспроизвести без обратной цепи, и надеюсь вызвать у Вас еще больший интерес тем, что представлю эти явления в более или менее новом аспекте.

В течение долгого времени, очевидно, в связи с отсутствием достаточного опыта работы с переменным током, бытовало мнение, что электрический ток представляет собой нечто циркулирующее в рамках токопроводящего тела. Поэтому, когда впервые стало ясно, что электрический ток может идти по токопроводящему пути даже если последний прерывается, то этот факт вызвал изумление. Более того, еще большее изумление вызвало то, что иногда легче обеспечить прохождение тока при таких условиях, нежели через замкнутый путь. Но эта старая идея постепенно угасла даже среди практиков, и вскоре была полностью забыта.

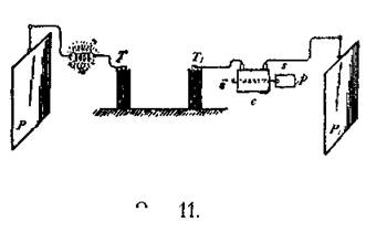
Если

подсоединить изолированную металлическую пластину Р,см. Рис. 11, к одной из клемм Тиндукционной катушки при помощи провода, то, несмотря на то, что эта пластина очень хорошо заизолирована, при подключении катушки к цепи, по проводам течет ток. Сначала мне хотелось представить Вам доказательства того, что при этом именно ток течет проводам. Для того, чтобы продемонстрировать это, вполне достаточно поместить между клеммои катушки и изолированной пластиной платиновую, или мельхиоровую проволоку W,которая под действием тока раскалится добела. Для такого опыта необходимы довольно большая пластина и электрические импульсы очень высокого напряжения и частоты. Другой способ состоит в следующем: возьмем катушку С, Рис. 11, содержащую большое количество витков тонкого изолированного провода и включим ее в цепь, по которой ток идет к пластине. Когда я подсоединил один конец катушки к проводу, ведущему к другой изолированной пластине Рj,а другой конец к клемме Tjиндукционной катушки, то, при активации всей цепи, через катушку пошел ток, а его присутствие можно было продемонстрировать самыми разными способами. Например, я вставляю в катушку железный стержень i. Поскольку ток обладает очень высокой частотой и некоторой силой, а при столь высоких частотах гистерезис и потери тока очень велики, то вскоре железный стержень нагреется до высокой температуры. Можно взять стержень определенного размера, изготовленного из слоистого металла, или цельный — существенного значения не имеет, а обычная металлическая проволока, толщиной 1/16 или 1/8 дюйма, вполне подходит для этих целей.

Во время работы индукционной катушки, ток проходит по дополнительной катушке, ичерез несколько секунд железная проволока i нагревается до температуры, достаточной, чтобы растопить сургуч, который нанесен на полоску бумаги, и которым последняя крепится к проводу. При этом бумага падает вниз. При помощи аппарата, который находится здесь, можно провести и другие, более интересные опыты такого рода. Для этого задействуется вторичная обмотка S,см. Рис. 12, которая изготовлена из толстой проволоки, намотанной на катушку, похожую на ту, которая использовалась в предыдущем эксперименте. В предыдущем эксперименте сила тока, протекающего через катушку С была очень низкой, тем не менее, благодаря наличию большого количества витков стало возможным возникновение сильного теплового эффекта на проволоке.

Если бы я пропустил этот ток через проводник с целью продемонстрировать эффект нагревания последнего, то, возможно, силы тока такой величины оказалось бы недостаточно для достижения желаемого результата. Но с катушкой, имеющей вторичную обмотку, я могу преобразовывать слабый ток, но с высоким напряжением, который

проходит через первичную обмотку Р,в ток с большей силой, но меньшим напряжением, который уже может вызвать ожидаемый эффект. В маленькую стеклянную трубку я поместил платиновую проволоку W,свернутую в змеевик. Такая форма проволоки обусловлена исключительно соображениями защиты ее от внешнего механического воздействия. На каждом конце трубки имеется впаянная клемма из толстой проволоки, с которыми соединены концы платиновой проволоки W.Я подключил клеммы вторичной катушки к клеммам трубки и, как и ранее, поместил первичную обмотку рмежду изолированной пластиной Pjи клеммой T1индукционной катушки. При замыкании цепи, как только индукционная катушка начинает действовать, платиновая проволока "w" мгновенно раскаляется, и может оплавиться, даже если она очень толстая.

Вместо платиновой проволоки в данном случае я использовал обычную 50-вольтовую лампу в 16 свечей. Как только я включил в работу индукционную катушку — нить накала лампы раскалилась. При этом нет необходимости использовать изолированную пластину, лампа (I, Рис. 13) раскаляется даже если пластина Pjотключена. Для того, чтобы снизить электростатическую индукцию, или для иных целей, можно также подключить вторичную катушку к первичной так, как это показано пунктирной линией на Рис. 13.

А сейчас я хотел бы заострить Ваше внимание на некоторых данных наблюдения за лампой. Первое, я отключил одну из клемм лампы от вторичной обмотки S.Как только в цепи появился индукционный ток, вспыхнул яркий свет. Этот свет образовался благодаря электростатической индукции. При охвате лампы рукой — свечение усиливается. Это объясняется тем, что емкость тела экспериментатора добавляется к емкости вторичной цепи. По своему эффекту вторичная обмотка эквивалентна металлическому покрытию, которое могло бы быть расположено рядом с первичной обмоткой. Если вторичную обмотку, или ее эквивалент — покрытие, расположить симметрично по отношению к первичной, то при обычных условиях электростатическая индукция будет равна нулю. Эт о происходит потому, что при использовании первичной обратной цепи, обе половины нейтрализуют друг друга. На самом деле, вторичная обмотка располагается симметрично по отношению к первичной, однако, когда только один конец первичной обмотки подсоединен к индукционной катушке, то действие двух ее половин становится не равнозначным. В результате, возникает электростатическая индукция и вспыхивает свет в лампе. Можн о почти полностью компенсировать действие двух половин первичной обмотки, если подсоединить ее другой, свободный конец к изолированной пластине, как в предыдущем эксперименте.

Поделиться с друзьями: