Чтение онлайн

ЖАНРЫ

Теннис для начинающих. Книга-тренер
Шрифт:

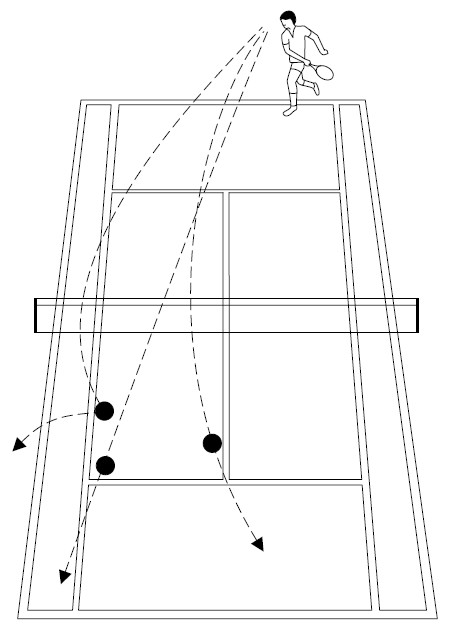
Рис. 4.36. Смэш

Основные их отличия таковы.

• Это удар с игры, а не с собственных рук. Он производится по высокому мячу, посланному соперником, а не после своего подбрасывания мяча как на подаче.

• Это удар обычно с половины корта, а не подача с задней линии.

• Мяч можно посылать в любую точку поля на стороне соперника, а не только в определенное поле, как это регламентировано правилами на подаче. Нет и второй попытки.

Кроме того, технически смэш выполняется совершенно по-другому.

Техника исполнения. Смэш производится с использованием континентальной хватки. Как только спортсмен видит, что соперник выполняет «свечу», он должен встать левым боком к сетке и вывести ракетку по самой короткой траектории за голову для замаха.

Локоть находится на уровне плеча, ракетка – на уровне шеи, левая рука указывает на мяч. Стоять нужно на носках готовыми к движению, «невкопанными» ногами. Все это надо сделать как можно раньше, ведь чем раньше вы подготовитесь к удару, тем точнее и сильнее он будет.

Итак, вы ждете мяч с ракеткой, заведенной за голову. Перед встречей мяча вес тела переносится на левую ногу, спортсмен встает на носки, вытягивается и в самой высокой точке наносит точный, неотразимый, победный удар по мячу. Мяч надо ожидать прямо над собой, так что, если вы его пропустите, он упадет вам на голову. Смэш выполняется как плоский удар без подкрутки, с небольшим сгибанием руки в запястье. После удара правая нога выдвигается вперед, а ракетка останавливается слева от туловища, как это происходит при плоской подаче.

Смэш отрабатывается сначала вне корта – партнер подбрасывает низкие мячи, но и с переходом на корт – сначала отрабатывается смэш по низким и плавно летящим мячам.

Встаньте для начала на расстоянии 1 м от сетки и отработайте смэш по более высоким и быстро летящим мячам.

Затем переходите к упражнениям у стенки, посылая мяч так, чтобы он шел к вам по высокой навесной траектории, позволяющей вам снова наносить удар, как показано на рис. 4.37.

После этого попробуйте выполнить смэш около линии подачи. Сначала необходимо научиться технически безупречно применять его по низким «свечам», по которым можно делать удары у линии подачи.

Рис. 4.37. Мяч идет по высокой навесной траектории

...

Внимание

Прежде всего учтите следующие моменты при обработке мяча и ударе:

• своевременный замах, подготавливающий удар заранее;

• удар по мячу центром плоскости ракетки;

• удар производится в наивысшей точке траектории движения руки с ракеткой в ней;

• левая рука показывает на летящий мяч, что помогает концентрации и правильно ориентирует тело;

• плоский удар без подкрутки отправляет мяч в правую или левую половину корта соперника – туда, где его нет.

Ошибки:

• подготовка к удару с опозданием;

• попытка выполнить удар с подкруткой;

• смэш с нижним замахом, как на подаче;

• удар мимо цели – вне корта или в пределах досягаемости соперника;

• хватка ракетки для удара справа;

• удар при согнутых ногах и с наклоном тела;

• удар справа или слева от головы, а не над ней.

Не забывайте также, что смэш – это победный удар, приносящий вам очко. В него следует не только вкладывать силу и выполнять его правильно, а еще нужно успеть рассчитать последствия для соперника, пока мяч летит к вам по высокой траектории. Времени для этого более чем достаточно.

Послесловие к технике исполнения стандартных ударов

Несмотря на множество всевозможных методик обучения, все же необходимо дать начинающему спортсмену не только представление о самих ударах, но и технику их исполнения так, как дают ее ведущие мастера тенниса и известные тренеры. Как уже говорилось выше, научиться теннису по учебнику невозможно, но эта книга будет вам в помощь, когда вы начнете тренироваться. Ваш тренер отметит упражнения и технику, которые соответствуют вашим особенностям, отменит то, что не соответствует, добавит свое. Закончив эту главу, вам нельзя переходить к следующей, пока не отточена техника исполнения описанных в ней наиболее распространенных, базовых ударов, – лишь когда тренер допустит вас к отработке специальных ударов, вы продолжите изучение их с использованием этой книги.

Глава 5 Специальные удары

Эти удары наличествуют в игре уже более опытных спортсменов, новичкам же необходимо лишь иметь начальное представление о них, изучать удары в свое время и под наблюдением тренера, учиться выполнять в игре сначала отдельно и только потом серийно.

Методик обучения этим ударам великое множество в силу сложности таких ударов, вашему тренеру предстоит подобрать «ключик» к ним именно с учетом ваших особенностей.

Начинающие теннисисты

могут выполнять удары по отдельности, но с трудом применяют серийно, особенно в игре, поэтому дальше вы увидите только описание ударов, а техника их исполнения и отработки будет дана в сжатом виде, чтобы вы имели начальное представление о них, знали характерные ошибки, встречающиеся у новичков. Удары для удобства систематизированы по группам и расположены в обычном порядке их изучения на тренировках.

Отработка техники исполнения специальных ударов

Специальные удары – это:

• удары с подкруткой;

• удары, выполняемые двумя руками;

• удары с хода;

• «свечи»;

• смэши в прыжке;

• укороченные удары;

• удары с полулета;

• удары с подачи;

• обводящие удары.

...

Внимание

Самовольно перейдя к попытке исполнения этих ударов, не освоив хорошенько предыдущие уроки, спортсмен может нанести себе непоправимый вред! Его надо будет переучивать, если он решит сам научиться этим сложным ударам по книгам или видео. Помните это!

Специальные удары отличаются от основных ударов следующим:

• местом соприкосновения мяча с ракеткой;

• степенью и видом подкрутки мяча;

• траекторией его полета и тактической направленностью.

Чем выше класс теннисиста, тем больше в его арсенале различных сложных и сложнейших специальных ударов, тем чаще спортсмен применяет их в игре. Он делает это не для того, чтобы показать всем, какой у него высокий класс, – его принуждает к этому мастеровитый соперник. Если не реагировать должным образом, можно проиграть.

Даже мастера высочайшего класса владеют одними ударами лучше, а другими хуже. Они сами выбирают то, что наиболее эффективно в игре против конкретного соперника, что отвечает их стилю игры.

У начинающего игрока, как ни прискорбно это ему сообщать, своего стиля пока нет.

Однако, как только вы станете играть матчи, как только начнете применять по мере освоения специальные удары, этот стиль появится, так что, пройдя азы большого тенниса, не имея никаких «белых пятен» в выполнении основных ударов, вы теперь приступаете… к другим азам. К изучению и отработке ударов, формирующих ваш собственный неповторимый стиль игры в теннис.

Что такое подкрутка

Если мяч отбить плоско, он полетит без вращения. По прямой траектории, на которую оказывает влияние лишь сопротивление воздуха и сила притяжения. Однако, если отбить его не центром ракетки, да еще сообщив в момент удара крутящее движение, мяч полетит вращаясь (рис. 5.1). Это вращение и его характер окажут влияние на траекторию полета мяча. Он вдруг полетит с отклонением в сторону или по явно уходящей вниз траектории или, наоборот, будет лететь дальше обычного плоского удара, вращаясь в воздухе, в точности как у футболистов, бьющих ногой не по центру мяча, или мастеров бильярда, наносящих удар не в центр шара.

Рис. 5.1. Мячи с подкруткой

Это еще не все. В силу того что мяч вращается в момент удара о корт, разным будет и отскок.

На рис. 5.2 хорошо видно, как ведет себя мяч без подкрутки (верхняя схема), с верхней и нижней подкруткой (постарайтесь определить сами, где какая на схемах ниже).

Что вытворяет мяч, летящий с боковой подкруткой, изображено на рис. 5.3. Задача соперника – точно отбить – многократно усложняется, как, собственно, труднее становится и ваша задача – не просто нанести удар, а закрутить мяч, да так, чтобы он не вышел за пределы поля до отскока. Это большое искусство, и дорога к нему тяжела и терниста. Только самые упорные и трудолюбивые проходят ее до конца.

Рис. 5.2. Мяч без подкрутки

Рис. 5.3. Мяч с боковой подкруткой

Подача с верхней подкруткой

Для начинающих теннисистов эффективная подача имеет решающее значение, ведь вы играете не с великими мастерами, а с такими же начинающими игроками, как вы сами.

Если у вас такие подачи, что соперник не может с ними ничего сделать, это залог победы, даже если на его подачах и в игре, на отбитых им ваших подачах, вы будете играть на равных.

Так вот.

Если вы будете подавать сильно, снизится точность подачи и вы будете терять очки.

Поделиться с друзьями: