Чтение онлайн

ЖАНРЫ

Внутренняя отделка. Современные материалы и технологии
Шрифт:

Рис. 15. Облицовка стен по деревянному каркасу

Для улучшения тепло– и звукоизоляции между рейками можно укладывать слой стекловаты.

Затем деревянный каркас обшивается гипсокартонными листами, используя шурупы-саморезы для дерева длиной не менее 30 мм с шагом не менее 25 см. работа ведется в двух взаимно перпендикулярных направлениях или от середины к краям. Между листами гипсокартона должен оставаться зазор величиной 5…7 мм для последующей отделки швов.

Конструкция с металлическим профильным каркасом представляется более надежной, т. к. качество работ контролируется поэтапно: по завершению монтажа каркаса, затем монтажа ГКЛ или ГВЛ и устройства стыков. Конструкция легко обшивается вторым и последующими слоями листов (при обоснованной необходимости), облегчается прокладка электропроводки и не является трудоемкой установка большого числа монтажных коробок под электро-, телевизионные и телефонные розетки. Возникающий

зазор между стеной и облицовкой может заполняться минеральной ватой, что является дополнительной тепло– и звукоизоляцией.

Изделия из металлических профилей, необходимые для технологической облицовки стен, устройства потолка и перегородок, выпускаются предприятиями промышленной группы «КНАУФ». Поставляются на рынки профили, изготовляемые и другими отечественными предприятиями.

Металлические профили производятся методом холодного проката из оцинкованной стальной ленты толщиной 0,56…0,6 мм.

Рис. 16. Основные профили и их сечения

Основные виды изделий (рис. 16): профиль направляющий (ПН), профиль направляющий потолочный (ПНП), профиль стоечный (ПС), профиль потолочный (ПП), профиль угловой (ПУ). Размеры этих изделий приведены в табл. 7.

Таблица 7 Виды и размеры профильных изделий

Каркас собирается из оцинкованных профилей: стоек и направляющих с обязательным креплением к стене кронштейнами (рис. 17). В качестве вертикальных стоек используются потолочный профиль ПП, который монтируется в паре с соответствующим направляющим профилем ПНП. Кронштейны в основном выполняются из прямых подвесов и крепятся к стойке самонарезными шурупами. Между собой стоечные и направляющие профили закрепляются просекателем методом «просечки с отгибом».

Рис. 17. Узел основания каркаса

Полки стоечного профиля по всей длине имеют три продольные канавки, при этом средняя указывает место стыка гипсокартонных листов, а две боковые центрируют вворачиваемые шурупы. В спинках профилей предусмотрены специальные отверстия, необходимые для прокладки инженерных коммуникаций внутри стены или перегородки. Эти спаренные отверстия расположены у торцов профилей и имеют диаметр 33 мм.

Технология монтажа заключается в следующем. На основании пола и потолка выполняется разметка. Отмечается положение направляющих, стоечных профилей, места крепления анкеров для установки стоечных профилей. С целью минимизации отступа от стены в качестве стоек целесообразно применять узкий потолочный профиль ПП 60×27.

Перед установкой направляющих профилей на них следует наклеивать специальную уплотнительную ленту для шумозащиты металлических каркасов. Это может быть самоклеющая лента «Дихтунгсбант» шириной 60 и толщиной 3 мм или любая другая мелкопористая полимерная пленка.

К полу и потолку профили крепятся с помощью дюбелей, шаг установки дюбелей составляет 60 см. Потолочный направляющий профиль производят с готовыми отверстиями в стенке диаметром 8 мм и с шагом 25 см. Если ГКЛ предполагается облицовывать керамической плиткой, то шаг стоек необходимо уменьшить до 40 см, в остальных случаях допускается шаг установки стоек 60 см (рис. 18). Для улучшения звукоизоляции между кронштейнами и стеной или другой несущей конструкцией подкладывают отрезки уплотнительной ленты.

Рис. 18. Раскладка ГКЛ при облицовке

После этого потолочные профили вставляются в направляющие и закрепляются в подвесах. Выступающие концы подвесов отгибаются. Правильность установки потолочного профиля необходимо проверять уровнем. Длина стоек из потолочного профиля должна быть на 3…5 мм меньше расстояния между верхними и нижними направляющими профилями. После установки каркаса к нему крепятся ГКЛ с помощью самонарезных прокалывающих шурупов длиной не менее 25 мм. Крепежные работы необходимо вести от угла ГКЛ в двух взаимно перпендикулярных направлениях с шагом не более 25 см, при этом, не допуская деформации листа. Шурупы должны отстоять от кромки листа на расстояниях указанных на рис. 19.

Рис. 19. Правильное крепление ГКЛ к стойке

Листы монтируются в вертикальном положении. Если высота помещений превышает длину листа, то в местах горизонтальных торцевых стоков устанавливаются горизонтальные отрезки направляющего профиля. Торцевые стыки листов должны быть смещены по вертикали не менее чем на 40 см. Торцы ГКЛ обязательно обрабатываются обдирочным рубанком с углом наклона режущего лезвия 30° на глубину 2/3 толщины листа. Стыковка ГКЛ выполняется в разбежку. Во избежание появления трещин в месте стыка не допускается стыковка листов на стойках дверных или оконных проемов, а в местах стыковки листов над проемами устанавливаются дополнительно промежуточные профили (рис. 20).

Рис. 20.

Облицовка стен над проемами

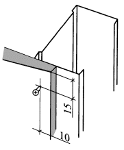
Между полом и ГКЛ должен оставаться зазор 10…15 мм. Между верхней кромкой листов по нижней поверхности бетонного перекрытия проклеивается разделительная лента и оставляется зазор не менее 5 мм. Зазор заполняется шпаклевкой, выступающие края ленты срезается перед «финишной» отделкой (рис. 21).

Рис. 21. Сопряжение облицовки стен с перекрытием

Для защиты внешнего угла от повреждений лучше применять вариант с креплением защитным перфорированным уголком ПУ 31×31 (рис. 22), который при окончательной отделке зашпаклевывается. В местах сопряжения с дверными коробками листы должны примыкать к ним заподлицо и при окончательной отделке закрываться наличником.

Рис. 22. Защита наружного угла угловым профилем

Заделка стыковочных швов и поверхности ГКЛ производится по ранее описанной технологии для бескаркасного способа облицовки. Горизонтальные торцевые швы выполняются без армирующей ленты высокопрочной шпаклевкой «Унифлот» или «Фугенфюллер ГВ», возможна замена на аналогичные по свойству шпаклевки, но с обязательной подготовкой шва. Технология их выполнения такова: обдирочным рубанком зачищаются кромки обрезанных листов, кромочным рубанком снимаются фаски, все стыковочные кромки зашкуриваются наждачной бумагой. Крепежные шурупы должны углубляться в гипсокартон на глубину не менее 1 мм. Швы обрабатываются грунтовкой, и после высыхания шпаклюется. При необходимости в полость каркаса укладывается изоляционный материал, после чего осуществляется обшивка каркаса листами. В тех случаях, когда вдоль стен проложены инженерные коммуникации, применяется другой набор из направляющих профилей ПН 50(65;75;100)×40 и в паре для каждого из них соответствующий стоечный профиль ПС 50(65;75;100)×50. Такой вид облицовки напоминает фальш-стену (рис. 23).

Рис. 23. Крепление стоечных профилей вдоль коммуникаций

Технология подготовительных работ и монтажа облицовок такая же, как и выше изложенной конструкции. Отличие только в том, что при монтаже отсутствует крепление стоечного профиля к стене при высоте облицовываемой поверхности до 4,2 м. при большей высоте крепеж стоек к стене обязателен с шагом не менее 1,5 м.

ГВЛ монтируется с помощью специальных шурупов, имеющих более острую конусную головку и зенкующие полоски с шагом не более 30 см.

В процессе эксплуатации облицовок возникает необходимость крепления к ним различного навесного оборудования или предметов интерьера, что часто останавливает заказчиков в принятии решений с облицовкой стен или выполнения перегородок из гипсокартонных листов.

Рис. 24. Крючки для крепления в гипсокартонных перегородках

В этом случае предусматривается ряд технических мероприятий. В зависимости от массы груза (например, умывальников, кухонных шкафов и т. д.) в процессе монтажа каркаса устанавливаются перемычки из стоечного профиля, закрепленные к каркасу, и к последним крепятся навесные элементы интерьера. Крепление предметов массой до 30 кг на 1 погонный метр стены может выполняться в любом месте ГКЛ с помощью специальных металлических дюбелей. Легкие грузы, такие как карнизы или полки с нагрузкой, не превышающей 15 кг, навешиваются непосредственно на гипсокартонные листы с помощью специальных анкерных изделий, пластмассовых или металлических дюбелей диаметром 6…8 мм либо крючков (рис. 24).

Облицовка поверхностей керамической плиткой

Общие сведения

Почему керамическая плитка пользуется спросом? Потому, что другие материалы не могут заменить ее

по прочности, экологичности, внешнему виду. Она не требует дополнительного ухода, ее легко чистить. Всеми этими неоспоримыми преимуществами облает только качественная керамическая плитка.

Керамическая плитка остается главным облицовочным материалом. С ее помощью облагораживают внешние стены, отделывают ванные комнаты и кухни, а также делают уникальным оформление жилых комнат. Выбор плитки поражает воображение. Количество производителей настолько велико, что можно констатировать лишь одно: есть как недорогая керамика с отечественных заводов, так и эксклюзивная германская или итальянская плитка.

Как же правильно выбирать плитку?

Первое – определитесь с местом, которое украсит плитка. В любом случае, изделия должны быть предназначены именно для этого. То есть напольная плитка должна оказаться под ногами, а плитка для бассейнов – в бассейнах. И никак иначе. Чтобы узнать назначение, посмотрите на пиктограммы, нанесенные на упаковку. Если видите изображение ступни, то кафель этот напольный. Рука свидетельствует о настенной природе плитки. Морозоустойчивость обозначается снежинкой. Чем чаще повторяется один и тот же знак, тем выше уровень показателя.

Поделиться с друзьями: