Чтение онлайн

ЖАНРЫ

Шрифт:

1) приготовить поллитровые банки с завинчивающимися крышками;

2) насыпать в них по упаковке разных красителей;

3) залить горячей кипяченой водой;

4) всыпать 1 ч. л. поваренной соли и влить

1 ст. л. уксуса;

5) перемешать;

6) остудить;

7) процедить через вату или фильтровальную бумагу в другую емкость;

8) закрыть крышкой и хранить в холодильнике (такой концентрированный состав не портится в течение нескольких лет).

Когда понадобится, надо просто встряхнуть банку, чтобы перемешать жидкость, отлить нужное количество раствора, развести водой до необходимой тональности и использовать.

Очень своеобразной была роспись тканей в Японии. В манускриптах, датируемых VII в. н. э., рассказывается об особом способе окрашивания тканей – юхата, при

котором материя прошивалась нитками, стягивалась и помещалась в красящий состав. Узор складывался из участков, в которые не проник краситель.

В процессе работы возникает необходимость подобрать цветовой тон (это можно делать как в баночке, так и на ткани), но банки порой выглядят одинаково, поэтому обязательно наклейте на них этикетки с названиями красителей. Но и это не всегда решает проблему, поскольку разные ткани неодинаково реагируют на тот или иной краситель. По этой причине требуются основная, тканевая и колористическая палитры. Основная будет представлена красителями в поллитровых банках. Для тканевой возьмите полосу материала, который предполагается расписывать, вдоль нее выставьте маленькие баночки с основными красителями (хватит по 1 ч. л.), после чего кисточкой перед каждой из них сделайте мазок. Когда краска просохнет, выяснится, каким будет цвет на изделии (как правило, вполовину светлее, что надо всегда иметь в виду).

В Японии существовал и такой способ окрашивания ткани – рокети. Для него наносился восковой рисунок на ткань, после чего ее последовательно погружали в красящий раствор, оставляли в нем до остывания, высушивали и очищали от воска. По мере охлаждения воск покрывался трещинами, в которые затекал краситель, что и делало рисунок необычным.

Колористическую палитру составляют краски, которыми будет расписываться ткань. Чтобы изготовить палитру, натяните на пяльцы ткань, смешайте краски и выполните на ней пробу. Помните, что сочетания одних цветов дают другой, например синий с желтым – зеленый. Но цвета красителей для батика существенно отличаются от акварельных или масляных красок, поскольку ткань впитывает их, становится менее яркой. Прямые красители, смешанные и нанесенные на хлопчатобумажную ткань, выглядят так, как указано в таблице 3.

Таблица 3

Цвет смешанных прямых красителей на хлопчатобумажной ткани (по П. Г. Миладинову)

В художественных салонах представлен большой выбор импортных акриловых красок, уже готовых к применению, – их необходимо только растворить в воде. Ими расписывают шелковые, ацетатные, капроновые ткани. Эти краски отличает то, что они устойчивы к отбеливанию, фиксируются в ткани очень прочно и просто (утюжкой), удобны в работе, смешиваются друг с другом. Но имеются и отрицательные моменты:

1) полностью исключается возможность ошибки, так как удалить краску нельзя;

2) некоторые шелковые ткани теряют прозрачность, становясь матово-муаровыми;

3) палитра очень яркая, если не сказать ядовитая (в отдельных случаях это можно рассматривать как недостаток).

Горячий батик знали и практиковали при росписи тканей в разных уголках мира, например в Перу, Шри-Ланке, африканских странах. Но наибольшего совершенства он достиг в Индонезии. Есть предположение, что первые ткани, расписанные в такой технике, появились здесь в начале нашей эры.

Таким образом, для росписи тканей применяют специальные красители, основное различие между которыми состоит в способе их закрепления: одни фиксируются с помощью нагретого утюга, другие запариваются (подробно об этом расскажем далее). Первые называются акриловыми, вторые – анилиновыми (о них речь шла выше, для росписи они считаются лучшими).

Начинающим батикистам подойдут недорогие отечественные краски «Гамма», продаваемые по отдельности и в виде набора, в который входят основные цвета (кстати, резервирующий состав этой линейки средств по качеству не уступает импортному); цветная тушь «Колибри» (закрепляется глажкой), для узелкового батика – «Фантазия», используемые для окрашивания при стирке; чернила «Радуга» (для одежды они не подходят). Это тем более удачный вариант, когда вы еще не уверены, что батик – это именно то, что вам нужно. Поэтому не стоит тратить деньги на дорогие краски и различные принадлежности. Если же все-таки вы решитесь

на такую покупку, то предварительно постарайтесь побольше узнать о красках, которые предлагают в магазинах. К слову, заметим, что любители чаще приобретают краски, фиксируемые утюжкой, профессионалы – запариваемые, поскольку это открывает огромные возможности, в частности в акварельной технике.

Оборудование и инструменты

Вы можете расписывать ткани, располагая только самым необходимым, и в первое время так и нужно поступать. Если увлечение батиком серьезно, то постепенно ваш арсенал пополнится большим количеством приспособлений, которые существенно облегчат работу.

Роспись ткани – это занятие, для которого необходимо отвести хорошо освещенное и проветриваемое помещение (поскольку начинающие часто не располагают такими условиями, то можно обойтись столом (площадь его, указанную ниже, желательно сохранить), накрытым клеенкой; если стол стоит не у стены, то к нему надо прибить экран, в который нужно будет упирать раму с натянутой тканью), у которого следует поставить стол с площадью столешницы не менее 1 м2, чтобы на него было удобно положить раму и другие принадлежности. В нем должно быть достаточно отделений и ящиков для эскизов, тканей, кнопок, карандашей, линеек и прочих мелочей.

Изготовлением батика в основном занимаются на острове Ява и шьют из него и праздничную, и повседневную одежду, которую охотно носят не только женщины, но и мужчины. Драпируемое на теле полотно носит название каин-батика, а прямая юбка, сшитая с одной из сторон, – саронга.

Ткань, которую предстоит расписывать, натягивают на раму. Во-первых, это удобно, поскольку материал не смещается; во-вторых, по туго натянутой ткани краски распределяются равномерно. На первых порах, когда ваши изделия будут небольшими, можно воспользоваться рамкой для фотографий, обклеив ее полосками скотча, которые защитят ее от загрязнений, или пяльцами. Если первые попытки росписи ткани перерастут в серьезное увлечение или если вы сразу захотите расписать крупное изделие, то надо изготовить большую раму (квадратную – для платков, прямоугольную для шарфов). Наилучший вариант – разборная рама (рис. 2), выполненная из планок, которые соединяются «в лапу», т. е. без остатка, и фиксируются винтами. Когда необходимость в раме отпадет, ее можно разобрать, чтобы она не занимала много места при хранении. Для начала достаточно собрать раму 300 х 200 мм, которая потом подойдет для выполнения образцов или эскизов для большой работы.

Рисунок 2. Рамы для натягивания ткани:

1) разборная с креплениями «в лапу»; 2) разборная с выемками; 3) пяльцы

Более удобны раздвижные рамы, на которые можно натянуть ткань любых размеров. Самый простой вариант – 4 планки с отверстиями. Чтобы собрать такую раму сначала выставляют необходимые размеры, отверстия совмещают и фиксируют винтом с гайкой (рис. 3).

< image l:href="#"/>

Рисунок 3. Фрагмент простой раздвижной рамы:

1) планки; 2) сквозные отверстия; 3) винт; 4) гайка

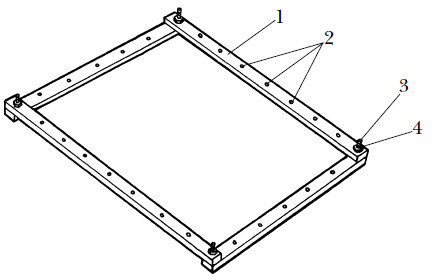
Профессионалы предпочитают более сложную конструкцию раздвижной рамы (рис. 4), которую можно заказать, купить или самостоятельно изготовить по чертежу (рис. 5).

Рисунок 4. Фрагмент профессиональной раздвижной рамы

< image l:href="#"/>

Рисунок 5. Чертеж раздвижной рамы (размеры указаны в миллиметрах): а) вид сверху; б) вид в разрезе; в) планка с выборкой и разметкой под гвозди; г) гайка; д) винт; е) шайба; 1) пазы; 2) гвоздь без шляпки

На каждой планке рамы имеются по 4 продольных паза, в которых планки передвигаются в соответствии с необходимыми размерами, устанавливаются и скрепляются винтами с гайками и шайбами. С внутренней стороны планок сделана выборка, в которую на расстоянии 20 мм друг от друга вбиты гвоздики без шляпок, которые не должны быть выше края рейки. Если есть возможность, то следует приобрести специальные крючки (рис. 6).

Поделиться с друзьями: