Чтение онлайн

ЖАНРЫ

Воздушно-реактивные двигатели
Шрифт:

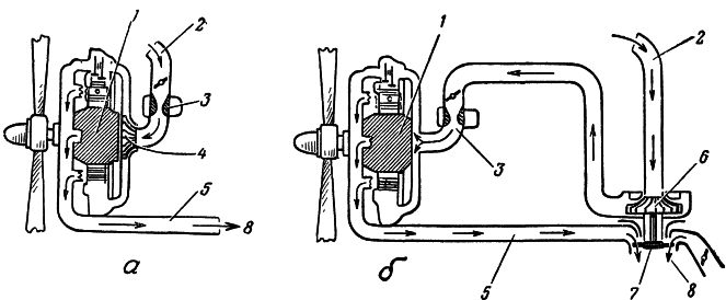
Рис. 22. Применение турбокомпрессора на поршневом двигателе:

а— поршневой авиационный двигатель с приводным центробежным нагнетателем; б—поршневой авиационный двигатель с турбокомпрессором, 1 — двигатель, 2—всасывающий воздушный патрубок; 3— карбюратор; 4— крыльчатка приводного нагнетателя, 5 — выхлопной трубопровод; 6— крыльчатка турбокомпрессора; 7 — турбинное колесо турбокомпрессора; 8— выход выхлопных газов в атмосферу

В качестве нагнетателей поршневых двигателей применяются центробежные компрессоры. Привод во вращение крыльчатки компрессора

осуществляется обычно от коленчатого вала двигателя с помощью шестеренчатой передачи, причем число оборотов крыльчатки достигает 20 тысяч в минуту и более.

Рис. 23. Конструкция турбокомпрессора (рядом для сравнения изображен обычный настольный вентилятор):

1— выход отработавших газов из турбины в атмосферу; 2— выход охлаждающего воздуха в атмосферу, 3— колесо турбины; 4— корпус турбины, 5 — корпус компрессора; 6— крыльчатка компрессора, 7— отвод сжатого воздуха к двигателю, 8— подвод выхлопных газов от двигателя к турбине, 9— подвод воздуха для охлаждения турбины

На вращение крыльчатки нагнетателя приходится затрачивать значительную часть мощности, развиваемой двигателем, в то время как огромная энергия, заключенная в выхлопных газах двигателя, не используется. Поэтому и родилась идея турбокомпрессора, идея использования газовой турбины для вращения крыльчатки нагнетателя.

Турбокомпрессор представляет собой смонтированные на общем валу крыльчатку компрессора и газовую турбину, которая работает от выхлопных газов двигателя и развивает мощность, необходимую для привода во вращение компрессора (рис. 22). В этом случае мощность, развиваемая двигателем, на привод крыльчатки нагнетателя уже не расходуется. Устройство одного из современных турбокомпрессоров показано на рис. 23.

Шли годы, постепенно совершенствовался турбокомпрессор, значительно улучшая общие характеристики поршневого авиационного двигателя. И вместе с тем все надежнее и лучше становилась газовая турбина, без которой нельзя было создать нового двигателя.

Так в развивающемся старом, поршневом двигателе зарождались ростки нового, турбокомпрессорного воздушно-реактивного двигателя.

Глава четвертая

Достоинства и недостатки турбореактивного двигателя

Турбореактивный двигатель уже давно вышел из «младенческого возраста» и стал совершенной и надежной машиной. Послевоенные годы были годами невиданного по размаху и быстроте технического перевооружения авиации — перехода на самолеты с реактивными двигателями.

Первой начала перевооружаться военная истребительная авиация, так как в воздушном бою при прочих равных условиях шансов на победу всегда больше у того самолета, который обладает большей скоростью полета.

Вслед за истребителями турбореактивные двигатели стали устанавливаться и на другие самолеты военной авиации. Появились реактивные самолеты-бомбардировщики сравнительно небольшого радиуса действия (так называемые фронтовые), разведчики, штурмовики и, наконец, тяжелые дальние бомбардировщики.

Появились реактивные двигатели и в гражданской авиации. Пассажирские и транспортные реактивные самолеты совершают регулярные рейсы на авиалиниях гражданской авиации. Не далеко то время, когда можно будет попасть из Москвы в Ленинград за полчаса, затратив больше времени на то, чтобы добраться из города до аэродрома. Перелет же из Москвы до Владивостока возможно будет совершать всего за один день.

Реактивные самолеты летают сейчас по крайней мере в полтора раза быстрее и на несколько километров выше, чем самолеты с поршневыми двигателями. Об успехах, достигнутых реактивной авиацией в борьбе за увеличение скорости и высоты полета, свидетельствуют официальные мировые рекорды, поставленные в 1955 г.: скорость полета — 1323 км/час, высота — 20079 м.Имеются все основания полагать, что эти рекордные показатели в настоящее время превзойдены.

В чем же секрет успехов, достигнутых в развитии турбореактивного двигателя? Почему его применение на самолетах означает качественно новую ступень развития авиации?

Этот «секрет» состоит в том, что турбореактивный двигатель при большой скорости полета может развить мощность, в несколько раз превосходящую мощность самых совершенных поршневых двигателей, при значительно меньшем весе, приходящемся на одну лошадиную силу. А ведь именно это, как указывалось выше, и необходимо для двигателя скоростного самолета.

Какую же мощность развивают современные турбореактивные двигатели? Эту мощность можно определить,

если известна тяга двигателя и скорость полета.

Современные турбореактивные двигатели при испытании на стенде или при стоянке самолета развивают тягу до 5000—6000 кги более. Но чтобы определить мощность двигателя, нужно знать его тягу не на стоянке, а в полете с большой скоростью. Чему же равна эта тяга? Выше было указано, что тяга поршневого двигателя с винтом с ростом скорости полета уменьшается обратно пропорционально скорости. Иначе ведут себя в этом отношении турбореактивные двигатели — с ростом скорости полета их тяга сначала несколько уменьшается, а потом снова возрастает и при полете со скоростью, близкой к скорости звука, турбореактивный двигатель развивает такую же (или даже большую) тягу, как и при стоянке. В этом и заключается огромное преимущество турбореактивного двигателя перед поршневым авиационным двигателем с винтом.

Такое различие объясняется тем, что в работе поршневого двигателя при увеличении скорости полета не происходит существенных изменений и его мощность остается почти неизменной. В работе турбореактивного двигателя при увеличении скорости полета происходят существенные изменения. Расход воздуха через двигатель при этом увеличивается, увеличивается также давление воздуха за турбиной, а значит, и скорость истечения газов из двигателя.

Какую же мощность будет иметь турбореактивный двигатель, развивающий тягу Р= 6000 кгпри полете со скоростью V, равной, допустим, 1260 км/часили 350 м/сек? Эта мощность, очевидно, будет равна

Огромная мощность! А ведь тяга, равная 6000 кг, не является пределом для турбореактивного двигателя, так же как и скорость 350 м/секне является предельной скоростью полета реактивного самолета.

Вместе с тем турбореактивный двигатель, развивающий такую огромную мощность, весит меньше, чем поршневой авиационный двигатель мощностью примерно 4000 л. с. В этом нет ничего удивительного, если учесть, что в поршневом авиационном двигателе действуют большие силы, резко меняющиеся по величине и направлению. Достаточно указать на то, что при вспышке в цилиндрах поршневого двигателя давление мгновенно возрастает почти до 100 кг/см 2.Для того чтобы выдержать возникающие при этом нагрузки, основные силовые детали поршневого двигателя должны быть очень прочными, а следовательно, массивными, тяжелыми. В турбореактивном же двигателе давления не превышают 10, самое большое— 15 кг/см 2, причем эти давления постоянные, не меняющиеся по времени. Поэтому большинство частей турбореактивного двигателя — либо легкие тонкостенные отливки, обычно из легких сплавов, либо детали, изготовленные из тонкого стального листа. Это делает турбореактивный двигатель более легким, чем поршневой, хотя через поршневой двигатель протекает в десятки раз меньше воздуха, чем через турбореактивный.

При большой скорости полета турбореактивный авиационный двигатель превосходит поршневой авиационный двигатель и по экономичности. Уже при скорости полета, равной 1000—1100 км/час, турбореактивный двигатель расходует на одну лошадиную силу развиваемой им мощности [2] не больше топлива, чем поршневой двигатель при максимальной скорости полета, которую он в состоянии обеспечить. С дальнейшим ростом скорости полета удельный расход топлива турбореактивного авиационного двигателя становится даже меньшим, чем удельный расход топлива поршневого авиационного двигателя. Но при уменьшении скорости полета экономичность турбореактивного двигателя резко ухудшается. Например, при скорости полета, равной 300 км/час, удельный расход топлива турбореактивного двигателя втрое больше удельного расхода топлива поршневого двигателя. Значит ли это, что турбореактивный двигатель на самолете выгоден только при очень больших, околозвуковых скоростях полета, а область меньших скоростей полета является выгодной только для самолетов с поршневыми двигателями? Нет, не значит. Но, вместе с тем простой турбореактивный двигатель не может заменить поршневой авиационный двигатель в зоне промежуточных скоростей полета, равных 500—800 км/час, так как при этих скоростях он менее экономичен, чем поршневой. Это под силу лишь газотурбинным двигателям другого типа.

2

Расход топлива, приходящийся на одну лошадиную силу мощности, развиваемой двигателем, называется удельным расходом топлива.

Поделиться с друзьями: