Чтение онлайн

ЖАНРЫ

12,7-мм пулеметы обр. 1938/46 г. и 1938 г. Наставление по стрелковому делу
Шрифт:
ЗАТВОР

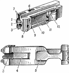
67. Затвор (рис. 29) служит для досылания патрона в патронник, запирания канала ствола при выстреле, производства выстрела, извлечения и отражения стреляной гильзы.

Затвор состоит из остова, двух боевых упоров, ударника, бойка, выбрасывателя, отражателя со шпильками и пружины выбрасывателя.

Рис. 29. Затвор:

1 — остов; 2 — боевой упор; 3 — ударник; 4 — боек; 5

выбрасыватель; 6 — отражатель

Остов затвора (рис. 30) служит для соединения всех частей затвора. Он имеет:

— на переднем срезе чашечку для помещения донной части патрона и отверстие для выхода бойка;

— снизу в передней части гнездо для выбрасывателя с его пружиной и передний выступ, который служит стенкой канала пружины выбрасывателя;

— снизу сзади нижний выступ для соединения с затворной рамой;

— сверху наклонный канал для отражателя и гребень, передний срез которого является досылателем патрона в патронник;

— на боковых стенках поперечные отверстия для оси выбрасывателя, шпильки отражателя и шпильки бойка.

С обеих сторон остова имеются выемы для боевых упоров и вырез для выхода утолщенной части ударника, внутри остова два канала для размещения в них бойка и ударника.

Рис. 30. Остов затвора:

1 — чашечка затвора; 2 — отверстие для выхода бойка; 3 — гнездо для выбрасывателя; 4 — передний-выступ; 5 — нижний выступ для соединения с затворной рамой; 6 — наклонный канал для отражателя; 7 — досылатель; 8 — отверстие для оси выбрасывателя; 9 — отверстие для шпильки отражателя; 10 — отверстие для шпильки бойка; 11 — выем для боевого упора; 12 — вырез для выхода утолщенной части ударника

Примечание. Остовы затворов у пулеметов последних выпусков сделаны с перемычкой в верхнем углу для задней части боевого упора. Боевые упоры имеют соответствующий выем.

Ударник (рис. 31) служит для нанесения удара по бойку и раздвигания боевых упоров.

Он имеет:

— в задней части головку и боковые вырезы для соединения с затворной рамой и утолщение для раздвигания боевых упоров затвора;

— в передней части срезы для внутренних выступов боевых упоров.

Боек со шпилькой (рис. 32) служит для разбивания капсюля патрона.

Рис. 31. Ударник:

1 — головка; 2 — боковые вырезы; 3 — утолщение; 4 — срезы

Рис. 32. Боек со шпилькой:

1 — боек; 2 — шпилька

Боевые упоры (рис. 33) совместно с остовом затвора предназначены для запирания канала ствола при выстреле. Они помещаются в боковых выемах остова затвора. В задней части боевые упоры имеют выступы, на нижнюю часть которых нажимают стенки фигурного выема рамы и сводят упоры, а на внутреннюю часть нажимает своей утолщенной частью и разводит упоры ударник.

Рис. 33.

Боевые упоры:

1 — выступы

Рис. 34. Выбрасыватель с пружиной и осью:

1 — выбрасыватель; 2 — пружина; 3 — ось

Выбрасыватель с пружиной и осью (рис. 34), служит для извлечения гильзы (патрона) из патронника.

Отражатель со шпилькой (рис. 35) отражает гильзы наружу.

Рис. 35. Отражатель со шпилькой:

1 — отражатель; 2 — шпилька

СПУСКОВАЯ КОРОБКА

68. Спусковая коробка (рис. 36) является основанием для сборки частей спускового и предохранительного механизмов, а также для крепления казенной части пулемета к станку.

В верхней части спусковой коробки имеется продольный желоб с тремя гнездами: передним для шептала с пружиной, правым для упора предохранителя и его пружины и средним для рычага шептала.

На боковых стенках желоба сделаны продольные пазы для соединения со ствольной коробкой и отверстия для предохранителя и для оси рычага шептала. В задней стенке справа имеется отверстие для заднего конца упора предохранителя.

Рис. 36. Спусковая коробка:

1 — гнездо для шептала с пружиной; 2 — гнездо для упора предохранителя и его пружины; 3 — гнездо для рычага шептала; 4 — продольные пазы; 5 — проушины; 6 — отверстие для предохранителя; 7 — отверстие для заднего конца упора предохранителя; 8 — отверстия проушины для болта заднего крепления

В нижней части спусковой коробки имеются две проушины с отверстиями для болта заднего крепления, которым пулемет крепится к станку.

Рис. 37. Спусковой механизм:

1 — шептало; 2 — пружина шептала; 3 — рычаг шептала; 4 — ось рычага шептала

Спусковой механизм (рис. 37) удерживает затворную раму и спускает ее с боевого взвода. Он состоит из шептала с пружиной и рычага шептала с осью.

Предохранительный механизм (рис. 38) служит для предохранения от случайных выстрелов. Он состоит из предохранителя, упора предохранителя и пружины упора предохранителя.

Рис. 38. Предохранительный механизм:

1 — предохранитель; 2 — упор предохранителя; 3 — пружина упора предохранителя

ЗАТЫЛЬНИК

69. Затыльник (рис. 39) является задней стенкой ствольной коробки. Он состоит из остова затыльника, двух скоб с четырьмя винтами, двух ручек с кольцами и двух сердечников ручек.

Поделиться с друзьями: