Грузовые автомобили. Система зажигания

ЖАНРЫ

Поделиться с друзьями:

Грузовые автомобили. Система зажигания

Шрифт:

Грузовые автомобили. Система зажигания

Сжатая рабочая смесь в цилиндре двигателя зажигается электрическим разрядом – искрой, образующейся между электродами свечи зажигания. Для получения надежного искрового разряда при расстоянии между электродами свечи зажигания 0,5 – 0,7 мм и давлении сжатой в цилиндре рабочей смеси, достигающем 1,0 – 1,2 Мн/м2 (10-12 кгс/см2), к электродам должен быть подведен ток напряжением не ниже 10 000 – 12 000 В. Ток высокого напряжения, необходимый для создания искрового разряда, получают от приборов системы батарейного зажигания, в которой используется электрическая энергия аккумуляторной батареи и генератора автомобиля. Преобразование тока низкого напряжения в ток высокого напряжения и распределение его по цилиндрам двигателя осуществляется приборами батарейного зажигания.

В систему батарейного зажигания входят: катушка зажигания, прерыватель – распределитель, конденсатор, свечи зажигания, выключатель зажигания(замок), и провода низкого и высокого напряжения. В системе батарейного зажигания имеются две цепи – низкого и высокого напряжения.

Действует система зажигания следующим образом. При включенном зажигании и замкнутых контактах прерывателя 8 по цепи низкого напряжения проходит ток от аккумуляторной батареи.

Рис. Схема контактной системы зажигания 1 – аккумуляторная батарея, 2 – включатель стартера, 3 – включатель зажигания, 4 – первичная обмотка, 5 – вторичная обмотка, 6 – катушка зажигания, 7 – распределитель, 8 – прерыватель, 9 – конденсатор, 10 – искровая свеча зажигания, ВК – выводная клемма от первичной обмотки, ВКБ – выводная клемма от батареи.

Цепь низкого напряжении: положительный выводной штырь батареи 1 – зажим тягового реле, 2 включателя стартера – включатель зажигания, 3 – зажим ВКБ катушки зажигания 6 с добавочным резистором – зажим ВК катушки зажигания, 6 – подвижной контакт прерывателя, 8 – неподвижный контакт – масса – отрицательный штырь батареи 1.

При замкнутых контактах прерывателя 8, ток низкого напряжения, протекающий (первичный

ток) по первичной обмотке 4 катушки зажигания 6 , создает в ее сердечнике магнитное поле, пронизывающее витки обеих обмоток.

Когда выступ вращающегося кулачка , нажимая рычаг подвижного контакта прерывателя 8, отведет этот контакт от неподвижного контакта прерывателя 8, цепь первичного тока прервется и сердечник катушки размагнитится. Вследствие этого во вторичной обмотке 5 катушки зажигания 6 индуцируется ЭДС, величина которой благодаря быстрому уменьшению потока в сердечнике и большому числу витков этой обмотки достигает 16 000 – 20 000 В. Под действием индуцированной во вторичной обмотке ЭДС на электродах свечи возникает искровой разряд и в цепи вторичной обмотки 5 появляется ток высокого напряжения (вторичный ток).

Цепь высокого напряжения : вторичная обмотка 5 катушки зажигания 6 – распределитель 7 – провода высокого напряжения и искровые свечи зажигания 10.

В момент размыкания цепи тока низкого напряжения в первичной обмотке 4 катушки 6 индуцируется ЭДС самоиндукции величиной 200 – 300 В. Под ее действием в цепи низкого напряжения возникает ток самоиндукции. Поскольку направление тока самоиндукции совпадает с направлением прерванного первичного тока, он противодействует размагничиванию сердечника катушки и при этом снижает напряжение вторичного тока. Кроме того, ток самоиндукции, проходя через начинающие размыкаться контакты прерывателя, вызывает искрение между ними и быстрое подгорание контактов.

Это вредное влияние тока самоиндукции устраняет конденсатор 9 . Конденсатор представляет собой цилиндрический металлический корпус, внутри которого размещены две тонкие алюминиевые ленты (обкладки), изолированные друг от друга конденсаторной бумагой, пропитанной трансформаторным маслом. Роль обкладок в таких конденсаторах выполняют очень тонкие слои олова, покрытого цинком. Нанесенного с одной стороны на ленты лакированной конденсаторной бумаги. Алюминиевые и бумажные или металлизированные ленты свернуты в рулон. Крепится конденсатор на корпусе снаружи или на подвижном диске прерывателя. Конденсаторы из металлизированной бумаги обладают способностью самовосстанавливаться при пробое изоляции между обкладками, поскольку слой металла около места пробоя выгорает и замыкание устраняется, а отверстие заполняется маслом маслом. Единица измерения емкости конденсатора – фарады.. Емкость конденсатора 0,17….0,25 м кФ.

Большое значение для работы батарейного зажигания имеет зазор между контактами прерывателя. Для нормальной работы зазор должен варьироваться в пределах 0,35 – 0,45 мм.

Если зазор будет большим, то уменьшается время замкнутого состояния подвижного и неподвижного контактов, а следовательно и сила тока в первичной обмотке катушки не успеет достигнуть требуемой величины – ЭДС вторичной цепи не будет достаточной. Коленчатый вал будет вращаться с большой частотой и могут возникнуть проблемы в работе двигателя.

Если зазор будет маленьким, то будет происходить сильное искрение между контактами, обгорание и перебои во всех режимах работы двигателя. Зазор между контактам прерывателя регулируют перемещением пластины с неподвижным контактом при помощи эксцентрика. Замеряют зазор при полностью разомкнутых контактах пластинчатым щупом.

Возникающий в момент начала размыкания контактов прерывателя кратковременный ток самоиндукции заряжает конденсатор. Так как конденсатор включен параллельно контактам прерывателя 8, они почти не подгорают.

Конденсатор разряжается через первичную обмотку катушки зажигания. При этом разрядный ток конденсатора, протекая по этой обмотке в направлении, противоположном направлению первичного тока, способствует более резкому исчезновению магнитного поля, созданного первичным током, благодаря чему повышается напряжение вторичного тока.

От вторичной обмотки катушки зажигания через центральный провод высокого напряжения, распределитель 7 и провода ток высокого напряжения поступает к искровым свечам зажигания10, где между электродами происходит искровой разряд, который зажигает рабочую смесь.

Катушка зажигания, преобразующая ток аккумуляторной батареи (ток низкого напряжения) в ток высокого напряжения, поступающий к свечам (вторичный ток), состоит из стального корпуса 8, сердечника 4, первичной обмотки 6 (из 250 – 400 витков толстого изолированного провода диаметром 0,8 мм, намотанной поверх вторичной обмотки и изолированного от нее слоем специальной бумаги), вторичной обмотки 5 (состоящей из 18 000 – 20 000 витков изолированного провода диаметром 0,07-0,1 мм и намотанного на картонную трубку, установленную на сердечнике), краболитовой крышки 2 с центральными контактами и зажимами ВКБ, ВК и добавочного резистора 3.

Рис Катушка зажигания 1 – выводные зажимы, 2 – крышка, 3 – добавочный резистор, 4 – сердечник, 5 – вторичная обмотка, 6 – первичная обмотка, 7 – изоляционная трубка, 8 – корпус, 9 – фарфоровый изолятор,10 – трансформаторное масло, 11 – кольцевой магнитопровод, ВК, ВКБ – зажимы.

Чтобы повысит надежность изоляции, обе обмотки пропитаны трансформаторным маслом 10. С этой же целью все свободные полости в корпусе 8 катушки залиты специальной изоляционной массой, у некоторых катушек зажигания заполнены трансформаторным маслом.

Концы первичной обмотки выведены на клеммы карболитовой крышки. Один конец вторичной обмотки соединен с первичной обмоткой, а Второй выведен на центральную клемму карболитовой крышки.

Сердечник 4 изготовляют из отдельных изолированных друг от друга полосок трансформаторной стали, чтобы уменьшить воздействие вихревых токов. Нижний конец сердечника помещают в фарфоровый изолятор 9.

Добавочный резистор 3 состоит из спирали, керамических гнезд и двух шин, подсоединен к зажимам ВК и ВКБ. Добавочный резистор улучшает работу катушки зажигания при больших числах оборотов коленчатого вала двигателя, облегчает пуск двигателя стартером, предохраняет катушку зажигания от перегрева при малой частоте вращения коленчатого вала..В этом случае контакты прерывателя остаются замкнутыми сравнительно длительное время, в течение которого сила тока в первичной цепи возрастает и успевает достигнуть максимальной величины, что приводит к возрастанию сопротивления резистора и его нагреву. При работе на большой частоте вращения коленчатого вала, время замкнутого состояния уменьшается, сила тока в первичной обмотке не успевает возрасти до предельного значения, нагрев резистора и сопротивление уменьшаются. Напряжение вторичного тока остается достаточно высоким.

При включении стартера резистор закорачивается и пуск двигателя облегчается, так как несмотря на падение напряжения в аккумуляторной батарее в момент включения стартера, сила тока в первичной обмотке катушки зажигания и напряжение во вторичной обмотке сохраняют достаточную величину.

Прерыватель – распределитель .

Рис. Прерыватель – распределитель а – распределитель, б – прервыватель, в – центробежный регулятор опережения зажигания, 1 – крышка, 2 – зажим, 3 – центробежный контакт, 4 – ротор, 5 – рычажок, 6 – кулачок, 7 – подвижный контакт прерывателя, 8 – неподвижный контакт, 9 – пластина кулачка, 10 – корпус, 11 – валик, 12 – регулировочные гайки, 13 – пластина октан – корректора, 14 – масленка, 15 – подвижный диск, 16 – пружина, 17 – вакуумный регулятор опережения зажигания, 18 – диафрагма, 19 – грузик, 20 – подшипник, 21 – неподвижный диск.

Прерыватель – распределитель состоит из прерывателя и распределителя соединенных в один прибор с общим приводом. Прерыватель необходим для разрыва в требуемые моменты цепи тока низкого напряжения и распределения тока высокого напряжения по цилиндрам двигателя.

Прерыватель состоит из чугунного корпуса10, приводного валика 11, неподвижного опорного диска 21 и подвижного 15, кулачка 6, центробежного и вакуумного регуляторов опережения зажигания и октан-корректора.

Корпус прерывателя – распределителя удерживается неподвижно пластиной 13, привертываемой одним или двумя болтами к блоку цилиндров или корпусу привода. Валик прерывателя приводится во вращение либо от коленчатого вала, либо от распределительного вала двигателя (вместе с валиком масляного насоса). В любом случае частота вращения валика прерывателя в два раза меньше частоты вращения коленчатого вала двигателя. Вращающийся кулачок 6, установленный на валике 11 сверху, связан с центробежным регулятором (рис а). Вращающийся кулачок нажимает выступом на изолированный рычажок прерывателя и за один оборот размыкает контакты столько раз, сколько выступов на кулачке. Число выступов на боковой поверхности кулачков равно числу цилиндров двигателя.

Соединенный с массой неподвижный контакт 8 и изолированный от массы качающийся рычажок (молоточек) 5 с подвижным контактом 7 смонтированы на подвижнлом диске 15, установленном на диске на шариковом подшипнике. Рычаг 5 через гибкий проводник, зажим 2 прерывателя и наружный провод соединен с зажимом первичной обмотки катушки зажигания.

Действующая на рычаг пластинчатая пружина 9 стремится удержать контакты замкнутыми. За два оборота коленчатого вала кулачок прерывателя сделает один оборот и его выступы разомкнут контакты, а следовательно. Прервут цепь тока низкого напряжения столько раз, стколько двигатель имеет цилиндров. При каждом размыкании во вторичной обмотке катушки индуцируется ток высокого напряжения.

Сверху на корпусе прерывателя установлен распределитель. Он состоит из ротора 4 и карболитовой крышки 1. Распределитель служит для распределения тока высокого напряжения по свечам в соответствии с порядком работы цилиндров. Ротор также изготовлен в виде грибка из карболита, в него вмотнирована контактная пластина. Крышку 1 крепят к корпусу прерывателя пружинными застежками. На наружной ее части по окружности выполнены гнезда по числу цилиндров, с зажимами 2, в которые подсоединяют к боковым контактам в соответствии с порядком работы цилиндров двигателя. Так, если порядок работы цилиндров 1-5-4-2-6-3-7-8, то провод от первой свечи присоединяют к первому по вращению ротора боковому контакту распределителя, провод от пятой свечи – ко второму контакту, от четвертой – к третьему контакту, от второй к четвертому, от шестой к пятому, от третьей к шестому, от седьмой к седьмому и от восьмой свечи к восьмому контакту. В гнездо центрального контакта 3 крышки распределителя вставляют провода высокого напряжения соединяющие распределитель

со вторичной обмоткой катушки зажигания.

Ток высокого напряжения, индуцированный во вторичной обмотке катушки в момент размыкания контактов прерывателя, поступает к свече через центральный контакт 3 распределителя, угольный контакт прижатый к ротору 4 пружиной, металлическую пластину ротора, воздушный промежуток между этой пластиной и боковой контакт и провод соединенный со свечой.

При следующем размыкании контактов прерывателя ротор вместе с кулачком повернется и расположится против сегмента следующего бокового контакта, ток высокого напряжения пойдет к свече очередного цилиндра и т.д.

Опережение зажигания . Давление расширяющихся газов после воспламенения рабочей смеси наиболее полно используется только при условии, если смесь полностью сгорит, как только поршень перейдет в верхнюю мертвую точку (10-15 градусов поворота коленчатого вала после верхней мертвой точки). Так как смесь горит определенный промежуток времени, то ее следует зажигать с опережением – до подхода поршня в верхнюю мертвую точку. Величина угла поворота коленчатого вала с момента зажигания рабочей смеси до верхней мертвой точки называется углом опережения зажигания.

Этот угол должен изменяться в зависимости от частоты вращения коленчатого вала, нагрузки двигателя и октанового числа топлива. Время отводимое для сгорания смеси и скорость сгорания не всегда одинаковы. Чем выше частота вращения коленчатого вала, тем меньше время отводимое для сгорания смеси, тем больше угол опережения.

При чрезмерно большом угле опережения (раннее зажигание), мощность двигателя снижается за счет действия расширяющих газов навстречу движению поршня, возникают детонационные стуки, а при пуске двигателя возникают обратные удары, что особенно опасно при пользовании рукояткой.

Чрезмерное уменьшение угла опережения (позднее зажигание), двигатель не развивает полной мощности, сгорание смеси будет продолжаться при движении поршня вниз, двигатель перегревается, расходует много топлива, иногда наблюдаются вспышки в карбюраторе.

Чем выше частота вращения коленчатого вала, тем больше должен быть угол опережения зажигания, так как за время (примерно 0,002 сек), необходимое для воспламенения всего объема рабочей смеси в цилиндре, при больших оборотах коленчатый вал успевает повернуться на больший угол, чем при малых оборотах. Угол опережения зажигания при изменении частоты вращения коленчатого вала двигателя автоматически изменяет центробежный регулятор.

Рис. Центробежный регулятор опережения зажигания

а – детали регулятора, б – действие грузиков, 1 – войлочная шайба, 2 – винт, 3 – кулачок, 4 – ведомая пластина, 5 – штифт грузика, 6 – грузики, 7 – ось грузика, 8 – ведущая пластина, 9 – валик прерывателя, 10 – пружина, 11 – вырез пружины.

На валике 9 прерывателя жестко укреплена ведущая пластина 8 с грузиками 6, шарнирно установленными на запрессованных в пластину осях 7. сверху на валик надет кулачок 3, который удерживает от перемещения вверх винт 2, над которым в отверстие кулачка вставлена войлочная шайба 1. на выступы грузиков надета ведомая пластина 4. Вращение валика сообщается кулачку через ведущую пластину 8, грузики 6, их штифты 5, и ведомую пластину 4. При малых числах оборотов коленчатого вала грузики удерживаются пружинами 10 вблизи оси валика 9. С увеличением частоты вращения коленчатого вала, грузики регулятора расходятся. Каждому числу оборотов соответствует определенная степень расхождения грузиков. Штифты грузиков перемещаясь в прорезях пластины, поворачивают ее и соединенный с ней кулачок в сторону вращения ведущего валика на определенный угол, зависящий от числа оборотов. В результате кулачок раньше размыкает контакты прерывателя и угол опережения зажигания увеличивается. Угол опережения зажигания, достигаемый за счет действия центробежного регулятора опережения, составляет 0,2 – 0,25 рад (10 – 15 градусов).

С увеличением нагрузки двигателя в цилиндры поступает больше горючей смеси, давление при ее сжатии и скорость горения возрастают, поэтому угол опережения зажигания должен уменьшаться.

При уменьшении нагрузки угол опережения зажигания должен уменьшаться. Уменьшается угол опережения зажигания и увеличивается также автоматически вакуумным регулятором в зависимости от нагрузки двигателя.

Вакуумный регулятор 17 прикреплен винтами к корпусу прерывателя – распределителя. Состоит вакуумный регулятор опережения зажигания из корпуса, диафрагмы, тяги, крышки со штуцером и пружиной. Между завальцованными частями корпуса регулятора зажата диафрагма 18 из специальной ткани, соединенная тягой с подвижным диском 15 см.

Полость наружной (правой) части вакуумного регулятора соединена через штуцер и трубку с нижней частью смесительной камеры карбюратора, поэтому в этой полости во время работы двигателя создается разрежение.

При уменьшении нагрузки на двигатель дроссельная заслонка прикрывается, и под действием разрежения, передаваемого по трубке от карбюратора, диафрагма 18 перемещается с тягой влево и поворачивает подвижный диск прерывателя навстречу вращению кулачка. В результате контакты размыкаются раньше и угол опережения зажигания увеличивается. С возрастанием нагрузки разрежение становится меньше, пружина выгибает диафрагму в обратную сторону, вследствие чего угол опережения зажигания становится меньше.

В зависимости от нагрузки вакуумный регулятор опережения зажигания изменяет угол опережения на величину до 0,2 рад (11градусов).

Высокое октановое число бензина позволяет устанавливать больший угол опережения зажигания и этим повышать мощность двигателя без появления детонации. При низком октановом числе бензина угол опережения необходимо уменьшить. Совместная работа центробежного и вакуумного регуляторов обеспечивает нужный угол опережения.

Угол опережения изменяют в зависимости от антидетонационных свойств топлива вручную при помощи октан – корректора .

Октан – корректор изменяет угол опережения зажигания в пределах ± 12◦ по углу поворота коленчатого вала. Октан – корректор состоит из двух пластин, одна из них крепится к корпусу прерывателя – распределителя, а другая – к блоку цилиндров. Пластины соединены между собой регулировочным винтом и двумя гайками. На нижней пластине нанесена шкала с пятью делениями от нуля в обе стороны. А на верхней имеется указательная стрелка. Чтобы изменить угол опережения зажигания, отпускают болт, крепящий пластины 13, и вращением регулировочных гаек 12 поворачивают верхнюю пластину вместе с корпусом и диском относительно кулачка прерывателя. Угол опережения зажигания изменяется. Одно деление шкалы октан – корректора соответствует изменению угла опережения зажигания на 2 (.Чтобы уменьшить угол опережения, корпус кулачка поворачивают в сторону вращения кулачка, чтобы увеличить – в противоположную сторону.

Таким образом, в прерывателе – распределителе действуют независимо три устройства изменения угла опережения зажигания: центробежный регулятор поворачивает кулачок, вакуумный регулятор – подвижный диск прерывателя, октан – корректор – корпус.

Свечи зажигания служат для образования искрового зазора в камере сгорания, где проскакивает электрическая искра.

Рис. Свеча зажигания. 1 – контактный наконечник центрального электрода, 2 – изолятор центрального электрода, 3 – завальцованная кромка, 4 – уплотняющие прокладки, 5 – корпус, 6 – уплотнительное кольцо, 7 – резьбовая часть корпуса, 8 – центральный электрод, 9 – боковой электрод.

В стальном корпусе 5 помещен керамический изолятор 2, с центральным электродом 8. Изолятор зажат между медными кольцевыми прокладками 4 и укреплен путем завальцовывания верхней кромки корпуса свечи 3. В нижнюю часть корпуса запрессован боковой электрод 9. Нижняя часть центрального электрода и боковой электрод изготовлены из сплава никеля с марганцем. Между электродами должен быть зазор 0,6-0,8 мм, для его изменения нужно подогнуть боковой электрод. В корпусе свечи выполнена нарезная часть 7, по которой свечу ввертывают в отверстие головки цилиндров (резьба М14 х 1,25).Для уплотнения под заплечики ее корпуса ставят медноасбестовое уплотнительное кольцо 6. К наконечнику центрального электрода присоединяют провод с распределителя.

В верхней части корпус свечи имеет грани под ключ. Свечи зажигания неразборные, их маркировка А11, А11У, А 7,5 СС, М12У и т.д.

Буква вначале определяет диаметр резьбовой части корпуса М-18 мм, А – 14 мм. Числа указывают длину нижней части изолятора в миллиметрах. Буква в конце обозначает материал изолятора: У – уралит, Б – борокорунд, С – герметизированный стеклопластиком центральный электрод, вторая С – специальная.

Для двигателей применяют только указанные в техническом паспорте свечи, так как у разных свечей разные тепловые характеристики. Неправильно подобранная свеча может перегреваться или переохлаждаться, В том и другом случае свеча быстро выходит из строя.

Контактно – транзисторная система зажигания

В описанной выше системе контактного батарейного зажигания с ростом частоты вращения коленчатого вала двигателя снижается напряжение во вторичной цепи, вызываемое сокращением времени замкнутого состояния контактов прерывателя, вследствие чего уменьшается магнитный поток в катушке зажигания. Этого можно избежать увеличив силу тока в первичной цепи, но такое увеличение вызывает после 10 000 – 15000 километров пробега подгорание контактов прерывателя, наблюдается ненадежное воспламенение смеси в современных высокооборотных многоцилиндровых двигателях.

Поэтому на последних моделях грузовых автомобилей применяют более сложную систему зажигания с применением транзисторов, которая имеет ряд преимуществ перед системой контактного батарейного зажигания. Транзисторная система зажигания обеспечивает надежную и экономичную работу высокооборотных, многоцилиндровых двигателей с повышенной степенью сжатия.

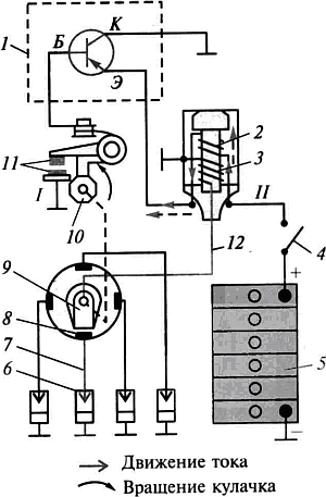
Помимо деталей и приборов, входящих в обычную систему батарейного зажигания, контактно – транзисторная система имеет транзисторный коммутатор1 и блок добавочных сопротивлений. Механический прерыватель управляет работой транзистора, подавая на него управляющий ток. Прерыватель контактно – транзисторной системы размыкает не первичную цепь системы зажигания, а цепь сравнительно слабого тока 0,75А управления германиевым транзистором, являющимся основной частью транзисторного коммутатора. В свою очередь транзистор прерывает более сильный ток первичной обмотки 2 катушки зажигания. Сила тока базы транзистора незначительна, при разрыве контактов износа от электрической искры практически не происходит, на срок службы контактов влияет только механический износ и поскольку контакты прерывателя разгружены от первичного тока, срок их службы увеличивается до 100 тыс. километров пробега и более.

Рис. Схема контактно – транзисторной системы зажигания 1 – коммутатор, 2 – первичная обмотка катушки зажигания, 3 – вторичная обмотка, 4 – включатель зажигания, 5 – аккумуляторная батарея, 6 – свеча зажигания, 7 – провод высокого напряжения, 8 – боковой контакт распределителя, 9 – ротор распределителя, 10 – кулачок, 11 – контакты прерывателя, 12 – центральный провод высокого напряжения, I – прерыватель, II – катушка зажигания, Б – база, К – коллектор, Э – – эммитер.

123
Комментарии: