Чтение онлайн

ЖАНРЫ

Интернет-журнал "Домашняя лаборатория", 2007 №12
Шрифт:

Если выделение большого количества тепла резко ухудшает специальный эффект, то в качестве горючих используют различные углеводы: крахмал, молочный и свекловичный сахар, древесину, целлюлозу.

Из других органических горючих используют стеариновую кислоту (стеарин), особенно в отвержденных горючих (напалмах), нафталин в пламенных и дымовых составах, парафин, гексаметилентетрамин (уротропин) в качестве твердого горючего «сухой спирт» и в импульсных составах, а также для приготовления мощных ВВ гексогена и октогена, дициандиамид (ДТТТТа) используется как горючее и одновременно пламегаситель в дымовых составах, оружейных порохах, предохранительных ВВ.

ЦЕМЕНТАТОРЫ, МЕТОДЫ УПЛОТНЕНИЯ СОСТАВОВ

Основной вид применения пиротехнических составов — это прессованная

или иная уплотненная форма. В большинстве пиротехнических изделий выгодно иметь наибольшую плотность упаковки энергии, а это достигается помещением в наименьший объем максимального количества пиротехнической смеси, то есть каким-либо уплотнением смеси.

Уплотнение и формование пиротехнических составов производится различными способами: прессованием, заливкой, шнекованием, а в некоторых случаях и набивкой вручную. Наиболее часто применяющимся способом снаряжения пиротехнических составов является способ холодного прессования на механических или гидравлических прессах. Иногда применяется способ горячего прессования при температуре 60…100 °C, этот способ может несколько повысить плотность изделий, однако опасен из-за резкого увеличения чувствительности большинства составов к механическим воздействиям.

Метод горячей заливки (расплавленного состава) применяется при достаточной легкоплавкости компонентов смеси и используется в основном в военной пиротехнике при снаряжении боеприпасов (снарядов, бомб и пр.). В этом случае легкоплавкие ВВ, например, тринитротолуол и его сплавы с другими ВВ заливается в корпуса боеприпасов в расплавленном состоянии, по своим химическим характеристикам не будучи при температуре плавления чувствительными к механическим воздействиям. В общей пиротехнике практически не существует составов нечувствительных к воздействиям при температуре их плавления, большинство составов просто воспламеняются при этом. Поэтому применяется метод холодной заливки, при этом составляется смесь обычно твердого окислителя (или окислителя с калорийными металлическим горючим) и жидкого полимерного горючего (в виде мономера). Достаточно густая обезгаженная (предварительно вакуумированная) взмученная смесь заливается в корпуса пиротехнических изделий, а затем отверждается в корпусах при помощи заранее введенного в смесь отвердителя (катализатора полимеризации). Таким же способом заливки под вакуумом или в среде инертных газов с незначительным подогревом снаряжают фосфорные боеприпасы. Напалмовые боеприпасы заряжают обычно холодной заливкой, их загущение не препятствует этому. Метод шнекования в сухом виде практически неприменим, а шнекование в виде пластических смесей мало отличается от методов заливки, однако этот метод отличается наибольшей производительностью, так как является непрерывным.

Вообще уплотнение составов кроме увеличения показателей плотности упаковки энергии, делает горение состава более медленным и равномерным, в большинстве случаев, не давая горению сделаться неуправляемым (перейти во взрыв). Уплотненный состав должен обладать большой механической прочностью, особенно это свойство необходимо в тех случаях, когда пиротехнические изделия (факела, звездки, сегменты, трассеры) в момент их использования испытывают значительные разрушающие механические усилия. Уплотненные изделия должны обладать настолько большой механической прочностью, чтобы ни при стрельбе, ни при горении не наблюдалось растрескивания и отколов отдельных кусков состава. Прочность изделий повышается с увеличением давления прессования, но предел прочности при сжатии спрессованного изделия обычно не превышает 20…25 % от удельного давления прессования. Высота одновременно прессуемого столба состава при одностороннем прессовании не должна превышать диаметр прессуемого изделия более чем в 1,5…2 раза. В противном случае передача давления от слоя к слою смеси уже не осуществляется в должной мере, и нижняя часть спрессованного столба состава остается недостаточно уплотненной. При двустороннем прессовании это соотношение может быть значительно увеличено, то есть прессованная форма может быть значительно длиннее.

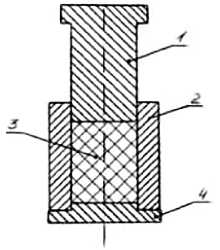
Рисунок 1. Матрица

и пуансон.

1. пуансон 2. матрица 3. прессуемая смесь 4. поддон

Существуют расчетные формулы позволяющие определить примерную прочность спрессованного изделия, однако в оригинальных изделиях необходимое давление прессования большей частью подбирается опытным путем, исходя из необходимой скорости горения и оптимальных показателей достижения специального эффекта горения. Достигнуть высокой прочности спрессованных составов только применением высоких давлений прессования не всегда представляется возможным и целесообразным.

В целях увеличения прочности пиротехнических изделий в составы часто вводят связующие (склеивающие) вещества, получившие название цементаторов. Чаще всего в качестве цементаторов используются искусственные смолы, каучук и некоторые другие вещества такие как сера, гипс и прочее. В зерненных составах также могут применяться цементаторы для придания прочности отдельным зернам состава. При прессовании составов достаточную прочность в некоторых случаях удается получить и без цементаторов, но обычно при прессовании введение цементатора необходимо поскольку позволяет снизить давление прессования, при сохранении достаточной прочности.

Наиболее часто употребимые цементаторы

Идитол — хорошо растворим в этиловом спирте и в виде спиртового раствора вводится в пиротехническую смесь перед уплотнением. Идитол может вводиться в смесь также в виде порошка, а во время или после прессования форма нагревается до 100…200 °C, при этом идитол расплавляясь связывает частицы смеси в единое целое.

Бакелит имеет 3 основные формы А, В и С, применяемые в зависимости от необходимых характеристик прочности и времени горения изделия.

Бакелит формы А вводится в смеси в виде спиртового раствора или порошка, для придании изделиям максимальной прочности применяют так называемую «бакелизацию», то есть нагревают готовое изделие до температуры около 150 °C, при этом бакелит формы А переходит в бакелит формы С, имеющий максимальную прочность, нерастворимость, стойкость к химическим воздействиям.

Шеллак — естественная смола, растворима в этиловом спирте, прекрасный цементатор, при горении выделяющий незначительное количество дыма. В настоящее время применяется редко из-за дороговизны.

Канифоль — естественная смола, растворимая в алкоголе, при нагревании растворяется в олифе.

Резинаты — продукты взаимодействия канифоли с гидроокисями и солями металлов, растворяются в бензине или спирто-бензиновой смеси.

Олифа натуральная — продукт частичной полимеризации и оксидации льняного масла, растворяется в бензине и уайт-спирите.

Декстрин — растительный клей, растворяется в горячей и холодной воде.

Кроме упомянутых классических цементаторов в настоящее время применяют различные полимерные вещества в неполимеризованном состоянии (мономеры), как в чистом виде, так и в виде растворов в различных растворителях. Такие полимеры вводят в пиротехнические смеси с добавлением соответствующих катализаторов полимеризации, либо полимеризуют при нагревании или облучении их УФ излучением. В числе таких мономеров полиуретаны, метилметакрилат, эпоксидные смолы.

Количество вводимого в состав цементатора

Цементаторы вводят в состав пиротехнических смесей в количестве от 1 до 12 %, в зависимости от назначения и желаемой прочности изделий. Введение цементатора в количестве более 12 % повышает прочность изделия уже незначительно, поэтому для повышения механических характеристик изделия большее количество цементатора вводить нецелесообразно. При введении цементаторов особенно канифоли и резината кальция сильно замедляется процесс горения составов. Поэтому для получения составов с необходимой скоростью горения в основную смесь горючее-окислитель при необходимости вводят цементатор в количестве превышающем 12 %.

Поделиться с друзьями: