Чтение онлайн

ЖАНРЫ

Ковка

Навроцкий Александр Георгиевич

Шрифт:

Для повышения эффективности удара в конструкциях хвостового молота использовалась деревянная упругая доска – отбой, которая пружинила и способствовала увеличению скорости опускания головы.

Хвостовые молоты совершали 30–200 ударов в минуту, а вес падающих частей (головы) достигал 20 пудов и более. Они использовались для всевозможных работ – от протяжки мелкосортного железа до ковки тяжелых якорей. Интересно отметить, что небольшой молот с головой массой 80 кг заменял 25–30 молотобойцев.

У некоторых народностей применялись очень простые молоты с ручным или ножным приводом. На упругом деревянном стержне подвешивался на канате тяжелый шар-баба. Раскачивая его (рукой или ногой), производили удар, а вверх баба поднималась вследствие упругости стержня. На рис. 1.1.40 представлены конструкции древних молотов с ручным приводом, а на рис. 1.1.41 показаны молоты с ножным управлением. В конструкции (а) удар молота получается в результате собственного веса бабы при отпущенной ножной педали, а подъем – при помощи нажатия на педаль и за счет жесткости верхнего упругого стержня. В конструкции (б) удар производится при нажатии на педаль.

Рис. 1.1.40. Старинные

молоты с ручным приводом.

Рис. 1.1.41. Старинные молоты с ножным приводом.

На рис. 1.1.42 показан небольшой по размерам молот с ножным приводом, а на рис. 1.1.43 – оригинальная конструкция самодельного молота с ножным приводом.

Рис. 1.1.42. Молот с ножным приводом: 1 – молот; 2 – наковальня; 3 – стул; 4 – педаль; 5 – тяга; 6 – стойка; 7 – рычаг; 8 – вал; 9 – зажим рычага молота; 10 – зажимной винт; 11 – пружина; 12 – серьга.

Рис. 1.1.43. Рычажный молот с ножным приводом: 1 – стойка; 2 – пружина для подъема; 3 – упор пружинный; 4 – хомутик рычага; 5 – верхний боек (баба); 6 – серьга (4 шт.); 7 – основание (шабот); 8 – хомут; 9 – связи; 10 – тяга (2 шт.); 11 – педаль; 12 – труба с пружиной.

В 2008 г. в ГУМе устроили уникальную выставку, на которой были представлены многочисленные модели всевозможных изделий, сделанных по чертежам выдающегося инженера, мыслителя и художника XVI в. Леонардо да Винчи. Среди этих моделей был и эксцентриковой молот с ручным приводом, который возможно сделать своими руками.

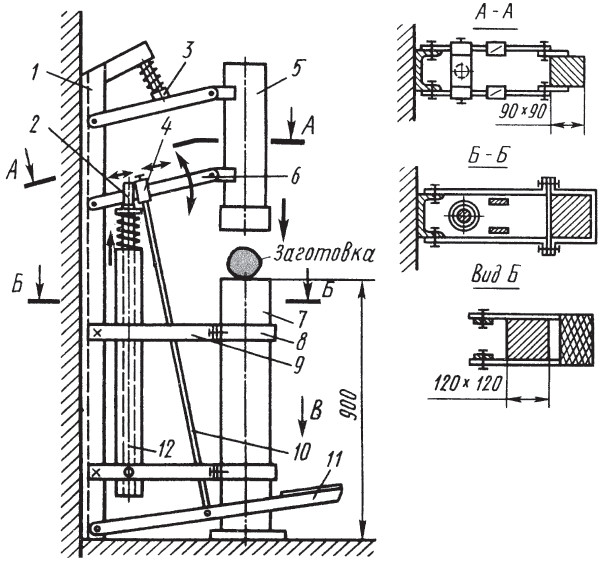
Необходимо отметить, что при работе «в одну руку» многие кузнецы чувствуют, что им не хватает рук для одновременного держания молотка, заготовки и подкладного инструмента. Можно посоветовать способ, которым пользовались кузнецы-серповики при зубрении серпов. Заготовка (рис. 1.1.44, п. 1), вынутая из горна, подсовывается под кольцо из троса (п.5), которое под действием ножной педали (п. 4) прижимает ее к наковальне (п.2), установленной на подставке (п.3). В результате этого левая рука кузнеца освобождается от клещей, удерживающих заготовку, и может держать необходимый подкладной инструмент (зубило, гладилку и т. п.). Известный в Западной Европе кузнец и создатель уникальной кузнечной школы Альфред Хаберманн предложил для удержания заготовки на наковальне специальный прижим, вставляемый в наковальню (Фото 1.1.21).

Рис. 1.1.44. Приспособление для прижима заготовок: 1 – заготовка; 2 – наковальня; 3 – стул; 4 – педаль с пружиной, 5 – кольцо из троса.

В современных условиях, когда кузнецу приходится работать без молотобойцев, лучший помощник – пневматический молот.

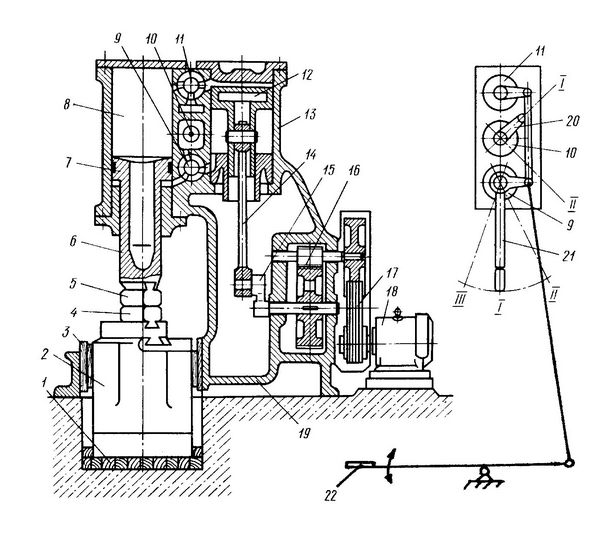
Такой молот (рис. 1.1.45) состоит из рабочего цилиндра (п.8) с поршнем (п.7), штоком (п.6) и верхним бойком (п.5); компрессорного цилиндра (п.13) с поршнем (п.12); привода компрессорного цилиндра, состоящего из электродвигателя (п.18), ременной передачи (п.17), редуктора (п.16), кривошипного вала (п.15) и шатуна (п.14). Рабочий и компрессорный цилиндры соединены друг с другом верхним и нижним воздушными каналами с кранами управления (п.9–11). Краны поворачиваются с помощью рукоятки управления.

Рис. 1.1.45. Молот пневматический (а), рукоятки управления (б).

На молотах с массой падающих частей до 250 кг дополнительно к ручному управлению устанавливается педаль для ножного управления. Нижний боек (п.4) крепится к шаботу (п.2), установленному на фундаменте на деревянных брусьях (п.1). Детали молота крепятся в литой чугунной станине (п.19), а шабот фиксируется в окне станины с помощью деревянных клиньев (п.3). Принцип действия молота следующий. В исходном положении поршень (п. 7) занимает крайнее

нижнее положение, поршень компрессора – крайнее верхнее. Верхний боек (п. 5) лежит на нижнем или на заготовке. При включении электродвигателя кривошипный вал (п. 15) начинает поворачиваться и перемещать поршень (п.12) компрессорного цилиндра вниз. Под поршнем компрессора воздух сжимается, через канал в нижнем кране (п. 9) попадает в нижнюю часть рабочего цилиндра и давит снизу вверх на рабочий поршень. В этот момент верхняя полость рабочего цилиндра через краны (п.10) и (п.11) соединяется с атмосферой, и, так как в нем нет избыточного давления, рабочий поршень начинает подниматься вверх. Когда поршень поднимается вверх, то над поршнем создается повышенное давление и подвижные части молота с ускорением двигаются вниз и наносят удары по заготовке.

Рассмотрим основные режимы работы пневматического молота: удержание бойка в верхнем положении, единичные удары, прижим заготовки к нижнему бойку, автоматические удары и холостой ход.

Удержание бойка в верхнем положении: рукоятка (п. 21) (рис. 1.1.45) ставится в положение I, рукоятка (п. 20) – в положение II. При этом ножная педаль (п. 22) будет находиться в горизонтальном положении. При этом верхние полости обеих цилиндров соединяются с атмосферой, а нижние друг с другом. Сжатый воздух из нижней полости компрессора постоянно поступает в нижнюю полость рабочего цилиндра, что и удерживает подвижные части молота в верхнем положении. Единичные удары: рукоятку (п. 20) ставят в положение I или II, а рукоятку (п. 21) быстро переводят из положения I в положение II и сразу же возвращают обратно. После удара боек снова поднимается вверх и остается в этом положении пока рукоятка (п. 21) находится в положении I.

Прижим заготовки: рукоятку (п. 20) ставят в положение I, рукоятку (п. 21) – в положение III. В этом положении верхняя полость компрессора и нижняя полость рабочего цилиндра соединяются с атмосферой, а сжатый воздух из нижней полости компрессора через специальные каналы постоянно подается в верхнюю полость, что обеспечивает прижим поковки между бойками. Избыточный сжатый воздух выбрасывается в атмосферу через предохранительный клапан, установленный в верхней полости рабочего цилиндра. Автоматические удары: рукоятку (п. 20) ставят в положение I или в положение II. При этом положении рукояток средний кран закрывает выход воздуха в атмосферу, верхний кран соединяет верхние полости цилиндров, а нижний – нижние. Силу ударов бойка при этом режиме работы регулируют рукояткой (п. 21); чем ближе рукоятка к положению II, тем сильнее удары. Холостой ход: рукоятки (п. 20) и (п. 21) ставят в положение I. При холостом ходе верхняя и нижняя полости компрессорного цилиндра соединяются с атмосферой и воздух без сопротивления постоянно выбрасывается наружу. Такой режим работы молота предохраняет компрессор от перегрева во время длительных пауз в работе. При холостом ходе верхний боек под действием своей тяжести опускается вниз и лежит на нижнем бойке. Перед включением электродвигателя ручки обязательно следует устанавливать на режим «холостого хода», а перед выключением – на режим «удержания бойка в верхнем положении». После остановки двигателя подвижные части молота под действием силы тяжести медленно опускаются вниз на нижний боек.

Рассмотрим, какие кузницы для изготовления художественных изделий наиболее функциональны в настоящее время. Лучше всего, чтобы кузница размещались в отдельном кирпичном или железобетонном здании. Изготовления крупных художественных изделий, таких как ворота, высокие ограды, балконные решетки и др., требует большого рабочего пространства. Помещение должно иметь широкие въездные ворота, высокие потолки, пол, выложенный металлическими плитками, хорошую вентиляцию и освещение. Горн в такой кузнице должны иметь два очага с хорошим поддувом и вытяжкой. Размеры столешницы горна должен быть примерно 1,5 x 2,5 м, чтобы на ней можно было разместить крупногабаритный элемент будущего кованого изделия. Рядом с горном по центру кузницы размещается одна большая стационарная наковальня со столиком для инструмента. Другие наковальни меньших размеров могут быть переносными и в нерабочем состоянии находиться у стены. Недалеко от горна должны размещаться (стационарно) стуловые тиски. Рядом с горном размещаются вешалки для инструмента и полки для подкладного инструмента, сменных штампов и всевозможных приспособлений. Около горна размещаются емкости с водой для охлаждения инструмента, закалки и отпуска изделий, бачок с маслом для воронения изделий; а также ящики с песком, лари для небольшого количества угля и дров и пр. По технике безопасности предусматривается, чтобы уголь, дрова и другие горючие материалы хранились в отдельном помещении. Пневматический молот устанавливают недалеко от горна, и в 2-х метрах от стен кузницы. Вокруг молота должно быть свободное пространство, достаточное для работы и обслуживания. Кроме этого, в центре кузницы должна размещаться большая (1,5 x 2 м) правильная плита толщиной 30–50 мм для правки и сборки крупногабаритных изделий.

Вдоль стен около окон размещают слесарные стеллажи со сверлильными, отрезными и заточными станками. Если позволяет площадь, то в кузнице можно установить небольшой токарный станок, гидравлический пресс и другое оборудование для накатки рельефа, гибки и скручивания заготовок. Для сварочных, покрасочных, сушильных и других работ необходимо оборудовать отдельные помещения. Кроме этого, в кузнице необходимо предусмотреть раздевалки, душевые и комнаты отдыха.

Поделиться с друзьями: