Чтение онлайн

ЖАНРЫ

Остеохондроз

Калюжнова Ирина Александровна

Шрифт:

Триметин менее эффективен, а потому для улучшения сна и снятия болей его применяют в сочетании с витаминами группы В. Препарат обладает побочными эффектами в виде кожных сыпей, светобоязни, анемии, а потому назначается врачом. Триметин противопоказан при болезнях почек и печени, заболеваниях крови и зрительного нерва.

Этосуксимид (суксилеп) тоже снимает боль, оказывает успокаивающее действие, но менее эффективен по сравнению с карбамазепином. Обладает побочными эффектами в виде желудочно-кишечного расстройства, головной боли, головокружения и кожных сыпей. Препарат назначается врачом, лечение проводится с контрольными анализами крови и мочи.

Укрепление

межпозвонкового диска при помощи специального препарата — папаина.

Папаин является растительным протеолитическим ферментом (разрушающим белок), под действием которого проходит боль в позвоночнике, увеличивается объем движений и восстанавливается трудоспособность. Считается, что введенный внутрь межпозвонкового диска папаин укрепляет его.

Противопоказаниями к лечению папаином являются возраст старше 60 лет, наличие костных разрастаний и спаек в межпозвонковом диске, инфаркт миокарда, бронхиальная астма и другие аллергические заболевания, нарушения свертывающей системы крови.

Декомпрессия позвоночника осуществляется при помощи тракций (вытяжения).

Гравитационная тракция — способ вытяжения позвоночника, при котором фиксируются нижние конечности. Процедура в перевернутом положении тела проводится не только при остеохондрозе позвоночника, но и при головных болях, нарушениях осанки, при психофизическом переутомлении.

Противопоказаниями к проведению тракции являются атеросклероз сосудов головного мозга, глаукома.

Гравитационная тракция проводится с постепенным увеличением времени висов, начиная с 1 мин. Если по каким-то причинам произошел перерыв в упражнениях, продолжать следует снова с минимального времени.

Вытяжение шейного отдела позвоночника проводится при помощи специального оборудования: в специальном кресле в положении сидя фиксируют грудную клетку больного ремнями. На шее располагают специальный трос, к которому присоединяют груз.

Вытяжение весом тела больного на наклонном щите (рис. 16). При этом тело фиксируют за подмышечные впадины при приподнятом головном конце щита или кровати или за голеностопные суставы при приподнятом ножном конце кровати.

Рис. 16. Способ разгрузки позвоночника на наклонном щите

Подводное вытяжение сочетается с тепловым воздействием на мышцы, а потому считается наиболее физиологичным методом. Подводное вытяжение бывает горизонтальным, вертикальным и проводится в специальных ваннах или бассейне.

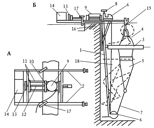
Вертикальное подводное вытяжение назначается для людей молодого возраста, не отягощенных хроническими заболеваниями. Вытяжение проводится в бассейне, где при помощи специального приспособления фиксируется верхний плечевой пояс и грудная клетка. Вокруг таза закрепляется ремень с грузом, величина которого увеличивается как во время процедуры, так и на протяжении всего курса лечения. Общая продолжительность процедуры — 20–40 мин, всего 15 процедур (рис. 17).

Рис. 17. Установка для подводного вытяжения позвоночника: А — вид сверху, Б — вид сбоку. 1 — вертикальная штанга; 2 — горизонтальная штанга; 3 — поплавок; 4 — плечевая манжета; 5 — тазовая манжета; 6 — блоки; 7 — трос; 8 — фиксатор; 9 — динамометр; 10 — ползунок; 11, 12 — винты; 13 — рукоятка; 14 — программное устройство; 15 — крючки; 16 — бортик бассейна; 17 — захваты; 18 — вода.

Горизонтальное подводное вытяжение проводится в ванне на специальном наклонном щите, который закрепляется только в головной части ванны, что позволяет в процессе лечения изменять угол наклона щита. На щите фиксируют нижнюю

часть грудной клетки, на область таза надевают специальное приспособление с грузом, вес которого постепенно увеличивают.

Поза «гамак» — вытяжение путем провисания тела. Проводится в ванне при помощи специальных креплений, которые фиксируют плечевой пояс и ноги больного соответственно у головного и ножного конца ванны. Больной при этом не касается ванны (рис. 18).

Рис. 18. Способ вытяжения позвоночника: поза «гамак»

После подводного вытяжения позвоночника необходим постельный режим в течение 1,5 ч на жесткой кушетке. Перед тем как встать с кушетки, необходимо зафиксировать позвоночник при помощи специального корсета, который снимается только тогда, когда больной снова ложится в постель.

Подводное вытяжение иногда сочетают с минеральными ваннами (радоновыми, сероводородными, скипидарными) или ароматическими.

Противопоказаниями к подводному вытяжению являются острая стадия радикулита, язвенная болезнь желудка и двенадцатиперстной кишки, мочекаменная и желчнокаменная болезнь, опущение почек, спайки. Процедура прекращается, если в процессе лечения боли усиливаются.

После любого вида вытяжения позвоночника необходимо носить фиксирующий корсет в течение 3–4 ч. Более длительное применение корсета нежелательно, так как это ослабляет мышцы.

Помимо подводного вытяжения, при остеохондрозе позвоночника полезно проводить специальную гимнастику в бассейне, комплекс которой назначает специалист по лечебной физкультуре, рекомендуется плавание в бассейне.

Плавание в бассейне очень эффективно для профилактики и лечения остеохондроза, так как вода снижает вес тела, движения можно выполнять почти без усилий, увеличивается их амплитуда и исчезает скованность. Плавание на спине создает оптимальные условия для расслабления мышц затылка и спины, уменьшает изгибы позвоночника, тем самым снижая нагрузку на межпозвонковые диски и увеличивая расстояние между ними. Однако следует помнить, что плавать можно только в подострый период остеохондроза, но не в период обострения.

Физиопроцедуры проводятся после острого периода болезни.

Лазеротерапия действует подобно раздражающим веществам, так как глубина проникновения не превышает нескольких миллиметров. Под действием лазерного излучения происходит восстановление нервной и костной ткани, уменьшается боль, снимается воспаление. На сегодняшний день лечение лазером при остеохондрозе считается весьма эффективным.

С помощью лазеротерапии воздействуют непосредственно на очаг поражения или облучают отдельные биологически активные точки подобно иглоукалыванию (лазеропунктура). Облучение проводят с расстояния в 50 см от поверхности тела или контактно через световод. Во время процедуры больной занимает удобное положение сидя или лежа, глаза защищаются специальными очками, участок тела, подлежащий облучению, обнажается, и в этом месте может ощущаться слабое тепло.

Время одной процедуры не более 30 мин, курс лечения — до 15 процедур.

Противопоказаниями являются туберкулез, новообразования, болезни крови, острые инфекционные заболевания, тяжелые болезни сердца и сосудов, тиреотоксикоз.

Гальванизация и лекарственный электрофорез. Процедуры проводятся при помощи постоянного непрерывного тока низкого напряжения и небольшой силы, при помощи которого лекарственный препарат вводится через кожу непосредственно к очагу поражения, что повышает его лечебное действие. Чаще всего при электрофорезе используют такие лекарственные препараты, как анальгин, алоэ, лидаза, хлористый кальций, сульфат магния, никотиновая кислота, новокаин, папаверин, эуфиллин. Во время процедуры может ощущаться приятное покалывание, в случае появления жжения процедура прекращается.

Поделиться с друзьями: