Чтение онлайн

ЖАНРЫ

Потолки своими руками

Плотникова Татьяна Федоровна

Шрифт:

Главная функция крепежного багета — это обеспечение надежного крепления натянутого полотна и поддержка его натяжения на заданном уровне. Багет бывает видимый и скрытый (рис. 33).

Рис. 33. Два типа багетов: а) видимый; б) скрытый

Способы крепления полотна у разных фирм-производителей имеют некоторые различия. Формы профилей от различных производителей также отличаются (рис. 34).

Рис. 34.

Различные виды багетного профиля

Виды крепления натяжных потолков

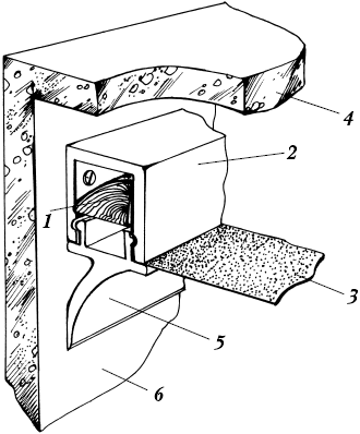
Гарпунный крепеж потолка используют для натяжки потолков на основе пленки из поливинилхлорида. Крепеж получил это название благодаря внешнему виду крепежного элемента на конце пленке, он похож на гарпун. При гарпунном способе крепления необходим багет (рис. 35).

Штапиковый метод крепления потолка значительно дешевле, но он менее надежен. В этом случае используют алюминиевый профиль в виде буквы П и деревянный штапик, зажимающий полотно потолка. Штапиковый крепеж довольно часто используют ради уменьшения стоимости процесса монтажа потолков. Штапиковый способ крепежа имеет свои недостатки, так как деревянный штапик может выскочить из паза профиля. К тому же необходимо обладать достаточным опытом, чтобы надежно закрепить пленку этим способом (рис. 36).

Рис. 35. Гарпунный способ крепления натяжного потолка: 1) гарпун; 2) багет; 3) полотно потолка; 4) основной потолок; 5) декоративная накладка; 6) стена

Рис. 36. Штапиковый способ крепления натяжного потолка: 1) штапик; 2) багет; 3) полотно потолка; 4) основной потолок; 5) декоративная накладка; 6) стена

Клипсовый крепеж потолка применяют при монтаже тканевых натяжных потолков. В этом случае используют багет, изготовленный из пластика. Этот тип крепления подходит только для тканевых потолков, поскольку они не растягиваются так сильно, как потолки из ПВХ (рис. 37).

Рис. 37. Клипсовый метод крепления натяжного потолка: 1) клипса; 2) полотно потолка; 3) стена; 4) основной потолок

Помимо самого материала для потолка, потребуются следующие инструменты:

• крепежно-декоративный профиль-багет, соответствующий избранному способу крепления; • водяной уровень — гибкая прозрачная трубка длиной около 10 м, заполненная подкрашенной жидкостью, для точного определения горизонтальной поверхности;

• маятниковая пила;

• раскладной транспортир или гониометр для точного измерения углов комнаты;

• шнур, соответствующий по размеру наиболее длинной стене;

• усиленные дюбели ∅ 6 мм и длиной 30 мм;

• пневматический пистолет и специальные гвозди или скрепки;

• пружинные струбцины в форме клещей или крокодилы;

• тепловая пушка;

• пятиметровая рулетка;

• гарпун;

• угловая лопатка;

• плоская лопатка;

• цветной мел для окраски отбивочного шнура;

• прочная веревка для петель;

• усилительное кольцо для пропуска электропровода;

• декоративные

заглушки, скрывающие крепление потолка;

• универсальный клей типа цианоакрилата для крепления кольца;

• фломастер для нанесения отметок;

• острый нож типа малого обойного.

Для подвески люстры после установки натяжного потолка необходимо заготовить кольцо из пластика. Его внешний диаметр должен быть такой величины, чтобы декоративная накладка люстры полностью скрывала его.

Этапы работы

Для того чтобы понять, как происходит монтаж натяжного потолка, имеет смысл рассмотреть в качестве примера один из самых простых случаев установки потолка: когда комната не имеет выступов, через нее не проходят трубы или другие коммуникации, выходящие из потолка.

Для крепления натяжного потолка сначала следует установить на нужное место декоративно-крепежный профиль. Для выполнения этой операции, прежде всего, следует определить с помощью водяного уровня, какой из углов базового потолка самый низкий, т. е. где наименьшее расстояние между полом и потолком.

Определив самый низкий угол помещения, отступить вниз от потолка на 1–2 см и сделать отметку карандашом или фломастером. Этот небольшой зазор необходим только лишь в технологических целях для удобства крепления профиля. Его наличие позволяет легче добраться инструментом при закреплении багета. Эта отметка и будет считаться при всех дальнейших работах нулевым уровнем. Затем с помощью все того же водяного уровня эту отметку перенести на остальные углы помещения, а дальше с помощью отбивочного шнура нанести линию нулевого уровня вдоль всего периметра стены для точного закрепления багета.

Для выполнения отбивки нанести на отбивочный шнур краситель (подойдет цветной мел). Один конец шнура с помощью гвоздя закрепить на отметке в одном из углов, а второй конец закрепить на нулевой отметке в соседнем углу так, чтобы шнур был туго натянут. Свободной рукой оттянуть шнур и резко отпустить, чтобы натянутый шнур ударил по стене и оставил на ней красителем прямую линию от одной метки до другой. Далее повторить эти действия на всех стенах комнаты, в результате получится ровная линия горизонта вдоль всего периметра потолка. Эта линия и будет считаться базой для последующей установки багета. Наметив линию нулевого уровня на всех четырех стенах комнаты, можно переходить к следующему этапу монтажа.

Следующий этап — это точное измерение углов помещения, такой замер нужен для ровной стыковки профиля в углах помещения. Произвести замер углов помещения удобней всего с помощью инструмента гониометра — это специальный раскладной транспортир. Значения измеренных углов лучше сразу написать карандашом на базовом потолке.

Как только определен нулевой уровень, отбита горизонталь для крепления багета и точно замерены углы помещения, можно переходить к креплению профиля. Предварительно надо подготовить профильную рейку багета. С помощью 5-метровой рулетки точно измерить длину стены, на которую предполагается крепить рейку. Обычно рейка имеет длину не более 3–4 м, поэтому рулетка большей длины не понадобится. При этом возможны два сценария:

• рейка длинней ширины комнаты;

• рейка короче ширины комнаты.

Довольно часто места стыков реек и плиток на подшивных потолках оставляют неблагоприятное впечатление, обычно тогда, когда такие потолки устанавливают наспех, а исполнители не обладают высокой квалификацией.

Если рейка длиннее, чем длина стены, то нужно запилить маятниковой пилой каждый край рейки под таким углом, который равен половине угла комнаты, измеренного с помощью раскладного транспортира и прилегающего к измеренной стороне. В таком случае рейку следует крепить к стене так, чтобы верхний край багета совпадал с нулевой разметкой горизонта, сделанной ранее.

Поделиться с друзьями: