Чтение онлайн

ЖАНРЫ

Потолки своими руками

Плотникова Татьяна Федоровна

Шрифт:

После того как будут установлены все четыре угла, можно приступать к цеплянию за профиль прямых участков. Эту операцию нужно выполнять уже с помощью прямых лопаток. Сначала зацепить на 2–3 замка участки в месте окончания швов полотен. Эта мера позволит понизить вероятность их искривления в дальнейшем. Затем разделить пополам незакрепленные участки и закреплять в центре снова на 2–3 замка. Эти действия продолжать до тех пор, пока размер незакрепленных участков снизится до такой степени, что весь участок можно будет закрепить без особых усилий. Чаще такой участок имеет длину около одного погонного метра.

После этого можно производить

окончательное зацепление по всему периметру помещения. Завершив эту часть работы, необходимо проверить качество зацепления полотна по всему периметру. Если полотно неплотно прилегает к багету на каком-либо участке, то без промедления следует поправить зацепление. Если же все действия выполнены правильно, то в итоге всей работы выходит достаточно туго натянутое на багет полотно, которое образует идеально ровную поверхность.

При штапиковом способе монтажа пленку фиксируют в багете с помощью распорного профиля (клина). Излишки полотна после закрепления следует аккуратно удалить (рис. 45).

В тех случаях, когда монтаж необходимо произвести в обширных помещениях площадью свыше 50 м2, на несущую поверхность следует установить дополнительные ребра жесткости. Они удержат полотно от провисания. В таких помещениях надо использовать только сварные полотнища, шов на которых практически незаметен.

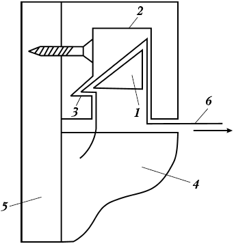
Рис. 45. Клиновый (штапиковый) способ крепления полотна: 1) штапик; 2) профиль; 3) паз; 4) багет; 5) стена; 6) полотно

Последняя операция в монтаже винилового потолка — это устройство выхода для светильника. Прежде всего необходимо подготовить специальное теплоизоляционное усилительное кольцо. Обычно такое кольцо производят из пластика в 3–4 мм толщиной, размеры колец в каждом отдельном случае индивидуальны. Ведь внешний диаметр кольца должен быть меньше диаметра чашки самого светильника. Это требуется для того, чтобы чашка светильника полностью его прикрывала. Внутренний диаметр кольца должен быть таким, чтобы кольцо можно было легко надеть на закрепленный в базовом потолке крюк люстры. В любом случае, ширина кольца должна превышать величину 5 мм. Как правило, такое условие легко выполнить (рис. 46).

Рис. 46. Монтаж светильника на натяжном потолке

Готовое кольцо нужно приклеить к полотну так, чтобы его центр совпадал с намеченной точкой крепления светильника.

Для начала нужно на ощупь через полотно потолка найти крюк люстры, закрепленный в потолке, и сделать в этом месте отметку фломастером на полотне. После этого сплошной полосой без разрывов нанести на усилительное кольцо клей типа цианоакрилата. Клей нужно обязательно наносить сплошной полосой — это условие того, что в дальнейшем полотно потолка «не поползет».

Кольцо с клеем приложить на лицевую сторону полотна так, чтобы сделанная фломастером отметка оказалась точно в центре усилительного кольца. Подождать некоторое время, пока кольцо приклеивается, обычно клей такого типа сохнет в течение нескольких секунд. Поэтому, выдержав указанное в инструкции время,

надо проверить, действительно ли клей засох. Затем вырезать полотно внутри кольца при помощи острого ножа, можно использовать в этих целях малый обойный нож. В полученное отверстие вытянуть электрический провод и подключить его к люстре. Люстру подвесить на старый крючок, при необходимости его можно предварительно нарастить в длину.

После того как потолок смонтирован и подвешена люстра, остается выполнить только лишь завершающие штрихи: вставить декоративные заглушки, скрывающие крепление потолка.

В такой последовательности нужно выполнить все операции, необходимые при установке простейшего натяжного потолка в прямоугольной или квадратной комнате, где имеются только четыре угла и люстра.

При установке сложных натяжных потолков, когда надо учитывать наличие проходящих через потолок труб, встроенных светильников, циркулярных элементов и переходов уровней, полотно следует изготовить из нескольких частей.

Полотна, которые примыкают друг к другу, следует крепить при монтаже гарпунами к промежуточной опоре. Внешне место соединения практически не имеет каких-либо отличий от стандартного шва сварного полотна.

Столь сложные конфигурации потолков с трубами отопления, многоуровневыми конструкциями и прочими конструктивными элементами из-за большой сложности монтажа никак не могут подойти для самостоятельного исполнения новичками.

Особенности монтажа тканевых натяжных потолков

Тканевые натяжные потолки имеют шероховатую поверхность, перфорацию на ней, поэтому они легко пропускают воздух. Они устойчивы к физическим воздействиям, по сравнению с пленочными натяжными потолками они рассматриваются как экологически чистые. Тканевый потолок входит в категорию бесшовных натяжных потолков, поскольку его можно установить в помещениях шириной до 5,1 м.

На установку натяжных потолков затрачивается несопоставимо меньший объем времени, чем на монтаж потолочных покрытий из гипсокартонных плит.

Потолок, изготовленный из тканевого материала, прекрасно подходит для детской комнаты, удачно сочетая красоту, прочность, долговечность и экологическую чистоту использованного материала. Эта ткань беспрепятственно пропускает воздух, звукоизоляция достигает 90 %, полностью отсутствует «парниковый эффект». Эти потолки без всякого ущерба выдерживают большие перепады влажности и температуры в помещении. Исключительная гибкость тканей для потолочного покрытия предоставляет широкие возможности для создания систем с несколькими уровнями любых конструкций, а также создания разнообразных арок. Структура ткани — это трикотажное плетение или трикотажная вязка. Наименьший шаг плетения и тонкая нить — главная особенность такого материала. Для ухода за поверхностью тканевого потолка достаточно иногда протирать его чистой фланелью.

Такие потолки смотрятся просто идеально благодаря особенностям монтажа. Установка тканевого потолка существенно отличается от установки винилового пленочного потолка. Благодаря большой ширине полотна, нет необходимости прибегать к спайкам и сварочным работам. Его установку можно производить без нагрева помещения до определенной температуры, это важное преимущество, поскольку нет нужды использовать тепловое оборудование (тепловую пушку). Кроме того, существенно сокращаются сроки установки.

Поделиться с друзьями: