Чтение онлайн

ЖАНРЫ

Современные погреба, гаражи, летние кухни и летний душ. Оригинальные идеи, новые проекты
Шрифт:

Большая чугунная плита позволяет быстро прогреть помещение в холодные дни, варочная камера с двумя дверками используется не только для приготовления пищи, но и служит в качестве духового шкафа, в котором можно сушить фрукты и овощи. После окончания топки печь удерживает нормальную температуру в доме в течение 14–16 часов.

Материалы

• Цемент марки 400 – 3–4 мешка;

• песок – 0,5 м3;

• глина обыкновенная, красная – 6–8 ведер;

• кирпич красный, на печь – 500 штук, на трубу – примерно 600 штук в зависимости от высоты;

• дверка топки;

• полудверка поддувала;

• дверки чистки дымоходов – 3 шт.;

• колосник;

• плита чугунная 710×410 мм;

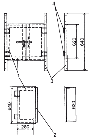
Рис. 13. Дверка варочной камеры:

1 – полурамка из уголка 25×25; 2 – полоска 620×50×2; 3 –

уголок 45×45; 4 – петли

• чугунные задвижки – 4 шт.;

• стальной уголок 55×55×3300 – 2 шт.;

• стальной уголок 45×45×850 – 4 шт.;

• уголок алюминиевый 45×45×1550 – 4 шт.;

• уголок алюминиевый 25×25×1200 – 2 шт.;

• стальные полосы 370×60×2–8 шт.

Помимо этого необходимо будет изготовить на заказ две дверки варочной печи.

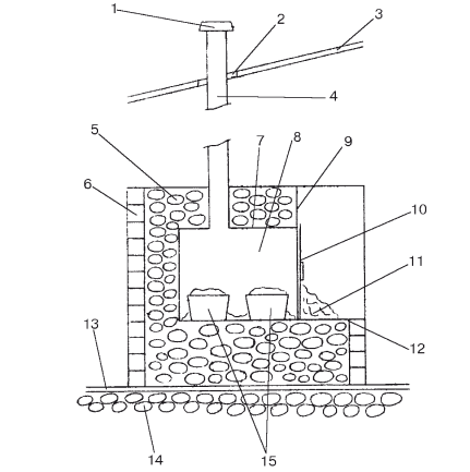
Рис. 14. Кладка трубы:

1 – оголовок; 2 – кровельное железо; 3 – асбоцементная труба вентиляции варочной камеры (диаметр – 100 мм); 4 – теплоизоляция; 5 – потолок; 6 – потолочная раскладка (рамка); 7 – потолочная разделка (ряды 1–5)

Рис. 14. Кладка трубы (продолжение)

Фундамент закладывается обычным образом, его глубина зависит от характера грунта, но в общем случае котлован метровой глубины, на дно которого насыпана десятисантиметровая песчаная подушка, которая удовлетворит необходимым требованиям. Котлован заливается бетоном или заполняется бутовым камнем с проливкой цементным раствором.

Размеры фундамента должны быть на 10–20 миллиметров больше габаритов печи, а от внутренней стены помещения его должны отделять не менее 250 миллиметров – таковы непременные противопожарные требования. Кроме того, печной фундамент не должен соприкасаться с фундаментом дома.

Долговечность печи напрямую зависит от качества кирпича. Для кладки должен применяться красный, нормально обожженный кирпич – он имеет розовый цвет и при ударе молотком издает чистый звук.

Кладка

Пережженный кирпич с фиолетовым оттенком для печей не пригоден. Недожженный имеет оранжево-желтоватый цвет и пониженную прочность, он легко ломается и не годится для кладки труб. Желательно, чтобы кирпичи были одного размера, с ровной поверхностью, без трещин и сколов. Нужно помнить, что сколотыми или стесанными поверхностями кирпичи нельзя класть в сторону топки или дымохода.

Кладка печи ведется по чертежам каждого ряда. Разметив на фундаменте правильные четырехугольники размера печи, вначале выкладываем ряд кирпичей без раствора – для подгонки. Затем несколько кирпичей убираем и погружаем на 1–2 минуты в воду. Дело в том, что сухие кирпичи плохо соединяются с раствором. В это время на освободившееся место кладется ровным слоем раствор, на него – смоченные кирпичи. Излишки раствора удаляются после легкого нажима. Таким же образом укладываются остальные кирпичи ряда, при этом все швы должны быть заполнены раствором.

Рис. 15. Печь для хлеба:

1 – заглушка; 2 – разделка; 3 – навес; 4 – труба; 5 – засыпка; 6 – деревянный кожух; 7 – свод топки; 8 – топка; 9 – металлическая обшивка ниши; 10 – заслонка; 11 – горящие угли; 12 – пол печи; 13 – выровненная площадка; 14 – фундамент; 15 – формы с хлебом

На выложенный ряд стелят три слоя рубероида (гидроизоляция), после чего выкладывают следующий ряд (он на наших чертежах обозначен как первый) и продолжают кладку, проверяя горизонтальность после каждых двух-трех выложенных рядов.

Рис. 16. Печь для хлеба:

1 – заглушка; 2 – навес; 3 – разделка; 4 – труба; 5 – заслонка; 6 – засыпка; 7 – деревянный кожух; 8 – металлическая обшивка ниши; 9 – формы с хлебом; 10 – выровненная площадка; 11 – фундамент; 12 – горящие угли

Внутренние поверхности топки и дымоходов нужно сразу же очищать от налипшего раствора мокрой тряпкой, иначе впоследствии засохшие куски засорят канал.

Дверки топки, поддувала и чистки крепятся либо специальными скобами, либо отожженной проволокой, уложенной в швы между кирпичами.

Кромки кирпичей шестого ряда стесываются, чтобы колосник лег заподлицо. Поверх одиннадцатого ряда на растворе укладывается чугунная плита. С боков и сзади она перекрывает кирпичи, а спереди не доходит 15–20 миллиметров до края кладки. По периметру плиты прокладывается асбестовый шнур или нарезанные полоски листового асбеста, которые накрываются рамкой из уголка 55×55. Это предохранит кладку от разрыва при тепловом расширении чугуна.

Рис. 17.

Печь для хлеба:

1 – труба; 2 – дымоход; 3 – заслонка; 4 – задвижка; 5 – фундамент; 6 – выровненная площадка; 7 – порожек

Начиная с 14 ряда, в стенку варочной камеры через каждые два ряда заделываются стальные полоски, выступающие из швов на 20 миллиметров, – на них будут опираться противни. На 20-й ряд над варочной камерой кладется уголок 55×55, устанавливается рамка из того же уголка ребром вверх и двухмиллиметровый лист железа с отверстием 120×120 для вытяжного канала.

Выкладывая трубу, не забудьте о противопожарной разделке: между потолочным перекрытием и кирпичной обкладкой трубы должен быть по крайней мере 20–30 миллиметровый зазор, заполненный асбестом.

Высота трубы должна составлять не менее 5 м от колосника. Начиная от потолочного перекрытия, она, согласно тем же противопожарным требованиям, должна быть оштукатурена и побелена.

Углы печной кладки защищаются от повреждений уголками 45×45, которые крепятся болтами к рамкам. Варочная камера также обрамляется изнутри уголками. При желании печь можно оштукатурить раствором: одна часть глины, две части песка, одна часть цемента и 0,1 части асбеста. Поверхность печи перед нанесением раствора должна быть сухой и теплой, вначале наносится жидкий слой, а после высыхания – более густой.

Печь будет надежно служить своим хозяевам, если соблюдать несложные правила эксплуатации. Раз в сезон нужно обязательно чистить дымовые каналы, тщательно замазывая даже самые мелкие трещины.

Печь для выпечки хлеба и приготовления различных блюд русской кухни

Это либо кирпичная печь, либо более простая, не требующая дефицитных материалов, насыпная.

Засыпную печь лучше строить подальше от дома и хозяйственных построек. Это существенно упростит конструкцию, и отпадает целый ряд противопожарных мероприятий, необходимых при размещении печи в доме.

Насыпают песчаную площадку размером 1,5×1,5 метра, толщиной 10 сантиметров, сверху на площадку укладывается булыжник – это фундамент печи. Если нет подходящих камней, то поверх песка можно насыпать слой щебня или гальки толщиной 5–7 сантиметров и выровнять площадку цементным раствором. На фундамент устанавливается кожух печи в виде сруба или дощатого короба. Его функция – удерживать засыпку и, частично, внешняя теплоизоляция. Засыпку (забутовку) короба камнем, песком, галькой, щебнем, гравием сначала выполняют до уровня пола (нижняя часть, под топки) печи – примерно 40 сантиметров от уровня фундамента. Затем выкладываются пол и полочка ниши перед ним. Лучше всего это сделать красным полнотелым глиняным кирпичом (силикатный, дырчатый и щелевой не годятся для кладки печи).

На пол устанавливается металлическая топка, либо выкладывается она из кирпича, как в кирпичной печке, прибивается к кожуху жестяная обшивка ниши, устанавливается труба, и кожух засыпается доверху камнем или другой засыпкой. Металлическую топку можно изготовить из железной бочки (нижняя четверть), вырубив ее зубилом или вырезав автогеном.

Засыпка кожуха должна быть плотной и играть роль теплоизоляции и аккумулятора тепла. Камень и галька должны быть плотных пород. Не годятся песчаник, известняк, доломит, диабаз, сланцы, так как при нагревании они растрескиваются. Это особо важно в зоне самых высоких температур – выстилке пола и засыпке металлического свода топки.

Фундамент для стационарной кирпичной печи

Выкладывается так же, как и для засыпной, но желательно вымостить его булыжником. Иначе придется прокладывать слой гидроизоляции (толь, рубероид), так как кирпич гигроскопичен.

На рисунке 17 изображена простейшая конструкция печи с перекрытием топки «напуском». В месте перекрытия кирпичи кладутся так, чтобы они свешивались внутрь, а следующие ряды удерживают эти кирпичи и перекрывают зазор. Таким способом можно выкладывать топку шириной до 380 мм и емкостью до 4–6 больших хлебных форм. Расход кирпича на печь – 160 штук.

Кирпичная печь кладется на глиняном растворе.

Кирпичи перед кладкой следует вымочить в воде до полного насыщения. Это повышает сцепление кирпича с раствором и прочность кладки.

Русская печь для летней кухни

Рис. 18. Проект русской печи для летней кухни

Рис. 18. Проект русской печи для летней кухни в разрезе А+А (продолжение):

2 – арочный свод подпечья; 4 – теплоизоляция (2 части вермикулита + 1 часть глины); 6 – под печи; 9 – под шестка; 12 – задвижка каминная (250×250 мм); 13 – дымовая труба; 14 – устье печи; 16 – стенки наклонного дымохода (выполняют роль газового порога № 2); 17 – газовый порог № 1; 18 – хайло; 19 – арочное перекрытие шестка

Поделиться с друзьями: