Чтение онлайн

ЖАНРЫ

120-мм миномет обр. 1938 г. Руководство службы
Шрифт:

— отвинтить винт, стопорящий глухую гайку, которой крепится уровень;

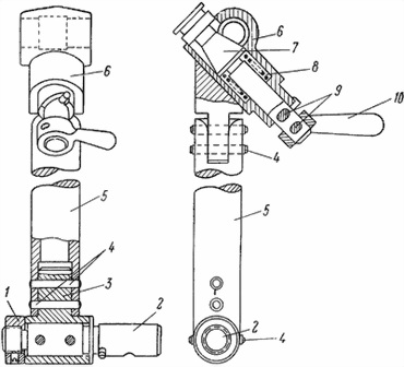
Рис. 37. Стойка к прицелу МПМ-44:

1 — гайка (1–6); 2 — палец (1–4); 3 — втулка (1–3); 4 — штифты; 5 — стойка (1–2); 6

держатель (1–1); 7 — ось (1–5); 8 — пружина (1–7); 9 — штифты (1-10); 10 — ручка (1–8)

— придерживая оправу уровня, ключом отвинтить глухую гайку;

— вынуть разбитый уровень;

— взять соответствующий уровень и вставить на место вынутого, причем паз на буртике оправы уровня должен совпасть с головкой винта, ввинченного в корпус прицела;

— придерживая оправу уровня, ключом завинтить глухую гайку;

— завинтить винт, стопорящий глухую гайку.

Для замены наглазника следует:

— отвинтить гайку (резьба у гайки левая);

— снять наглазник и заменить его новым;

— завинтить гайки до отказа.

16. СТОЙКА К ПРИЦЕЛАМ МПМ-44 и МПМ-44М

Для построения параллельного веера батареи (взвода) минометов способом взаимного визирования необходимо, чтобы визир прицела каждого из минометов был наведен в прицел другого (основного) миномета батареи.

Чтобы визированию не мешал ствол миномета, прицел при построении параллельного веера закрепляется на специальной стойке, устанавливаемой на вертлюге.

Стойка (рис. 37) состоит из втулки 3 с гайкой 1 и пальцем 2, стойки 5 и держателя 6, в котором собрано устройство, аналогичное по своей конструкции с переходным кронштейном (см. рис. 17). Палец 2 (см. рис. 37) с втулкой 3 со стойкой 5, а также стойка 5 с держателем 6 соединяются при помощи штифтов 4.

Для построения параллельного веера стойка своим пальцем закрепляется в кронштейне на вертлюге миномета (вместо прицела), а в отверстие держателя 6 стойки вставляется и в нем закрепляется прицел. Каждая стойка закрепляется за определенным минометом и может применяться только с этим минометом.

Стойка предназначается только для взаимного визирования при построении параллельного веера батареи (взвода). Производить стрельбу со стойкой категорически запрещается.

ГЛАВА V. ТРАНСПОРТИРОВКА МИНОМЕТОВ И УСТРОЙСТВО МИНОМЕТНЫХ ХОДОВ

17. ОБЩИЕ СВЕДЕНИЯ

Для транспортировки миномета имеются колесные хода: подрессоренный (В-20) и неподрессоренные — конструкции заводов № 702, 106 и ход обр. 1938 г.

Транспортировка миномета может производиться:

— на колесном ходе вручную, усилием расчета (на близкое расстояние);

— на колесном ходе в прицепе за автомобилем;

— на неподрессоренном колесном ходе в кузове автомобиля, специально оборудованном для погрузки колесного хода с минометом и мин.

Минометы на неподрессоренных ходах перевозятся только в кузове автомобиля вместе со своими ходами.

Перевозить минометы на неподрессоренных ходах в прицепе за автомобилями категорически запрещается.

При транспортировке

минометов на неподрессоренных ходах предохранитель от двойного заряжания необходимо снимать со ствола миномета и укладывать в чехол. Предохранитель в чехле укладывается в ящик орудийного ЗИП на место сумки с батарейным ЗИП. В этом случае дульная часть ствола миномета закрывается штатным дульным чехлом.

После снятия миномета с хода предохранитель должен быть надет на ствол миномета сразу же после его установки на огневой позиции.

Модернизированный ход В-20 имеет механизм подрессоривания. Перевозка миномета на этом ходе производится за автомобилем ГАЗ-63.

Допускаемые скорости передвижения хода В-20 с уложенным на нем минометом следующие:

— по хорошему асфальтированному шоссе — до 60 км/час;

— по булыжному шоссе — до 45 км/час;

— по проселочным дорогам и бездорожью — со скоростью, допустимой для передвижения автомобиля по этим дорогам.

При перевозке минометов на подрессоренных ходах В-20 предохранитель от двойного заряжания со ствола миномета не снимается, а закрывается чехлом предохранителя.

18. МИНОМЕТНЫЙ ХОД В-20

Общие сведения

Минометный ход В-20, представляющий собой усовершенствованный колесный ход обр. 1938 г., предназначен для перевозки миномета за автомобилем (рис. 38 и 39).

Рис. 38. Минометный ход В-20 с уложенным на него ящиком орудийного ЗИП

Усовершенствование хода В-20 заключается в следующем:

— введен механизм подрессоривания;

— увеличена прочность рамы хода;

— увеличена высота коробки обоймы для ствола, что позволяет укладывать на ход миномет с надетым на ствол предохранителем от двойного заряжания;

— введено буферное устройство сцепной петли, смягчающее действие толчков на ход при трогании с места или при торможении, а также при транспортировке по пересеченной местности;

— введено стопорное устройство сцепной петли, необходимое при перевозке хода за автомобилями е невращающимися крюками;

— введены новая ступица и колесо «Победа» ГА3-М-20 с шиной ГК.

Рис. 39. Минометный ход В-20 (вид снизу):

1 — болт для крепления ящика (1-131); 2 — планка (Сб1-11); 3 — петли для крепления лопаты и киркомотыги; 4 — кронштейн механизма подрессоривания (1-15); 5 — ось рамы (1–1); 6 — стяжка (Сб1-1)

При перемене огневой позиции минометный ход с уложенным на него минометом можно перевозить силами расчета за поручни и при помощи лямок, имеющихся в комплекте принадлежностей.

На минометный ход В-20 укладываются миномет, унифицированный ящик орудийного ЗИП, банник, веха и шанцевый инструмент (лом, лопата и киркомотыга).

Уложенный на ход миномет закрепляется обоймой 1 (рис. 40) и стяжкой 6 (см. рис. 39).

Для предотвращения проворачивания ствола в обойме двунога миномета дополнительно закрепляется двумя основными ремнями 5 (см. рис. 40).

Поделиться с друзьями: